Contents
Spis treści

    

9. Badania trybologiczne

Badania trybologiczne możemy prowadzić w warunkach laboratoryjnych lub eksploatacyjnych. Na podstawie badań laboratoryjnych można wnosić o zachowaniu się skojarzenia w rzeczywistych warunkach eksploatacji maszyny. Badania te umożliwiają dość szczegółową analizę fizycznych zjawisk tarcia i zużycia. Zasadniczą zaletą tego typu badań jest ich mały koszt. Zazwyczaj w badaniach laboratoryjnych staramy się modelować rzeczywiste warunki pracy skojarzenia tarciowego. Modeluje się geometrię styku, wartość przekrycia, kinematykę i dynamikę obciążenia, prędkość ruchu, naciski jednostkowe, smarowanie.
Badania eksploatacyjne możemy podzielić na badania programowane i nieprogramowane (statystyczne).
Do badań eksploatacyjnych programowanych maszyna jest specjalnie oprzyrządowana i badana w warunkach przewidzianych programem. Warunki programowana badań sporządza się w następujący sposób: rejestruje się statystyczne wartości poszczególnych parametrów (obciążenia, prędkości, przyspieszenia, temperatury itd.). charakteryzujących eksploatację badanej maszyny. Na tej podstawie sporządza się program modelujący warunki eksploatacyjne. Warunki te powinny pokrywać się ze średnimi statystycznymi warunkami eksploatacyjnymi.
Badania eksploatacyjne nieprogramowane są prowadzone na wybranej losowo grupie maszyn eksploatowanych w rzeczywistych warunkach. Zaletą tego typu badań jest to, że wyniki pomiarów są bezpośrednio użyteczne, nie wymagając korekcji. Wadą badań eksploatacyjnych jest ich duży koszt, wynikający z ilości i wartości badanych obiektów, trudności technicznych i długiego czasu badań.
W zasadzie wszystkie rodzaje badań trybologicznych powinny być przeprowadzone zanim maszyna będzie produkowana masowo i przekazana do eksploatacji. Niezależnie od rodzaju badań trybologicznych należy prowadzić pomiary ilościowe oporów tarcia (siła tarcia, moment tarcia) oraz pomiary intensywności zużywania i wartości zużycia. Cel badań, czas trwania próby i wymagana dokładność pomiaru warunkują wybór metody pomiaru i sposobu oceny wartości zużycia, intensywności zużywania lub oporów tarcia. Każda metoda powinna umożliwiać pomiar zużywania w całym zakresie krzywej Lorenza. Metody badań tarcia powinny umożliwiać pomiar oporów tarcia w funkcji obciążenia, czasu współpracy pary trącej, temperatury powierzchni tarcia, prędkości itp. Wyniki badania siły tarcia i intensywności zużywania badanych skojarzeń materiałów powinny być wykorzystywane przy konstruowaniu maszyn oraz w ich eksploatacji.

9.1. Metody pomiaru siły i momentu tarcia

Istnieje wiele różnych metod mierzenia parametrów trybologicznych. Najczęściej stosowaną metodą jest metoda oparta na zasadzie wprawienia w ruch pod działaniem siły tarcia „nieruchomej próbki”. Przemieszczenie próbki jest proporcjonalne do siły lub momentu tarcia w badanym skojarzeniu, które to wielkości mierzone są za pomocą dynamometrów o różnej konstrukcji.

9.1.1. Metoda pomiaru siły tarcia i momentu tarcia za pomocą dynamometrów

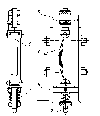
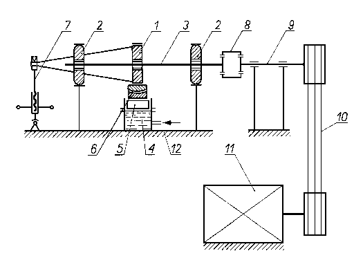
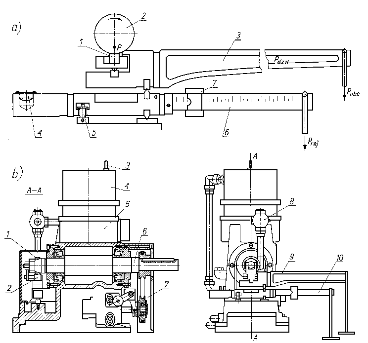
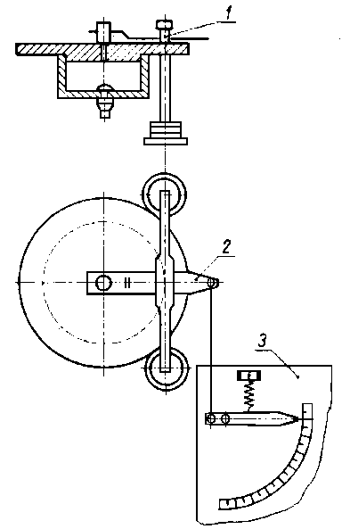
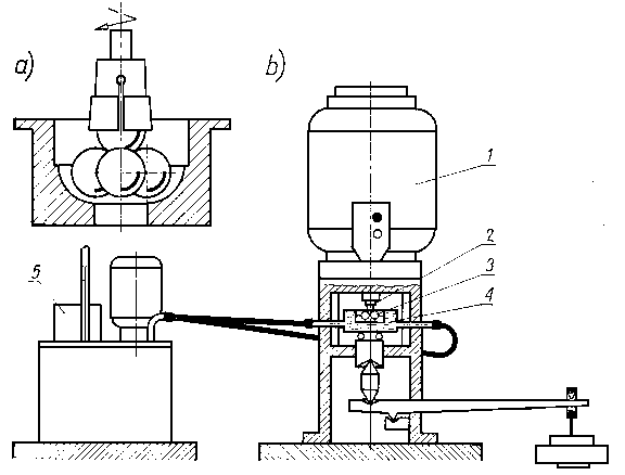
W przyrządzie F. P. Bowdena (rys. 9. l) do pomiaru siły tarcia wykorzystano sztywność strun, na których umocowano ramię z próbką. Próbka jest dociskana za pomocą sprężyny do przeciwpróbki leżącej na ruchomym stole. Siła tarcia powoduje przemieszczenie ramienia do chwili aż wytworzona wartość momentu skręcającego będzie równa momentowi siły tarcia. Przemieszczenie to rejestruje się za pomocą promienia świetlnego odbitego od zwierciadła.
W przyrządzie Hondy i Jamady (rys. 9.2) zastosowano dynamometr sprężynowy. Badana próbka jest dociskana do wirującej tarczy za pomocą obciążenia. Do obudowy próbki jest przymocowany sztywno wózek przemieszczający się na rolkach po prowadnicach prostych stolika. Przemieszczenie wózka spowodowane siłą tarcia działającą na próbkę jest przekazywane na dynamometr sprężynowy. Siłę tarcia rejestruje pisak.
Na rys. 9.3 przedstawiono urządzenie B. D. Kuzniecowa, który eliminuje błędy pomiaru przyrządu przedstawionego na rys. 9.2. Pod działaniem siły tarcia próbka zamocowana w ramieniu przemieszcza się działając na dynamometr, który równoważy siłę tarcia i wyznacza jej wartość na skali.

Rys. 9.1. Przyrząd Bowdena do pomiaru siły tarcia przy małych obciążeniach i prędkościach;
    1-stół,
    2-dźwignia,
    3-układ optyczny,
    4 - struna,
    5 - sprężyna,
    6,7 - próbka i przeciwpróbka

Rys. 9.2. Dynamometr sprężynowy Hondy i Jamady;
    1 - przeciwpróbka,
    2 - próbka,
    3 - obciążenie,
    4 - wózek,
    5 - stół,
    6 - sprężyna dynamometru,
    7 - rejestrator

Rys. 9.3. Urządzenie do pomiaru siły tarcia na stanowisku Kuźniecowa;
    1 -próbka,
    2 - dźwignia obciążająca,
    3 - układ rejestrujący

Rys. 9.4. Urządzenie do pomiaru siły tarcia na stanowisku KE-1;
    1 - obciążenie,
    2 - dynamometr,
    3 - układ dźwigniowy przekazujący obciążenie,
    4, 5 - próbka i przeciwpróbka,
    6 - mechanizm napędu,
    7 - silnik elektryczny

W urządzeniu KE-1 (rys. 9.4) silą tarcia od nieruchomej próbki przez układ dźwigni jest przekazywana na dynamometr i czujnik zegarowy. Sprężyny dynamometru są wymienne w zakresach 0÷100 daN, 100÷500 daN, 500÷3000 daN, 5000÷10000 daN. Znając charakterystyki sprężyn można łatwo wyznaczyć siłę tarcia.
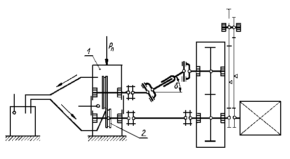
Na rys. 9.5 podano schemat pomiaru siły tarcia w maszynie KE-4. Przy współpracy próbki z walcem powstaje moment tarcia na obudowie przekazywany na płaską sprężynę, której odkształcenie odpowiadające sile tarcia mierzone jest za pomocą czujnika zegarowego.
Rys. 9.5. Urządzenie do pomiaru siły tarcia na stanowisku KE-4;
1, 4-próbka i przeciwpróbka,
2 - czujnik zegarowy,
3 - obejma,
5 - sprężyna płaska

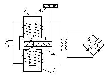
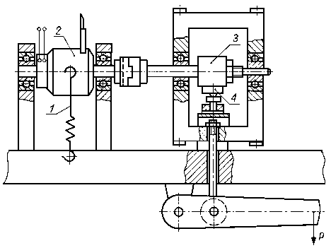
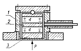
Dużą dokładność pomiaru momentu tarcia można zrealizować w urządzeniu (rys. 9.6) do badań własności przeciwzużyciowych materiałów łożyskowych. Badana tulejka jest umocowana w obejmie. Przeciwpróbka zamocowana sztywno z wałem jest napędzana silnikiem elektrycznym. Pod działaniem siły tarcia tulejka wraz z obejmą i dźwignią przemieszcza się działając na dynamometr, na którym odczytujemy moment tarcia. Obejma jest jednocześnie czopem łożyska hydrostatycznego, przez które jest wywierane obciążenie na badane skojarzenie.
Rys. 9.6. Urządzenie do pomiaru momentu tarcia;
1 - dynamometr,
2 - dźwignia,
3 - obejma,
4 - próbka,
5 - przeciwpróbka,
6 - nurnik

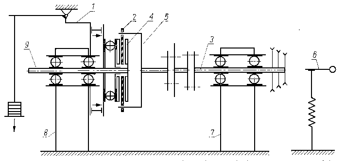
Rys. 9.7. Uproszczony schemat maszyny Amsler;
1-silnik elektryczny,
2, 3, 4, 6, 7 - koła zębate,
5, 8, 11 - wałki,
9, 10 - próbka i przeciwpróbka,
12 - dźwignia wahadła,
13 - obciążenie

Przy takim rozwiązaniu siła tarcia występująca między obejmą a układem obciążającym jest pomijalnie mała (tarcie wewnętrzne cieczy w poduszce hydrostatycznej) i dlatego ten moment tarcia jest wyznaczany z dużą dokładnością.

Oddzielną grupę urządzeń do pomiaru momentu stanowią dynamometry wahadłowe. Na rys. 9.7 przedstawiono uproszczony schemat maszyny Amsler. Moment tarcia próbki o przeciwpróbkę jest równoważony przez moment napędowy silnika zwiększony przez przekładnię zwykłą i obiegową (planetarną) złożoną z kół zębatych 3, 4, 6, 7, z którą jest związana wahadłowa dźwignia będąca jarzmem mechanizmu planetarnego. Na dźwignię nakłada się przeciwwagi, których ciężar jest zależny od mierzonej wartości momentu tarcia. Kąt wychylenia dźwigni wahadłowej od położenia pionowego jest miarą momentu tarcia powstałego w badanym skojarzeniu. Moment tarcia odczytywany na skali jest wprost proporcjonalny do sinusa kąta wychylenia dźwigni. Prosta konstrukcja dynamometrów wahadłowych, wysoka dokładność pomiaru wartości siły tarcia i momentu tarcia, możliwość ciągłego zapisu siły tarcia i momentu tarcia w czasie trwania eksperymentu spowodowały ich zastosowanie w szerokim zakresie w urządzeniach do badania tarcia.
Rys. 9.8. Urządzenie do pomiaru momentu tarcia za pomocą dźwigni dwuramiennej;
1 -szalki,
2 - pręty podtrzymujące,
3 - wał,
4 - próbka,
5 - dźwignia dwuramienna,
6 - dźwignia obciążająca,
7 - obciążenie

Rys. 9.9. Urządzenie do pomiaru momentu tarcia za pomocą wychylenia stojana silnika;
1 - sprężyna,
2 - silnik napędzający,
3, 4 - próba i przeciwpróbka

Jednym ze sposobów pomiaru momentu tarcia jest wykorzystanie dźwigni dwuramiennej (rys. 9.8). Siła tarcia powstająca pomiędzy obracającym się wałkiem i badaną próbką powoduje wychylenie próbki wraz z korpusem i dźwignią. Moment tarcia jest równoważony przez ciężarki dokładane na szalkę. W zależności od kierunku obrotów wału układ jest doprowadzany do stanu równowagi na lewej lub prawej szalce. Ta metoda może być stosowana tylko przy ustalonych warunkach badań.
Miarą momentu tarcia próbki o przeciwpróbkę w urządzeniu przedstawionym na rys. 9.9 jest wychylenie stojana silnika napędowego. W celu zapewnienia równowagi układu stojan jest podtrzymywany sprężyną.

9.1.2. Metoda pomiaru siły tarcia i momentu tarcia za pomocą czujników elektrycznych

Obecnie w większości maszyn do badania tarcia w celu wyznaczenia wartości siły tarcia i momentu tarcia stosuje się czujniki zmieniające odkształcenie elementu sprężystego na sygnał elektryczny. Do najbardziej rozpowszechnionych należą czujniki tensometryczne, piezoelektryczne i indukcyjne.
Czujniki tensometryczne (tensometry) służą do pomiaru odkształceń elementów sprężystych, a przez to naprężeń, sił i momentów tam występujących. Obecnie są stosowane trzy zasadnicze rodzaje czujników tensometrycznych o różnej budowie (rys. 9.10): drutowe, foliowe i półprzewodnikowe.
Rys. 9.10. Rodzaje czujników termometrycznych:
a) wężykowe (wężyk z drutu),
b, c) foliowe,
d) foliowe membranowe,
e) półprzewodnikowe

Tablica 9.1. Własności materiałów o dużej rezystancji

MateriałWspółczynnik czułości odkształceniowej
kt
Termiczny współcz. rezystancji dla przedziału temperatur
20÷100°C, l/K
Moduł sprężystości
E
MPa
Manganin0,5-3•10-5 ÷ 2•10-512 600
Konstantan2-5•10-5 ÷ 1•10-514 800
Nikiel2,74,3•10-3220 000
Platyna2,7÷6,13,6•10-3165 000

Do pomiaru siły lub momentu tarcia stosuje się najczęściej tensometry drutowe. Tensometr drutowy jest zbudowany z cienkiego drutu (0 0,01 mm) o dużej rezystywności naklejonego na taśmę materiału izolacyjnego w kształcie wielopętlicowym. Powszechnie stosowanym materiałem na drut jest konstantan, zastępowany ostatnio przez inne metale o znacznie lepszych własnościach użytkowych (tabl. 9.1).
Po odpowiednim przygotowaniu oraz odtłuszczeniu tensometru i badanej powierzchni tensometr nakleja się na badany element. Schemat naklejenia tensometru oraz rozkład naprężeń wzdłuż czujnika przedstawiono na rys. 9.11.
Rys. 9.11. Sposób naklejenia czujnika i rozkład naprężeń;
1 -powierzchnia elementu poddanego działaniu naprężeń,
2, 3 - podkładka papierowa, klej,
4 - czujnik,
5 - zabezpieczenie przed wilgocią

Kleje stosowane do naklejania tensometrów powinny charakteryzować się następującymi cechami:

- wierne przenoszenie deformacji badanej powierzchni,
- dobre własności adhezyjne,
- odporność na oddziaływanie środowiska,
- odporność na działanie wysokiej temperatury.

Obecnie są stosowane cztery rodzaje klejów, spełniające następujące warunki: celuloidowy (do +80°C), termoplastyczny (do +100°C), na żywicy fenolowej (do +200°C), ceramiczny (do +700°C).
Tensometr pod działaniem sił zewnętrznych ulega deformacji wraz z podłożem, na które został naklejony. Deformacja nie może przekroczyć obszaru odkształcenia sprężystego, opisanego prawem Hooke'a
σ = E ε MPa (9.1)

przy czym wydłużenie względne
ε = Δ l
l
(9.2)

gdzie: σ - naprężenie w badanym materiale w MPa, E - współczynnik sprężystości wzdłużnej w MPa, l - baza tensometru (baza pomiarowa) w m, Δl - zmiana długości wskutek odkształcenia w m.

Opór elektryczny (rezystancję) drutu tensometru opisuje wzór
R = ρ l
S
(9.3)

gdzie: ρ - opór właściwy (rezystywność drutu w Ωm, l - długość drutu m, S - powierzchnia przekroju poprzecznego drutu m².

Różniczkując zlogarytmowany wzór otrzymamy
d R
R
= d l
l
+ d ρ
ρ
- d s
s
(9.4)

Jako współczynnik czułości odkształceniowej przyjmuje się
kt = d R
R
d l
l
= 1 + d ρ
ρ
d l
l
- d s
s
d l
l
(9.5)

Wprowadzając liczbę Poissona
ν = - d s
s
2 d l
l
(9.6)

wzór przyjmuje postać
kt = 1 +2 ν + d ρ
ρ
ρ
ε
= 1 +2 ν + ε d ρ (9.7)

Dla obszaru odkształceń sprężystych zmiana oporu właściwego (rezystywności) pod wpływem wydłużenia jest równa zeru ((d ρ/ρ)/ε = 0], a więc
kt = 1 +2 ν (9.8)

Ze wzoru otrzymamy
d R
R
= kt ε (9.9)

Wykorzystując prawo Hooke'a obliczymy
σ = d R
R
E
kt
(9.10)

Rys. 9.12. Charakterystyka przetwarzania czujnika tensometrycznego;
ε - wydłużenie względne,
ΔR/R - względny przyrost oporu tensometru

Wzór stanowi charakterystykę przetwarzania czujnika tensometrycznego (rys. 9.12) dla jednoosiowego stanu naprężeń. Ze względu na małe zmiany oporu elektrycznego tensometru (rzędu kilku procent), należy w układach pomiarowych stosować kompensację wpływu temperatury.

Tensometry foliowe otrzymuje się przez napylenie na cienkiej folii warstwy metalu (Ni, Cr lub konstantan) lub przez trawienie. Grubość warstwy wynosi 4÷12 µm. Wartość stałej k, jak i pozostałych parametrów, są analogiczne jak odpowiednie wartości dla czujników drutowych.
Tensometry półprzewodnikowe wykonywane są z krzemu lub germanu, przy czym krzem wskutek mniejszej podatności na wpływ temperatury jest częściej stosowany. Ponadto stosowane są związki chemiczne, jak: arsenek galu (GaAs) oraz antymonek galu (GaSb), będące półprzewodnikami. Stała k, tensometrów półprzewodnikowych jest rzędu 10²÷10³. Podstawową ich wadą jest duża wartość termicznego współczynnika oporu elektrycznego (rezystancji) α i dlatego też jest wymagana staranna kompensacja termiczna układów pomiarowych. Istotne jest również przestrzeganie dopuszczalnych maksymalnych wartości prądu pomiarowego w taki sposób, aby opór elektryczny (rezystancja) (d Ut/Jt) była stała ze względu na ograniczenie liniowości charakterystyki prądowo-napięciowej półprzewodnika. Charakterystyka przetwarzania tensometru półprzewodnikowego jest liniowa w zakresie naprężeń rozciągających i krzywoliniowa w zakresie naprężeń ściskających. Opór elektryczny (rezystancja) izolacji czujników tensometrycznych powinna wynosić minimum 50 MΩ. Dlatego też bardzo ważne jest zabezpieczenie czujników przed wpływem wilgoci. W tym celu najczęściej stosuje się lakiery, wosk lub cerezynę.
Jako przetworniki zmiany rezystancji w sygnał aktywny stosowane są dwa podstawowe układy: potencjometryczny dzielnik napięcia i mostek pomiarowy.
Układy potencjometryczne dzielnika napięcia stosowane są rzadko ze względu na brak kompensacji termicznej takiego układu.
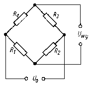
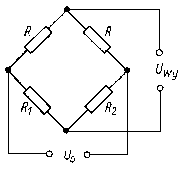
Układy mostkowe zapewniają dużą skuteczność kompensacji wpływu temperatury. Pełny wzór na wartość napięcia wyjściowego o wartości proporcjonalnej do mierzonych odkształceń dla układu półmostkowego ma postać
Uwyj = U0
2 Δ R
R

4 + 4 • Δ R0
R
U0
2
Δ R
R
(9.11)

Wpływ temperatury w tym układzie jest pomijalny, bowiem wartość 4(ΔR0/R ) jest rzędu 10-3, tak więc błąd wynikający z nieuwzględnienia tej wartości jest tego samego rzędu. W tabl. 9.2 podano typowe przykłady układów mostkowych oraz rozmieszczenia tensometrów przy pomiarze sił gnących, rozciągających, ściskających oraz przy pomiarze momentu skręcającego. W tensometrii stosuje się mostki wychyłowe oraz dowolne mostki lub rejestratory, byle byłyby dopasowane do układu pomiarowego. Przy założeniu, że prąd na wyjściu z mostka Iwyj = 0, można mostek uważać za połączenie dwóch dzielników napięcia.

Tablica 9.2. Przykłady układów mostkowych i rozmieszczenia tensometrów przy pomiarach sił gnących

Układ półmostkowy o biernej kompensacji termicznej (czujnik R2 nie poddawany odkształceniom).
Łatwość przejścia do układu dzielnika napięcia (pomiar dynamiczny).
Układ półmostkowy o czynnej kompensacji temperaturowej (czujnik kompensacyjny również poddany działaniu odkształceń).
Zalety: względna prosta i stosunkowo duża wartość sygnału wyjściowego.
Cztery czujniki w układzie pełnego mostka. Pomiar naprężeń występujących przy zginaniu. Duża wartość sygnału wyjściowego, skuteczna kompensacja termiczna.
Układ najkorzystniejszy z pomiarowego punktu widzenia.
Pomiar momentu skręcającego. Skuteczna kompensacja i duża wartość sygnału wyjściowego.
Tensometry naklejone w kierunkach działania sił ściskających i rozciągających, występujących przy skręcaniu wału.

Wówczas wzór na napięcie wyjściowe ma postać
Uwyj = U0 R1R3 - R2R4
(R1 + R2) ( R3 + R4 )
(9.12)

Powyższa zależność stanowi podstawę do obliczania układów mostkowych współpracujących z aparaturą elektroniczną.

9.1.3. Czujniki piezoelektryczne

Piezoelektrycznością nazywamy zjawisko powstawania na ściankach niektórych kryształów, będących dielektrykami, ładunków elektrycznych pod wpływem zewnętrznych naprężeń mechanicznych, przy czym wartość ładunku jest wprost proporcjonalna do wartości naprężeń zewnętrznych. W konstrukcjach czujników do pomiaru siły znalazły zastosowanie dwa piezoelektryki: kwarc SiO2 i tytanian baru BaTiO3.
Ilustrację zjawiska piezoelektrycznego stanowi rys. 9.13, na którym przedstawiono schemat konfiguracji jonów krzemu i tlenu w kwarcu. Kiedy na kryształ nie działa siła, ze względu na symetrię rozmieszczenia jonów, wszystkie ładunki są skompensowane.
Rys. 9.13. Ilustracja zjawiska piezoelektrycznego

Po przyłożeniu siły zewnętrznej (ściskanie) siatka krystaliczna ulega deformacji, powodując wytwarzanie na przeciwległych ścianach płytki ładunków różnoimiennych. Przy rozciąganiu ładunki zmieniają znak na przeciwny.

Jeżeli kierunek działania siły pokrywa się z osią krystalograficzną X, wówczas wartość modułu ładunku jest wprost proporcjonalna do wartości działającej siły i nie zależy od wymiarów płytki (wzdłużny efekt piezoelektryczny)
Qx = k F (9.13)

gdzie: k - stalą piezoelektryczna, F - siła.

Przy oddziaływaniu siły w kierunku osi krystalograficznej (poprzeczny efekt piezoelektryczny) wartość ładunku jest funkcją geometrii płytki i wynosi
Qy = - k a
b
F (9.14)

gdzie a, b-wymiary płytki (rys. 9.14).

Rys. 9.14. Kryształ kwarcu i sposób wycięcia płytki do czujnika piezoelektrycznego

Płyta czujnikowa stanowi więc kondensator i w związku z tym elektryczną wielkością wyjściową jest napięcie
U = Qx
C
= k
C
F (9.15)

gdzie C - pojemność czujnika.

Czułość czujnika jednopłytkowego wynosi
Sp = d U
d F
= k
C
(9.16)

Jak wynika z ostatniego wzoru czułość czujnika Sp jest odwrotnie proporcjonalna do pojemności czujnika C. Pojemność czujnika C jest sumą pojemności płytki oraz pojemności przewodu Cm łączącego czujnik z aparaturą pomiarową. Pojemność przewodu Cm wielokrotnie przewyższa pojemność płytki czujnika. To ogranicza praktycznie osiągalną czułość do wartości około 2 • 10-2 V/N. W celu zmniejszenia pojemności pasożytniczych stosuje się czujniki wielopłytkowe.

Czułość czujnika wielopłytkowego wynosi
Spn = n k
n Ck + Cm
(9.17)

gdzie: n - liczba płytek, Ck - pojemność czujnika.

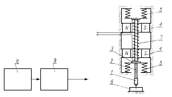
Na rys. 9.15 przedstawiono konstrukcję czujnika, a na rys. 9.16 schemat układu pomiarowego, w skład którego wchodzi czujnik piezoelektryczny.
Rys. 9.15. Kwarcowy czujnik pomiarowy;
1 - obudowa,
2 - elektroda,
3 - kwarc,
4 - membrana,
p - ciśnienie

Rys. 9.16. Układ połączeń czujnika piezoelektrycznego do pomiaru siły tarcia;
7 - skalowanie napięć,
2 - połączenia,
3 - stopień wzmocnienia,
4 - oscyloskop,
5 - woltomierz lampowy,
6 - kondensator o zmiennej pojemności,
7 - czujnik kwarcowy,
8 - lampa wyjściowa

9.1.4. Czujniki indukcyjne

Czujniki indukcyjne pracują na zasadzie zmiany indukcyjności własnej L lub wzajemnej M pod wpływem działania wielkości mechanicznej. W zależności od sposobu realizacji zmiany indukcyjności własnej rozróżnia się następujące rodzaje czujników indukcyjnych: czujniki dławikowe o zmiennej szczelinie powietrza lp, czujniki solenoidowe o zmiennym położeniu rdzenia magnetycznego, czujniki dławikowe z wykorzystaniem zmiany przekroju szczeliny powietrza, czujniki z wykorzystaniem prądów wirowych w materiałach diamagnetycznych.
Czujniki pracujące na zasadzie zmiany indukcyjności wzajemnej można podzielić na: czujniki transformatorowe i czujniki selsynowe.
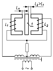
Najczęstszym zastosowaniem czujników indukcyjnych jest pomiar przemieszczeń. Jeżeli więc pod wpływem działania oporów tarcia nastąpi przemieszczenie całego czujnika lub jego części, wówczas można bezpośrednio mierzyć siłę lub moment tarcia. Ze względu na zachowanie liniowości charakterystyki czujnika, kompensację wpływów zewnętrznych, większe uniezależnienia napięcia wyjściowego od częstotliwości, powszechnie stosuje się konstrukcje czujników w układzie różnicowym. Na rys. 9.17 przedstawiono zasadę pracy czujnika indukcyjnego różnicowego.
Rys. 9.17. Schemat różnicowego czujnika dławikowego;
L1, L2 - cewki,
L1, L2- szerokość szczeliny powietrznej,
7 - rdzeń

Dwie cewki są włączone w układzie różnicowym. Jarzmo jest wspólne i podczas pomiaru przesuwa się z położenia środkowego w lewo lub w prawo. Jeżeli jedna ze szczelin l2 rośnie, to druga l1 maleje, a przez to indukcyjność L1 wzrasta, natomiast indukcyjność L2 maleje. Jeżeli mierzona siła jest równa zeru, to jarzmo czujnika znajduje się w położeniu środkowym, symetrycznie względem części nieruchomych obwodu magnetycznego i wówczas impedancje obu cewek są jednakowe. Wskutek działania mierzonej siły rezystancje i indukcyjności obu cewek czujnika zmieniają się prawie jednakowo, lecz w przeciwnych kierunkach. Mierząc indukcyjność czujnika lub moduł jego impedancji można obliczyć siłę i moment tarcia (po uprzednim wyskalowaniu czujnika).
Rys. 9.18. Rodzaje czujników indukcyjnych:
a, b) dławikowe,
c, d) selenoidalne,
e) z wykorzystaniem zmiany przekroju szczeliny powietrznej,
f) z wykorzystaniem prądów wirowych w diamagnetyku (miedź)

Rys. 9.19. Różnicowy czujnik indukcyjny do pomiaru siły tarcia;
1 - sprężyny,
2 - rdzeń

Rodzaje czujników indukcyjnych do pomiaru siły przedstawiono na rys. 9.18.
Na rys. 9.19 podano schemat momentomierza indukcyjnego, który może być zastosowany do pomiaru momentu obrotowego (momentu tarcia). Podstawowym elementem jest wałek z przewężeniem pomiarowym. Po obu stronach przewężenia są osadzone tarcze aluminiowe z wbudowanymi czujnikami indukcyjnymi pracującymi w układzie mostkowym. Na zewnątrz tarcz znajdują się transformatory obrotowe, zasilające czujniki indukcyjne. Moment obrotowy (tarcia) działając na wałek powoduje jego skręcenie, co z kolei wywołuje proporcjonalne zrównoważenie czujnika indukcyjnego, rejestrowane przez układ pomiarowy.
    

9.2. Metody pomiaru temperatury w obszarach tarcia

Rzeczywistą temperaturę w obszarach styku trących powierzchni trudno jest zmierzyć, ponieważ obszary rzeczywistego styku ulegają ciągłym zmianom, a odprowadzenie ciepła powstałego w wyniku pracy tarcia jest nieustalone. O wartości temperatury na powierzchniach tarcia można wnosić na podstawie pomiarów wielkości pośrednich jak:
1. Zmian fizycznych, chemicznych lub metalograficznych w materiale warstwy wierzchniej (umocnienie plastyczne materiału, naprężenia własne, zmiany makro- i mikrostrukturalne).
2. Z pomiaru temperatury w pewnej odległości od powierzchni styku. W tym przypadku, aby ocenić temperaturę powierzchni tarcia, należy znać gradient temperatury w warstwie wierzchniej powstający wskutek tarcia.
3. Z pomiaru temperatury sztucznym termoelementem (termoparą). Trące skojarzenie jest wykorzystane jako termoparą. Realizacja takiej metody pomiaru temperatury jest możliwa wtedy, jeśli trące elementy skojarzenia są wykonane z metali mających różne potencjały termoelektryczne. Zaletą tej metody jest mała bezwładność cieplna układu pomiarowego. Główną wadą metody jest niemożliwość całkowitego odfiltrowania generowanych prądów tarcia w badanym skojarzeniu, które zasadniczo zaburzają pomiar temperatury.
4. Z pomiaru temperatury termoparą ślizgową, dociskaną stałą siłą do powierzchni tarcia. W tym przypadku jest mierzona praktycznie temperatura wytwarzana w obszarze termopary przez badane skojarzenie i na skutek tarcia termopary o powierzchnię badaną, a nie wyłącznie między badanymi powierzchniami ślizgowymi. Nie można wyeliminować zakłócającego działania prądów tarcia na pomiar temperatury.
5. Metoda kryptonatów.
6. Inne metody, jak wskaźniki temperatury, pomiar promieniowania.
Dokładny pomiar temperatury powierzchni w obszarach styku trących ciał należy do najtrudniejszych pomiarów temperatury. Pojęcie temperatury powierzchni wymaga pewnego wyjaśnienia. W ujęciu matematycznym powierzchnia ciała stałego nie ma grubości, a zatem nie może zawierać dostatecznie dużej liczby cząsteczek, dla której można wprowadzić takie pojęcie statystyczne, jak temperatura. Pod pojęciem temperatury należy zatem rozumieć temperaturę warstwy wierzchniej. Jeżeli określa się rozkład temperatury t( x) w ciele stałym w kierunku x prostopadłym do powierzchni ciała, to jako temperaturę powierzchni należy przyjąć
tp = lim f ( x ) (9.18)
x→0

gdzie x - odległość od powierzchni mierzona wzdłuż normalnej do powierzchni.

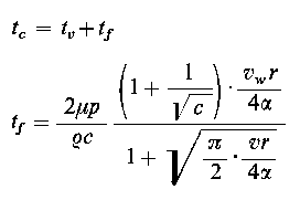
Temperaturę w strefie styku dwóch współpracujących części maszyn można obliczyć wg wzorów Bloka i Feina. Generowana w strefie tarcia temperatura jest wyższa od temperatury oleju smarującego, a jej wartość zależy od: kinematyki, dynamiki i własności fizycznych obszarów tarcia. Wzory do obliczania temperatury w strefie styku dla powierzchni zakrzywionych, podane przez Bloka i Feina, mają postać:
(9.19)

gdzie: te - temperatura w strefie styku w K, tv - średnia temperatura masy współpracujących elementów w K, tf - temperatura zgrzewania (flash temperature) w K, µ - współczynnik tarcia, p - nacisk jednostkowy w MPa, ρ - gęstość materiału w kg/m³, c - pojemność cieplna w J/K, α - współczynnik przewodzenia ciepła dla trących materiałów w N/(m•K), r - promień styku w m, vw - prędkość względna badanych skojarzeń.

Podane wyrażenia przedstawiają najlepiej trudności wyznaczenia temperatury powierzchni badanych części maszyn. Źródłem dużych błędów wyznaczenia temperatury df są przybliżone wartości współczynników przewodzenia ciepła, pojemności cieplnej oraz współczynnika tarcia. W praktyce temperatura w obszarach styku trących powierzchni jest mierzona: rezystorami termometrycznymi termistorami, termoelementami, metodą kryptonowania, rzadziej za pomocą pokryć termoczułych i metody termowizji. Zastosowanie rezystorów termo metrycznych, termistorów i termopar wymaga przygotowania badanej próbki do pomiarów temperatury. Należy wykonać otwór (o średnicy nieco większej od czujnika) prostopadły lub pod pewnym kątem do powierzchni tarcia oraz wprowadzić do niego i umocować czujnik. Odległość d między powierzchnią tarcia a dnem otworu w zależności od przewidywanej wartości zużycia wynosi 0,05÷0,5 mm. Im zużycie próbki mniejsze, tym i ta odległość może być mniejsza.

9.2.1. Rezystory termometryczne

Pomiar temperatury za pomocą rezystorów termometrycznych jest oparty na zjawisku wzrastania rezystancji metali ze wzrostem temperatury. W małych zakresach zmian temperatury zależność ta jest liniowa i rezystancja zmienia się wg zależności
R2 = R1 [1 + α (T2 - T1) ] =R1 (1 + α Δ T ) (9.20)

w szerokim zakresie zmian temperatury
R2 = R1 (1 + α Δ T + β Δ ) (9.21)

gdzie: R1 -rezystancja w temperaturze R1 w Ω, R2 -rezystancja w temperaturze T2 w Ω, α - termiczny współczynnik rezystancji w l/K, wartości współczynników α i β podano w tabl. 9.3.

Tablica 9.3. Wartości współczynników a i b

Materiał drutu oporowegoa
1/K
b
1/K²
Platyna3,97•10 -3-5,85•10 -7
Nikiel4,6•10 -3-6,93•10 -6
Miedź4,3•10 -3

Tablica 9.4. Zakresy stosowania termometrów rezystancyjnych

Materiał drutu oporowegoZakres pomiaru temperatur
°C
Platyna-200 ÷ +500
Nikiel-50 ÷ +200
Miedź-50 ÷ +150

Do wykonania czujników stosuje się drut rezystancyjny platynowy, niklowy i miedziany. Zakresy stosowalności termoelementów rezystancyjnych podano w tabl. 9.4. Element rezystancyjny czujnika najczęściej jest wykonany z drutu o średnicy 0,05÷0,2 mm nawiniętego na okrągły lub płaski pręcik wykonany z miki, szkła, porcelany lub kwarcu.

Do zalet termometrów rezystancyjnych należą:
- możliwość bardzo dokładnego pomiaru temperatury, w praktyce niezależna od zmian temperatury otoczenia,
- pomiar temperatury na odległość do kilkuset metrów,
- łatwość instalowania i sprawdzania, duża niezawodność,
- mała bezwładność - mniejsza od termometrów termistorowych.

Do wad tych termometrów ze względu na badanie temperatury w procesie tarcia można zaliczyć stosunkowo duże gabaryty termometrów.

9.2.1.1. Termistory

Termistory są to półprzewodnikowe rezystory o bardzo dużym termicznym współczynniku rezystancji. Rezystancja termistorów maleje od 2 do 6% na 1°C przyrostu temperatury. Liczba swobodnych elektronów w półprzewodnikach, w odróżnieniu od metali wzrasta nieliniowo, lecz wykładniczo, dlatego mają one dużą ujemną wartość współczynnika termicznej rezystancji. Zmianę rezystancji termistora w funkcji temperatury opisuje się wzorem
(9.22)

gdzie: R0 - rezystancja termistora w temperaturze T0, Rt - rezystancja termistora w temperaturze T, b - stalą materiałowa.

Termistory są wykonywane z tlenków takich metali, jak: mangan, tytan, nikiel, kobalt, miedź, żelazo. Czujniki wykonywane są w postaci: kulek o średnicy 0,4 mm, krążków o średnicy 5÷25 mm, pręcików o średnicy l ÷ 6 mm i długości do 50 mm, cienkich płytek itp., do których wtopione są cienkie druciki platynowe. Termistory dzięki małym rozmiarom odznaczają się małą bezwładnością. Można nadać im dowolne kształty, a w szczególnych przypadkach zastosować je do pomiaru temperatury powierzchni ciał stałych.
Do wad termistorów zaliczamy: zmianę ich rezystancji z czasem, niemożliwość wykonania termistorów o jednakowych własnościach, nieliniowość zależności rezystancji od temperatury, duże zmiany rezystancji termistorów pod wpływem temperatury nie pozwalające na wykorzystanie jednego czujnika w szerokim zakresie temperatury.

9.2.1.2. Termoelementy (termopary)

Zasada pomiaru temperatury za pomocą termoelementu polega na powstawaniu napięcia termoelektrycznego w obwodzie zamkniętym, składającym się z dwóch różnych metali, jeżeli złącza tych metali znajdują się w różnych temperaturach. W termoelemencie wyróżniamy spoinę mierzącą (gorący koniec) i spoinę odniesienia (zimny koniec). Włączenie przewodu z trzeciego elementu między końce termoelementu znajdujące się w tej samej temperaturze nie zmienia jego napięcia termoelektrycznego. Termoelementy laboratoryjne są wykonywane najczęściej z drutów o średnicach ok. 0,2 mm. W nazwie termoelementu podaje się najpierw biegun dodatni, a następnie biegun ujemny. Najczęściej używanymi termoelementami są:
- termoelementy miedź-konstantan - cechują się dużym napięciem termoelektrycznym (4,25 mV/100°C), mogą one być stosowane w zakresie temperatury -200 do +400°C);
- termoelementy srebro-konstantan - mają charakterystykę zbliżoną do termoelementów Cu-Konst., lecz są od nich bardziej trwałe;
- termoelementy żelazo-konstantan - wytwarzają duże napięcie termoelektryczne (5,5 mV/100°C), mogą być stosowane w ciągu długiego okresu w temperaturze do 600°C, odporne są na atmosferę redukującą i powinny być chronione przed atmosferą utleniającą w wysokiej temperaturze;
- termoelementy nichrom-nikiel (Ni Cr-Ni) - są odporne na atmosferę utleniającą i korozyjną, mogą być stosowane długotrwale do 1000°C, napięcie termoelektryczne 4 mV/100°C, mają prawie dokładnie liniową charakterystykę.

Do pomiaru wysokiej temperatury (ponad 1000°C) stosuje się termoelementy: chromel-alumel (1100°C), platynarod-platyna (1300°C), iryd-irydorod (2000°C).
Przed przystąpieniem do badań termoelement należy wzorcować i sprawdzić. Wzorcowanie polega na wyznaczeniu zależności między podziałką przyrządu wskazującego a temperaturą mierzoną. W praktyce przy wzorcowaniu termoelementów wykorzystuje się najczęściej jako temperaturę zimnych końców temperaturę topnienia lodu (0°C), a dla gorącego końca temperatury krzepnięcia czystych metali, np.; kadmu (321, 108°C), ołowiu (327, 502°C), cynku (419, 58°C) oraz temperaturę wrzenia wody (100°C).
W podobny sposób należy przeprowadzać wzorcowanie termistorów termometrycznych.

9.2.2. Pomiary temperatury na podstawie zmian rezystancji

Pomiar temperatury rezystorami termometrycznymi i termistorami sprowadza się do pomiaru zmian rezystancji wywołanej zmianą temperatury. W zależności od wymaganej dokładności pomiaru stosowane są różne metody; metoda ilorazowa, metoda mostkowa i metoda kompensacyjna.
Metoda ilorazowa pomiaru temperatury najczęściej jest stosowana do pomiarów technicznych. Przyrządy stosowane do tego celu zwane logometrami, mają mniejszą dokładność niż przy innych metodach, są wygodne w użyciu, nie wymagają specjalnej obsługi i zabezpieczają szeroki zakres potrzeb technicznych.
Metoda mostkowa jest stosowana do dokładnych pomiarów temperatury. Stosuje się w tym celu układy mostkowe oraz kompensacyjne. Stosowane są dwa typy mostków: typ zerowy i typ wychyleniowy. W praktyce do pomiarów laboratoryjnych najczęściej stosuje się typ zerowy mostka. Na rys. 9.30 przedstawiono
Rys. 9.20. Schemat mostka typu zerowego

schemat takiego mostka. Jest to normalny zrównoważony mostek Wheatstone'a, gdzie R2 oznacza rezystor termometryczny, R1, R2, R3 - rezystory stałe pozostałych gałęzi, r = R3+R4 - rezystor wyrównawczy. Dla oceny zrównoważenia mostka służy galwanometr (G Równowaga mostka przy przesuwaniu suwaka r zachodzi wówczas, gdy jest spełniony warunek
tc = tv + tf
R2
R1 min
= Rt + r4
R3 + r3
(9.23)

Wielkość rezystancji r jest tak dobrana, aby przy zmianie rezystancji R1 od R1 min do R1 max zachodziła równowaga mostka, a więc
R2
R1
= R1 min + r
R3
i R2
R1
= R1 max
R3 + r
(9.24)

stąd
r = (R3 + Rt min) + [ (R3 + Rt min)² +4 R3Rt max ]½
2
(9.25)

Ponieważ każdej wartości rezystancji termometrycznej odpowiada określone położenie suwaka na rezystorze wyrównawczym r, dlatego rezystor wyrównawczy można wycechować w stopniach temperatury. Zaletą równoważonych mostków do pomiaru temperatury jest niezależność ich wskazań do zmian napięcia zasilającego i zmian temperatury otoczenia (przy założeniu, że rezystory R1, R2, R3,r, są wykonane z manganinu) oraz rezystancji przewodów doprowadzających. Równoważenie mostka może odbywać się ręcznie, np. przy cechowaniu rezystorów termometrycznych. W przyrządach pomiarowych z rejestracją temperatury stosuje się mostki z automatycznym układem do równoważenia.
Pomiar rezystancji metodą kompensacyjną polega na pomiarze spadku napięcia Et na rezystorze termometrycznym Rt i porównaniu go ze spadkiem napięcia En na rezystorze Rn (rys. 9.21). Spadki napięcia wynoszą odpowiednio Et = J Rt
Rys. 9.21. Zestaw do pomiaru oporu metodą kompensacyjną

oraz En = J Rn. Jeżeli prąd J w obu przypadkach w czasie pomiaru będzie ten sam, to
Rt = Et
En
Rn (9.26)

Zaletą metody kompensacyjnej jest zupełna niezależność pomiaru od rezystancji przewodów łączących czujnik z przyrządem, więc metoda może być stosowana wtedy, gdy rezystancje przewodów doprowadzających są znaczne i jest wymagany bardzo dokładny pomiar temperatury.

9.2.3. Pomiary siły termoelektrycznej termoelementów

Obecnie istnieje duża różnorodność przyrządów do pomiaru siły termoelektrycznej. Wybór przyrządu zależy od wielu czynników, a mianowicie od wymaganej dokładności pomiaru, warunków ruchowych, jak czas trwania pomiaru, szybkie lub wolne zmiany temperatury, odległość między termoparą a przyrządem pomiarowym, oraz od wymaganego sposobu rejestracji wyników.

9.2.3.1. Wychyłowe metody pomiaru siły termoelektrycznej

Najbardziej reprezentatywnym przyrządem pomiarowym, opartym na metodzie wychyłowej, jest przyrząd magnetoelektryczny (miliwoltomierz). Dokładność jego jest ograniczona; dla woltomierzy przemysłowych wynosi ona 0,5%, a dla miliwoltomierzy laboratoryjnych 0,2% (błąd samego miliwoltomierza). Zmiany temperatury otoczenia i rezystancje obwodu zewnętrznego powodują dodatkowe błędy pomiaru. Przyrządy pomiarowe tego typu ze względu na swą budowę są bardzo delikatne oraz mało odporne na drgania i wstrząsy, wymagają dobrego poziomowania (przy zawieszeniu ramki pomiarowej na tasiemkach z brązu, np. samopisy kabłąkowe).
Duży wpływ na wskazania miliwoltomierza ma rezystancja obwodu zewnętrznego układu pomiarowego.
Całkowita rezystancja obwodu układu pomiarowego wynosi
Rc = Rt + Rk + Rp + Rm (9.27)

gdzie: Rm - rezystancja wewnętrzna miliwoltomierza, Rt - rezystancja termoogniwa, Rk - rezystancja przewodów kompensacyjnych, Rp - rezystancja przewodów dodatkowych.

Prąd I przepływający przez cały obwód wynosi
I = E
Rc
= E
Rz + Rm
= Em
Rm
(9.28)

gdzie: Em - różnica potencjałów na zaciskach miliwoltomierza, Rz = Rt+Rk+Rp - rezystancja zewnętrzna.

Siła termoelektryczna samego termoogniwa wynosi
E = Em Rm + Rz
Rm
= Em ( 1 + Rz
Rm
) (9.29)

przy czym:

- przy wzorcowaniu miliwoltomierza w °C dla danej temperatury należy uwzględnić rezystancję obwodu zewnętrznego;
- miliwoltomierz wskazuje temperaturę prawidłowo tylko wtedy, gdy rezystancja obwodu zewnętrznego Rz odpowiada rezystancji przyjętej przy wzorcowaniu;
- zmiany rezystancji zewnętrznej powodują błędne wskazania miliwoltomierza;
- duża rezystancja wewnętrzna Rm zmniejsza wpływ wskazań na zmianę rezystancji zewnętrznej.

Dobrej klasy przyrządy powinny mieć rezystancję wewnętrzną rzędu 100÷300 Ω, przyrządy wzorcowe-rzędu 10000. W celu uniknięcia błędów wskazań miliwoltomierza spowodowanych zmianą temperatury odniesienia, przyrządy te mają układy samokompensujące za pomocą bimetalu lub samokompensację z układami elektronicznymi.

9.2.3.2. Kompensacyjne metody pomiaru siły termoelektrycznej

Do dokładnych pomiarów temperatury stosuje się metody kompensacyjne. Metoda ta polega na porównaniu mierzonej siły termoelektrycznej ze znanym napięciem wzorcowym, przez przeciwne ich włączenie. Wskaźnikiem równości napięć jest najczęściej galwanometr. W chwili doprowadzenia do równości obu napięć przez galwanometr nie płynie prąd, a więc pomiar jest niezależny od rezystancji wewnętrznej napięcia mierzonego i jego zmian. Warunkiem uzyskania dokładnego pomiaru jest duża czułość galwanometru zerowego. Różne rodzaje kompensatorów różnią się tylko sposobem otrzymywania i nastawiania napięcia kompensacyjnego.
Na rys. 9.22 przedstawiono kompensator napięciowy, w którym napięcie kompensujące otrzymuje się z potencjometru Rp, przez który przepływa prąd

Rys. 9.22. Schemat kompensatora napięciowego

Rys. 9.23. Schemat kompensatora prądowego

pomocniczy Jk o stałej wartości. Prąd pomocniczy jest dostarczany przez baterię U i rezystor nastawczy Rs. W chwili równości napięcia mierzonego i kompensacyjnego występuje zależność
En = Jk Rk (9.30)

Pomiar prądu pomocniczego Jk odbywa się także metodą kompensacyjną przez pomiar napięcia na rezystorze RN. Napięcie to jest porównywalne z napięciem EN ogniwa, po przestawieniu przełącznika S w położenie 2. W chwili kompensacji napięcie ogniwa
EN = Jk RN (9.31)

a więc
Ex = EN Rk
RN
(9.32)

Za pomocą kompensatora napięciowego można uzyskać największą dokładność pomiarów, ponieważ napięcie EE ogniwa oraz rezystancja należą do bardzo dokładnie odtwarzalnych wielkości elektrycznych.

W kompensatorze prądowym (rys. 9.23), w którym napięcie kompensacyjne jest spadkiem napięcia na stałym oporze Rk wywołanym przez zmieniający się prąd I pomiar siły termoelektrycznej sprowadza się do pomiaru prądu I przyrządem pomiarowym A. W stanie kompensacji
Ex = I Rk (9.33)

Zaletą kompensatora prądowego jest brak ogniwa EN, w związku z tym kompensator jest mniej wrażliwy na wstrząsy.

Oprócz opisanych kompensatorów do pomiarów laboratoryjnych stosuje się kompensatory precyzyjne, pracujące przy stałych prądach Ik i zmiennej rezystancji Rk. Rezystancja ta jest regulowana płynnie w zakresie 1%. Obecnie w kompensatorach do pomiaru temperatury powszechnie stosuje się kompensację automatyczną ze wzmacniaczami elektronicznymi. Kompensatory budowane są jako przyrządy pomiarowe lub regulatory. Mogą być użyte do rejestracji rozmaitych wielkości fizycznych, jeżeli zostaną przetworzone na elektryczny sygnał napięciowy.

9.2.4. Analiza błędów przy pomiarze temperatury powierzchni za pomocą termoelementów

Przy pomiarze temperatury powierzchni ciał stałych za pomocą termoelementów występują błędy związane ze zmianą charakterystyki czujnika, niedokładnością wzorcowania czujnika, błędami wskazań przyrządu, niedokładnością izolacji, zaburzeniem pola temperatury ciała przez zainstalowanie w nim czujnika.
Zmiana charakterystyki czujnika może być wywołana rekrystalizacją oraz zjawiskami dyfuzyjnymi w drutach termoelementów, powstałymi w wyniku oddziaływania na termoelement mierzonej temperatury. Zjawiska te nasilają się zwłaszcza przy temperaturze wysokiej (> 500°C). Powyższych błędów można uniknąć, przeprowadzając ponowne wzorcowanie termoelementów. Dokładna ocena błędu spowodowanego pogorszeniem izolacji jest trudna ze względu na nieokreśloną długość miejsc ewentualnego pogorszenia stanu izolacji. Dokładność wskazań przyrządu pomiarowego temperatury zależy od rezystancji zewnętrznej (rezystancja czujnika, przewodów kompensacyjnych i łączących) oraz rezystancji wewnętrznej przyrządu pomiarowego. Zmiana rezystancji zewnętrznej wymaga wzorcowania termoelementu ściśle w tych samych warunkach, w jakich będzie on stosowany do pomiaru temperatury. W celu zmniejszenia wpływu zmian zewnętrznej rezystancji na pomiar, należy stosować przyrządy do pomiaru temperatury o rezystancji wewnętrznej wielokrotnie przewyższającej rezystancję zewnętrzną. Otrzymanie prawidłowych wyników pomiaru temperatury jest uzależnione od dobrania rezystancji zewnętrznej z dokładnością ±0,l Rz w stosunku do podanej wartości na skali przyrządu. Jeżeli spoina termoelementu znajduje się na głębokości z pod powierzchnią, należy wtedy wprowadzić poprawkę na gradient temperatury w ściance. Różnica temperatury powierzchni tp i temperatury tm mierzonej przez termoelement dla ścianki płaskiej wynosi w przybliżeniu
tp - tm = q
x
z (9.34)

a dla ścianki walcowej
tp - tm = q
2 πλ
[ ln ( 1 - q
x
) ] (9.35)

gdzie: q - gęstość strumienia ciepła przepływającego przez ściankę o grubości z, λ - współczynnik przewodzenia ciepła przez ściankę, R - promień powierzchni ścianki, od której jest mierzona grubość z.

    

9.3. Pomiar temperatury współpracy elementów maszyn za pomocą kryptonatów

Do warstwy wierzchniej metalu lub stopu można wprowadzić atomy gazu szlachetnego - kryptonu - metodą dyfuzyjną lub metodą implantacji. Głębokość, na jaką wnika krypton w materiał, jest z reguły mała i wynosi 100÷1000 nm (niekiedy 104 nm). Stężenie wprowadzonego kryptonu jest niewielkie, ale wystarczająco duże, aby przy wykorzystaniu izotopu promieniotwórczego 85Kr otrzymać materiał znakowany nadający się do pomiarów radiometrycznych.
Dyfuzja kryptonu do metali i ich stopów może być zrealizowana w temperaturze ok. 300÷600°C pod ciśnieniem ok. 1,0 MPa z gazowego źródła dyfuzji. Ze względu na dość wysoką temperaturę dyfuzji metoda ta nie znajduje zastosowania w odniesieniu do tworzyw konstrukcyjnych (zmiana struktury tworzywa).
Implantacja jonów kryptonu do badanego tworzywa (temperatura implantacji 100°C) polega na bombardowaniu tego tworzywa jonami kryptonu o dużej prędkości. Metoda ta znalazła zastosowanie do oznaczenia temperatury „powierzchni" badanych elementów. Praktycznie jest to maksymalna temperatura warstwy badanego elementu o grubości, na jaką wniknął krypton.
Krypton należy do gazów szlachetnych i mimo, że trudno jest jednoznacznie wskazać jakimi siłami jest on związany z metalem, to uzyskane ciało stałe, w które wprowadzono atomy 85Kr tzw. kryptonaty, wykazują pewne charakterystyczne własności. Przede wszystkim kryptonat jest praktycznie trwały w temperaturze pokojowej. Spadek stężenia kryptonu w metalach i ich Stopach występuje dopiero w temperaturze wyższej. Przyczyny trwałości kryptonatów były przedmiotem licznych badań. Leck wykazał, że siły wiążące krypton w metalu są dużo większe od sił Van der Waalsa.
Niektórzy autorzy sugerują, że krypton zajmuje położenie między płaszczyznami sieci krystalicznej metalu. Koncepcja ta, podobnie jak przypuszczenie, że krypton zajmuje położenia międzywęzłowe w sieci jest mało prawdopodobne ze względu na dużą średnicę atomu kryptonu (> 0,3 nm). Można więc przypuszczać, że krypton zajmuje wakanse w sieci krystalicznej metalu. Prawdopodobieństwo obsadzenia przez krypton węzła w sieci rośnie ze wzrostem ilości wakansów, a więc i ze wzrostem temperatury. Równocześnie rośnie jednak energia atomu kryptonu i może on łatwiej opuścić węzeł; wzrasta też prawdopodobieństwo jego dyfuzji w inne położenie na podstawie teorii kołowego mechanizmu zamienno-węzłowego. Biorąc powyższe pod uwagę dla każdej temperatury może istnieć pewna równowaga dynamiczna odpowiadająca określonej liczbie wakansów obsadzonych przez atomy kryptonu. Wzrost temperatury sprzyja początkowo wzrostowi ilości wakansów i ułatwia ich obsadzenie, lecz również sprzyja ucieczce kryptonu z metalu. Ponieważ powierzchnia kryptonatu pozostaje w kontakcie z atmosferą nie zawierającą kryptonu i w związku z tym brak jest równoważnego ciśnienia parcjalnego, pewna liczba atomów kryptonu będzie z tej powierzchni desorbować. Desorpcję przyspiesza wzrost temperatury i dlatego też kryptonaty nadają się do zastosowania jako wskaźniki temperatury, gdyż zmiana stężenia kryptonu jest funkcją temperatury. Im wyższa temperatura, tym atomy kryptonu będą intensywniej desorbować z kryptonatu. Ponieważ izotop 85Kr ma korzystne własności jądrowe (T½ = 10,3 lat, Emax = 0,68 Me V), więc zmiany jego zawartości w kryptonatach można wyznaczyć radiometrycznie.
Pomiar temperatury prowadzi się w następujący sposób. Badaną próbkę (część maszyny) wygrzewa się podwyższając temperaturę np. co 5°C lub 10°C od temperatury niższej od przewidywanej temperatury wytwarzanej w procesie tarcia. Czas wygrzewania wynosi ok. 30 min. Każdorazowo próbka jest ochładzana do temperatury otoczenia. Następnie wykonuje się pomiar częstotliwości zliczeń za pomocą licznika Geigera-Müllera. Zgodnie z własnościami kryptonatów po przekroczeniu temperatury najwyższej, w jakiej znajdowała się próbka w procesie tarcia, następuje gwałtowny spadek aktywności próbki (rys. 9.24). Innymi słowy punkt
Rys. 9.24. Wykres kalibracyjny służący do wyznaczenia temperatury t, elementu maszyny na podstawie zmiany promieniowego izotopu 85Kr

przecięcia prostych C1 i C2 wyznacza mierzoną temperaturę. Błąd wyznaczenia temperatury wynosi ± 5%.

Do wad ograniczających stosowanie tej metody należą:
- konieczność doboru czasu i warunków pracy skojarzenia, przy których wartość zużycia nie przekroczy głębokości zalegania izotopu 85Kr w badanym materiale,
- długi czas trwania pomiarów, na który składają się czas pomiarów i czas wygrzewania,
- niemożliwość szybkich rejestracji wpływu różnych parametrów na stan obciążenia cieplnego badanego skojarzenia.

Do zalet metody należy zaliczyć: możliwość wyznaczenia maksymalnej temperatury wytwarzanej w procesie tarcia skojarzeń zabudowanych i ruchomych o skomplikowanej kinematyce, np. jednoczesny ruch obrotowy i postępowo zwrotny.

    

9.4. Pomiar temperatury za pomocą wskaźników temperatury i termowizji

Jeżeli jest możliwe naniesienie wskaźników temperatury na powierzchnię niepracującą w bliskiej odległości od powierzchni tarcia, to do określenia temperatury można stosować następujące wskaźniki: polikrystaliczny proszek diamentowy napromieniowany w reaktorze atomowym lub pokrycie termoczułe, np. kredki i farby termoczułe.
Pomiar temperatury za pomocą proszku diamentowego napromieniowanego w reaktorze atomowym związany jest zmianą jego właściwości przy podgrzewaniu. Stała sieci krystalicznej napromieniowanego diamentu ulega zwiększeniu o około 7% i zachowuje się stabilnie w temperaturze wyższej od pokojowej. Innymi słowy przez napromieniowanie wprowadza się defekty sieci krystalicznej diamentu. Im wyższa temperatura i czas wygrzewania tak przygotowanego znacznika, tym większa liczba defektów zanika i sieć krystaliczna diamentu dąży do zachowania stanu początkowego. Przed przystąpieniem do pomiaru temperatury należy przeprowadzić wzorcowanie napromieniowanego proszku diamentowego i wykonać wykresy zmiany objętości siatki krystalicznej w funkcji czasu, przyjmując temperaturę wygrzewania za parametr. Zakres mierzonej temperatury za pomocą proszku diamentowego wynosi 100÷1000°C. Błąd pomiaru nie przekracza ±5°C (przy dokładnym wzorcowaniu próbek). Pomiar stałej sieci krystalicznej wykonuje się metodami rentgenowskimi.
Pomiar temperatury za pomocą pokryć termoczułych polega na tym, że pokrycia te (farby, kredki) zmieniają gwałtownie barwę przy przekroczeniu pewnej określonej wartości temperatury. Za pomocą farb i kredek termoczułych można określić rozkład temperatury na powierzchni oraz wyznaczyć izotermy natychmiast po ostygnięciu przedmiotu. Zakres pomiaru temperatury przy stosowaniu kredek firmy Faber-Castell wynosi 65÷670°C, a farb 40÷1350°C. Dokładność pomiaru ±5°C. Do wad tych metod należy zaliczyć to, że mierzymy bezpośrednio temperaturę wytworzoną w warstwie wierzchniej badanego skojarzenia. W celu oceny temperatury powierzchni tarcia należy znać gradient temperatury w warstwie wierzchniej powstały w wyniku tarcia. Wymienione metody można stosować w badaniach eksploatacyjnych i modelowych w celu szybkiej orientacyjnej oceny temperatury pracy albo trudnodostępnego, albo też o skomplikowanej kinematyce badanego skojarzenia.
Wszystkie ciała o temperaturze wyższej od 0°K (-273°C) emitują niewidzialne promieniowanie w zakresie podczerwieni. Pomiary temperatury metodą termowizji są oparte na przetwarzaniu promieniowania podczerwonego (emitowanego z badanej powierzchni tarcia) na obraz widzialny. Promieniowanie podczerwone pada na układ optyczny kamery i jest następnie kierowane na fotoczułą powierzchnię detektora. Detektor przetwarza promieniowanie podczerwone na - proporcjonalne do mocy - sygnały elektryczne, kierowane z kolei do układu elektronicznego, gdzie zostają wzmocnione i przekazane do układu odczytującego (kineskop) lub rejestrującego (magnetowid). Do zalet termowizji należy zaliczyć: niezaburzenie pola temperatury powierzchni przez sam pomiar temperatury, szeroki zakres pomiaru od -30°C do +2000°C przy dokładności poniżej 1°C, niezależność pomiarów od odległości od badanej powierzchni, otrzymywanie izoterm rozkładu temperatury bezpośrednio na obrazie. Zasadniczą wadą termowizji jest możność pomiaru temperatury tylko powierzchni bezpośrednio obserwowanych przez kamerę.
    

9.5. Ilościowe metody badania zużycia

Stosowane metody badania zużycia umożliwiają ocenę względnej odporności materiałów na zużycie. Wartość zużycia, a w niektórych przypadkach i intensywność zużywania, można ocenić za pomocą następujących metod ilościowych: wagowej, metrycznej, sztucznych baz, profilografowania, pneumatycznego pomiaru mikrometrycznego, pomiaru ciśnienia i natężenia przepływu płynów przepływających przez szczelinę między trącymi elementami, czujników dynamometrów puszkowych, czujników indukcyjnych, pomiarów tensometrycznych i izotopów promieniotwórczych.

9.5.1. Pomiar zużycia metodą wagową

Metoda wagowa polega na ważeniu badanej próbki przed i po próbie pracy. Różnica masy próbki, odniesiona do drogi tarcia, pracy tarcia albo czasu pracy skojarzenia, przedstawia średnią intensywność zużywania materiałów współpracujących. Masę próbki mierzy się z dokładnością uzależnioną od konstrukcji wagi. Do ujemnych cech metody wagowej należy niemożność ciągłej rejestracji ubytku masy badanej próbki oraz niemożność oceny stopnia równomierności ubytku masy próbki na całej powierzchni badanej. Metody wagowej nie można stosować bez demontażu badanych elementów. Ponowny montaż powoduje docieranie współpracujących elementów, a więc różną intensywność zużywania skojarzenia przed i po demontażu. Do oceny zużycia elementów o znacznych masach metoda wagowa nie jest stosowana ze względu na konstrukcję wag (pomiar stosunkowo małej masy produktów zużycia w odniesieniu do znacznej masy badanego elementu). Często metoda wagowa jest stosowana jako metoda kontrolna lub wzorcująca inne metody badania zużycia.

9.5.2. Pomiar zużycia metodą metryczną

Metryczna metoda pomiaru zużycia, nazywana popularnie „mikrometrażem", oparta jest na pomiarze wymiaru liniowego elementu badanego przed jego zużyciem i po określonym etapie zużycia. Dokładność mechanicznych narzędzi pomiarowych (suwmiarka, mikrometr, pasametr, średnicówka) jest niezbyt duża. Stosując optyczne przyrządy pomiarowe (np. mikroskopy warsztatowe) można uzyskać dokładność rzędu ułamków mikrometra. Do wad metody metrycznej należy zaliczyć; trudność pomiaru nierównomierności zużycia na całej badanej powierzchni, konieczność stosowania bazy odniesienia, niemożność określenia rozkładu ubytków na przeciwległych powierzchniach (np. wewnętrzne wymiary tulei cylindrów lub zewnętrzne wymiary czopów wału), trudności w utrzymaniu stałej temperatury mierzonego elementu przed i po próbie, jak i narzędzia pomiarowego, błędy wynikające ze zmiennego kontaktu końcówki pomiarowej z powierzchnią mierzoną.

9.5.3. Pomiar zużycia metodą profilografowania

Pomiar zużycia metodą profilografowania polega na wykonaniu profilogramu badanej powierzchni przed i po próbie, a następnie porównaniu ich. Przy małych wartościach zużycia zarysy tych samych wklęsłości są niezmienne na profilogramach, a występy nierówności zmieniają swoją wysokość. Określając odchylenie linii występów nierówności od linii wklęsłości otrzymujemy wartość zużycia. Przy dużych wartościach zużycia przekraczających wielkość początkowych nierówności elementów współpracujących, konieczne jest zachowanie na badanych próbkach bazy odniesienia (powierzchnia nie pracująca), względem której jest oceniana wartość zużycia. Metoda profilografowania powierzchni tarcia umożliwia dość dokładne odtworzenie rozkładu zużycia elementów maszyn na całej powierzchni tarcia. Profilografowanie może być prowadzone również w ograniczonym obszarze powierzchni tarcia. Profilogramy wykonuje się prostopadle do kierunku tarcia. Dokładność pomiaru zużycia (liniowego) metodą profilografowania przy stosowaniu profilogramów mechanicznych wynosi do około 19 µm przy stosowaniu profilografów optycznych do około 0,2 µm. Wadami tej metody jest: ograniczony obszar profilografowania, konieczność użycia bazy odniesienia, trudność dokładnego odczytu wartości ubytku liniowego badanej powierzchni, trudność profilografowania powierzchni o złożonych kształtach geometrycznych.
Profilografowanie powierzchni tarcia odtwarza zarys nierówności, z których można wnioskować o intensywności zużycia poszczególnych obszarów trących powierzchni. Całkowity ubytek liniowy powierzchni tarcia można mierzyć za pomocą profilografu, całkując pole zawarte pod profilogramem i porównując je z analogicznym polem powierzchni przed jej zużyciem.

9.5.4. Pomiar zużycia metodą sztucznych baz

Badanie zużycia elementów maszyn za pomocą metody sztucznych baz polega na pomiarze przed i po zużyciu wymiarów wytworzonego w badanej warstwie wierzchniej wgłębienia o określonym kształcie i głębokości. Wgłębienie (sztuczna baza) można nanosić różnymi metodami. Wierzchołek (dno) wgłębienia jest punktem odniesienia pomiaru zużycia. Przy pomiarach odczytuje się średnicę lub przekątną sztucznej bazy. Z odpowiednich zależności między tymi wymiarami a głębokością odcisku oblicza się ubytek materiału badanego elementu maszyny. Odpowiednio rozmieszczone sztuczne bazy umożliwiają dość dokładne określenie zużycia liniowego na całej powierzchni tarcia. Liczba i wymiary sztucznych baz powinny być tak dobrane, aby nie skażały badań. W praktyce stosuje się dwa sposoby nanoszenia sztucznych baz, a mianowicie:
- odciski penetratora zagłębionego w badaną powierzchnię (piramidka Vickersa, Knoopa, kula Brinella itp.),
- wgłębienia wykrawane za pomocą specjalnych przyrządów o określonych kształtach i wymiarach.

Dokładność metody sztucznych baz jest tym większa im większy jest stosunek mierzonej długości sztucznej bazy do jej głębokości. W przypadku nanoszenia sztucznych baz przez wciskanie penetratora, wyniki badań są skażone wskutek spęczenia materiału wokół odcisku oraz w wyniku odkształcenia plastycznego i umocnienia materiału w otoczeniu odcisku (rys. 9.25). Spęczanie materiału wokół odcisku
Rys. 9.25. Spęczenie materiału wokół sztucznej bazy naniesionej piramidką Vickersa;
d0- wartość przekątnej odczytana po naniesieniu odcisku,
d - wartość przekątnej odczytana po zużyciu,
h - głębokość odcisku,
hmax - wysokość spęczenia

powoduje wzrost błędu pomiaru zużycia liniowego wskutek dokonania odczytu wartości przekątnej nie w płaszczyźnie badanego elementu, lecz w płaszczyźnie nieco wyższej. Płaszczyzna ta leży nad płaszczyzną tarcia, w odległości równej wartości wysokości, a spęczenie metalu w obszarze przekątnej odcinka, leżącej wyżej o Δhs. Wielkość Δhs, może uzyskiwać wartości od kilku mikrometrów do paru setnych milimetra. Usunięcie spęcznienia może sugerować istnienie zużycia, mimo że powierzchnia tarcia między odciskami nie została jeszcze naruszona. Styk powierzchni tarcia istnieje wyłącznie na obszarach spęcznienia materiału wokół odcisków. Z powyższych względów przed przystąpieniem do badania zużycia należy spęczenie

Rys. 9.26. Kształt odcisku wykonanego piramidką Vickersa:
    a) widok z boku,
    b) widok z góry

Rys. 9.27. Schemat odcisku wykonanego piramidką Knoopa:
    a) widok z boku,
    b) widok z góry

usunąć przez zastosowania szlifowania, wygładzania papierem ściernym lub innej obróbki mechanicznej. Na rys. 9.26 i 9.27 przedstawiono schematycznie odciski wykonane piramidkami Vickersa i Knoopa.

Głębokość odcisku wykonanego piramidką Vickersa (o podstawie kwadratowej) można wyrazić wzorem
h = 1
23/2 tg (α/2)
d (9.36)

przy czym dla piramidki Vickersa o kącie α = 136°
h = d
7

Głębokość odcisku wykonanego piramidką Knoopa (o podstawie romboidalnej) dla β = 172°30' i g = 130° wyraża wzór
h = 1
2 tg (β/2)
l = 1
2 tg (g / 2)
b (9.37)

Zużycie liniowe Δh powierzchni płaskiej okres'la się z różnicy głębokości odcisków przed i po zakończeniu procesu zużycia
h = h1 - h2 = 1
m
( d1 - d2 ) (9.38)

gdzie: h1 - głębokość odcisku przed badaniem, h2 - głębokość odcisku po badaniu, d1 - długość przekątnej piramidy przed badaniem, d2 - długość przekątnej piramidy po badaniu, m - stała zależna od rodzaju penetratora.

Dla piramidki Knoopa o kącie α = 136°
h = 1
7
( d1 - d2 )

Dla piramidki Knoopa o kącie β = 172°30' i g = 130°
h = 1
30,514
( l1 - l2 ) = 1
4,289
( b1 - b2 ) (9.39)

gdzie: l1,2, b1,2 - oznaczenia zgodne z rys. 9.26 i 9.27.

Zużycie liniowe powierzchni cylindrycznych określa wzór
h = d1 - d2
m
± d1² - d2²
8R
(9.40)

gdzie: znak + odnosi się do powierzchni wypukłej, znak - odnosi się do powierzchni wklęsłej, R - promień cylindra.

Przy nanoszeniu odcisku należy zachować prostopadłość osi znacznika do badanej powierzchni.
Innym sposobem wykonania sztucznych baz jest napunktowanie badanego miejsca punktakiem o kącie wierzchołkowym 120-140°.
Zużycie liniowe oblicza się ze wzoru
h = 0,5 Δ d tg (90 - α /2 ) (9.41)

gdzie: Δd - zmiana średnicy odcisku, α - kąt wierzchołkowy stożka punktaka.

Metoda sztucznych baz, oparta na wciskaniu wgłębników, umożliwia pomiar zużycia z dokładnością dziesiątych części mikrometra. Nie należy jednak zapominać o błędzie pomiaru wynikającym ze spęczenia materiału wokół bazy. Stosowanie odcisków Knoopa znacznie zmniejsza spęczenie materiału wokół odcisku i zwiększa dokładność pomiarów zużycia.
Błąd powodowany spęczaniem materiału wokół odcisków można zupełnie wyeliminować stosując wykrawanie materiału przy wykonaniu sztucznej bazy. Do wykonania sztucznych baz przez wykrawanie stosuje się specjalny przyrząd UPOI-6, który składa się z zestawu elementów do wykrawania sztucznych baz i mikroskopu oraz uchwytów wymiennych, zamocowujących przyrząd do badanego elementu. Mikroskop powiększa 50 x. Sztuczne bazy można nanosić za pomocą przyrządu UPOI-6 na powierzchnie wklęsłe o średnicy nie mniejszej niż 70 mm. Głębokość sztucznej bazy może zmieniać się w zakresie 0,033÷0,13 mm. Przyrząd umożliwia nanoszenie sztucznych baz na powierzchniach płaskich, krzywoliniowych, wypukłych i wklęsłych. Za pomocą mikroskopu mierzy się długość i określa położenie baz na badanej powierzchni. Wartość zużycia oblicza się na podstawie różnicy długości cięciw mierzonych przed i po zakończeniu procesu zużycia. Z pomiaru długości cięciwy / (rys. 9.28) oblicza się głębokość sztucznej bazy h posługując się uproszczonymi wzorami.
Rys. 9.28. Podstawowe wielkości geometryczne do pomiaru głębokości sztucznej bazy przyrządem UPOI-6 na powierzchni płaskiej;
1 - piramidka,
2 - materiał poddawany zużyciu,
3 - sztuczna baza

Głębokość sztucznej bazy w powierzchni płaskiej
h = l ²
8 R
(9.42a)

w powierzchni wklęsłej
h = l ²
8
( 1
r
- 1
R
) (9.42b)

w powierzchni wypukłej
h = l ²
8
( 1
r
+ 1
R
) (9.42c)

gdzie: r - promień okręgu odcinka kołowego naciętego ostrzem noża aparatu UPOI-6, R - promień krzywizny powierzchni, na której nacięto bazę, l - długość cięciwy, h - głębokość sztucznej bazy.

Przybliżone zużycie liniowe badanej próbki o powierzchni płaskiej
h = h1 - h2 = 0,125 l1² - l2²
r
(9.43)

oraz próbki o powierzchni zakrzywionej
h = h1 - h2 = 0,125 ( l1² - l2² ) ( 1
r
± 1
R
) może ± !!!??(9.44)

gdzie: znak + dotyczy powierzchni wypukłych, znak - dotyczy powierzchni wklęsłych.

Sztuczna baza powinna być usytuowana prostopadle do kierunku tarcia danego elementu w celu uniknięcia błędów pomiarowych spowodowanych rysami, które ewentualnie mogą powstać w procesie tarcia. Pomiar zużycia metodą sztucznych baz może być stosowany w badaniach laboratoryjnych i eksploatacyjnych.

9.5.5. Pomiar zużycia za pomocą pneumatycznego pomiaru mikrometrycznego

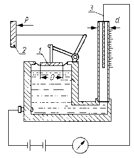
Zasada działania mikrometru pneumatycznego jest następująca: Sprężone powietrze o ciśnieniu h0, wpływa do cylindra przez otwór 7 (rys. 9.29) i wypływa przez otwór 2. W przestrzeni pomiędzy otworami l i 2 ustala się ciśnienie hc będące funkcją wielkości powierzchni otworów.

Rys. 9.29. Schemat mikrometru pneumatycznego;
    1 - otwór wlotowy,
    2 - otwór wylotowy,
    3 - ścianka

Rys. 9.30. Schemat mikrometru pneumatycznego

Jeżeli do otworu 2 zbliżymy ściankę 3, to ciśnienie w cylindrze będzie wzrastać, a przy oddalaniu ścianki będzie maleć, czyli zmiana odległości d między ścianką 3 a otworem 2 daje taki sam efekt, jak bezpośrednia zmiana przekroju otworu 2. Tak więc, po zmianie ciśnienia powietrza w cylindrze można sądzić o zmianie odległości między ścianką 3 a otworem 2, a przez to o wartości zużycia ścianki.

Budowę przyrządu przedstawiono schematycznie na rys. 9.30. Sprężone powietrze wtłaczane jest do pionowego zbiornika przez króciec połączony z rurką 1, która jest zanurzona na głębokość H. Zbiornik 2 spełnia rolę regulatora ciśnienia. Przestrzeń nad wodą jest połączona z atmosferą za pomocą rurki wlewowej 3. W rurce 1 istnieje stałe ciśnienie ustalone przez regulowany poziom wody w zbiorniku. Powietrze przepływa przez dyszę G do komory 4 i dalej, przez dyszę S i rurkę 6 umieszczoną w pewnej odległości od badanego elementu 7, wypływa do atmosfery. Komora jest połączona szklaną rurką 5 z dolną częścią zbiornika. Rurka spełnia więc rolę manometru mierzącego ciśnienie h w komorze. Ciśnienie w manometrze będzie zmieniało się w zależności od wielkości natężenia przepływu powietrza przez szczelinę d, a więc zmiana szczeliny d (zużycie) może być mierzona bezpośrednio na skali umieszczonej na rurce 5 wywzorcowanej w setnych lub tysięcznych częściach milimetra.
Rozpatrzyliśmy tutaj tylko zasadę działania mikrometru pneumatycznego. Za pomocą jednej dyszy pomiarowej nie można badać kinetyki zużycia ilościowego, dlatego też w rzeczywistych układach pomiarowych zużycia stosuje się trzy i więcej dysz pomiarowych. Spowodowane jest to nierównomiernością zużycia badanej próbki, jak również przy dużych wartościach zużycia - pokrywaniem się całkowitego zakresu zużycia w taki sposób, że górny przedział pomiaru zużycia pierwszej dyszy pokrywa się z dolnym przedziałem pomiaru zużycia drugiej dyszy itd. Z literatury wynika, że mikrometrem pneumatycznym można badać zużycie z dokładnością do 0,1 µm w zakresie 0÷60 µm.
Do zalet pneumatycznego pomiaru należą: bezstykowy pomiar zużycia dokonywany w sposób ciągły, możliwość automatycznej rejestracji zużycia, wysoką czułość. Do wad zalicza się natomiast duże gabaryty oprzyrządowania, możliwość zabrudzenia dysz, co wpływa na dokładność pomiaru, parowanie wody ze zbiornika, a więc trudności w utrzymaniu odpowiedniej wysokości ciśnienia H, utrzymanie w stanie suchym powierzchni próbki znajdującej się w polu działania dyszy, gdyż obecność np. wody, oleju wprowadza dodatkowe błędy pomiaru, brak możliwości kompensacji wpływu temperatury próbki na pomiar zużycia.

9.5.6. Pomiar zużycia za pomocą pomiaru ciśnienia i natężenia przepływu płynów przepływających przez szczelinę między trącymi elementami

Metoda oceny zużycia skojarzeń trących przez pomiar ciśnienia i natężenia przepływu płynów przepływających przez szczelinę jest oparta na zasadzie badania szczelności cylindrów silników spalinowych. Na rys. 9.31 przedstawiono schemat urządzenia do badania zużycia.
Rys. 9.31. Schemat urządzenia do pomiaru zużycia;
1 - zawór,
2 - zbiornik,
3 - manometr rejestrujący,
4, 5 - próbki

Ciecz robocza jest podawana do zbiornika, skąd przepływa między powierzchnie trących próbek. Po uzyskaniu określonego ciśnienia w zbiorniku zawór odcina dopływ cieczy roboczej i w tym czasie skojarzenie trące jest wprawione w ruch. Kryterium oceny zużycia jest spadek ciśnienia pierwotnego, panującego w zbiorniku, rejestrowanego przez samopiszący manometr w ciągu określonego czasu. Wadą tego typu rozwiązania jest zmiana ciśnienia w zbiorniku wpływająca na wartość natężenia wypływu cieczy roboczej przez szczelinę powstającą w procesie tarcia. Na rys. 9.32 przedstawiono schemat urządzenia eliminującego tę niedokładność przez obniżenie czułości pomiaru. Ciecz robocza pod stałym ciśnieniem jest dostarczana - przez przewód oraz otwór z regulowanym przekrojem między trące się powierzchnie próbek. Manometr zapisuje zmiany ciśnienia w układzie. Warunkiem koniecznym poprawnej pracy układu jest, aby natężenie przepływu cieczy roboczej Q przepływającej przez otwór było mniejsze od sumy natężeń przepływu q i cieczy wypływającej przez szczeliny powstałe między trącymi powierzchniami.

Rys. 9.32. Schemat urządzenia do pomiaru zużycia;
    1 - przewód,
    2 - manometr kontrolny,
    3 - manometr rejestrujący,
    4, 5 - próbki,
    6 - otwór o zmiennym przekroju

Rys. 9.33. Urządzenie do pomiaru zużycia za pomocą przepływu cieczy;
    1 - przewód,
    2 - manometr kontrolny,
    3 - przepływomierz,
    4, 5 - próbki,
    6 - dysza pomiarowa,

Im większa będzie ta różnica tym układ pomiarowy jest czulszy. Przy braku szczelin między trącymi powierzchniami manometr będzie wskazywał ciśnienie w przewodzie 7. W miarę zużywania się próbek szczelina będzie się zwiększała i nastąpi spadek ciśnienia na otworze rejestrowany przez manometr.

Po wywzorcowaniu układu można oceniać zużycie trących się elementów. Pomiar zużycia w omówionych układach opierał się na rejestracji zmian ciśnienia cieczy roboczej. Na rys. 9.33 przedstawiono schemat układu, w którym zużycie jest oceniane przez pomiar natężenia przepływu cieczy roboczej. Ciecz robocza pod stałym ciśnieniem jest dostarczona przewodem między trące się powierzchnie. W przewód jest podłączony przepływomierz. Wraz ze zmianą szczeliny powstającej w procesie tarcia między próbkami zmienia się natężenie przepływu cieczy roboczej rejestrowane przez przepływomierz, odwzorowywując wartość zużycia badanego skojarzenia.
Przedstawione schematycznie metody oceny zużycia charakteryzują się wysoką czułością, prostotą i niezawodnością. Do wad tych metod należy zaliczyć: nieprzydatność przy badaniu zużycia materiałów porowatych wysokoplastycznych, obniżenie dokładności metody, gdy nie zapewnia się należytego odprowadzenia produktów zużycia ze szczeliny między trącymi się elementami, niemożliwość wyeliminowania w każdym badanym skojarzeniu wpływu rozszerzalności cieplnej.

9.5.7. Pomiar zużycia za pomocą czujników zegarowych

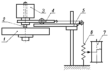
W zależności od wymaganej dokładności pomiaru i wartości zużycia, pomiaru można dokonać za pomocą czujników zegarowych. Na rys. 9.34 przedstawiono zasadę pomiaru zużycia na stanowisku do badania tarcia przy ruchu postępowo-zwrotnym. Próbka jest dociskana do przeciwpróbki, która porusza się ruchem postępowo-zwrotnym. W czasie zużywania próbki obejma w której jest zamocowana próbka wraz z próbką obniża się, a wartość przemieszczenia jest mierzona przez pierwszy czujnik. Zużycie przeciwpróbki mierzy drugi czujnik. Czujnik pierwszy mierzy sumaryczne zużycie, a więc różnica wskazań między czujnikami jest miarą zużycia próbki.
Na rys. 9.35 przedstawiono schematycznie pomiar zużycia czopa bez jego demontażu z maszyny badawczej. Na maszynie obok czopa zainstalowano urządzenie składające się z podstawy, suportu wzdłużnego, wspornika i czujnika pomiarowego. W konstrukcji czopa przewidziano dwie niepracujące powierzchnie a i b (rys. 9.36). Trzpień czujnika zegarowego ustawia się z napięciem wstępnym na powierzchni a w punkcie l, a skalę czujnika nastawia się w położenie zerowe.

Rys. 9.34. Urządzenie do pomiaru zużycia w ruchu postępowo-zwrotnym za pomocą czujników zegarowych;
    1, 2 - próbka i przeciwpróbka,
    3, 4 - czujniki zegarowe,
    5 - obejma

Rys. 9.35. Urządzenie do pomiaru zużycia czopa;
    1 - podstawa,
    2 - suport wzdłużny,
    3 - czop,
    4 - wspornik,
    5 - czujnik pomiarowy

Rys. 9.36. Rozmieszczenie punktów pomiarowych przy badaniu zużycia czopa;
1, 2, 3, 4, 5 -rozmieszczenie punktów na długości,
I, II - rozmieszczenie punktów na obwodzie

Następnie dokonuje się pomiarów zużycia w punktach 2, 3, 4 oraz w dwóch wzajemnie prostopadłych płaszczyznach I-II i II-II. Punkt 5 jest punktem kontrolnym. Jednoznaczność położeń czujnika w punktach 2, 3 i 4 zapewnia śruba mikrometryczna suportu, a w płaszczyznach I i II - specjalny ustalacz położeń. Różnica we wskazaniach czujnika w punktach 2, 3 i 4 przed i po badaniach jest miarą liniowego zużycia czopa.

9.5.8. Pomiar zużycia za pomocą dynamometrów puszkowych

Do pomiaru zużycia z dużą dokładnością, w czasie trwania procesu tarcia, można wykorzystać dynamometr puszkowy. Na rys. 9.37 przedstawiono zasadę działania układu pomiarowego. Próbka 2 systemem dźwigni jest połączona z membraną dynamometru, którego korpus stanowią naczynia połączone wypełnione rtęcią. W naczyniu o mniejszej średnicy D jest umieszczony drut 3 włączony w obwód elektryczny. W wyniku zużywania się próbki układ dźwigniowy oddziałuje na membranę i powoduje wzrost słupa rtęci w rurce o średnicy d, która to zmiana wywołuje zmianę rezystancji drutu.
Rys. 9.37. Urządzenie do pomiaru zużycia za pomocą dynamometru puszkowego;
1 - przepona,
2 - próbka,
3 - drut

Płynący w obwodzie prąd elektryczny ulega zmianie i jest rejestrowany przez oscylograf lub galwanometr. Dokładność pomiaru zużycia wynosi ±0,2 µm. Ustawiając odpowiednio drut 3 można prowadzić badania aż do uzyskania wymaganej wartości zużycia.

9.5.9. Pomiar zużycia za pomocą czujników indukcyjnych

Zasadę działania indukcyjnego czujnika do pomiarów zużycia przedstawiono na rys. 9.38. Zastosowanie tego typu czujnika umożliwia ciągłą rejestrację zużycia. Przemieszczenie próbki 4 w wyniku zużycia powoduje przesunięcie kotwicy 1, skutkiem czego zmieniają się szczeliny l1 i l2 wpływające na wartość współczynnika indukcji elektromagnesów 2 i 3 w układzie mostkowym.
    Rys. 9.38. Urządzenie do pomiaru zużycia za pomocą czujnika indukcyjnego;
    1 - kotwica,
    2, 3 - elektromagnesy,
    4 - próbka

Rejestracji zużycia dokonuje się za pomocą przyrządów wskazówkowych lub samopiszących. Najczęściej stosowane są czujniki różnicowe, które charakteryzują się dużą czułością.

Do zalet czujników indukcyjnych należą: wysoka dokładność pomiarów, porównywalna z dokładnością pomiarów optycznych, prostota urządzenia oraz duża jego trwałość i niezawodność, możliwość realizacji pomiarów zdalnych wraz z ich rejestracją, niski koszt urządzenia.
Do wad zaliczamy: złożoność schematów elektrycznych, wpływ zmian częstotliwości prądu przemiennego na wskazania czujnika, zależność wskazań od zewnętrznego pola magnetycznego temperatury napięcia zasilania sieci.

9.5.10. Pomiar zużycia za pomocą pomiarów tensometrycznych

Schemat pomiaru zużycia przedstawiono na rys. 9.38. Do obracającej się cylindrycznej próbki l jest dociskana przeciwpróbka zamocowana do belki. W miarę zużywania pary trącej belka przemieszcza się ku dołowi i powoduje odkształcenie belki tensometrycznej umieszczonej między podstawą a belką. Sygnał z tensometrów jest zapisywany przez rejestrator.

Rys. 9.39. Schemat urządzenia do pomiaru zużycia za pomocą tensometrów;
    1, 2-próbka i przeciwpróbka,
    3 - przegub,
    4 - belka,
    5 - belka tensometryczna,
    6 - aparatura rejestracyjna

Rys. 9.40. Schemat czujnika tensometrycznego do pomiaru zużycia;
    1 - sprężyna,
    2 - belka tensometryczna,
    3 - obudowa,
    4 - tensometry,
    5 - obejma,
    6 - sonda

Na rys. 9.40 przedstawiono przykład rozwiązania konstrukcyjnego czujnika tensometrycznego do pomiaru zużycia w sposób ciągły. Czujnik składa się z korpusu, który jest zamocowany za pomocą kątowników do nieruchomej powierzchni, belki tensometrycznej, sondy będącej w bezpośrednim kontakcie z badanym elementem sprężyny, za pomocą której jest ustalane wstępne napięcie belki tensometrycznej. Czujnik tensometryczny mierzy przemieszczenia spowodowane zużyciem badanych skojarzeń.
Zaletą tej metody pomiaru zużycia jest: wysoka dokładność pomiaru i możliwość zapisu zużycia w sposób ciągły.

9.5.11. Pomiar zużycia za pomocą izotopów promieniotwórczych

Metoda radioizotopowa pomiaru zużycia opiera się na tym, że aktywność substancji jest proporcjonalna do jej masy. Dlatego też znając aktywność substancji można wyznaczyć masę produktów zużycia. Jeżeli założymy, że substancja znakująca (znacznik) jest rozłożona proporcjonalnie w całej masie badanego elementu, to ilość produktów zużycia będzie proporcjonalna do masy substancji znakującej materiał danego elementu.
Określenie ilości izotopów promieniotwórczych, w badanym materiale jest bardzo ułatwione, gdyż wysyłają one promieniowanie jonizujące łatwo wykrywalne za pomocą prostych urządzeń. Tak więc zasada metody radioizotopowej sprowadza się do wprowadzenia do badanego elementu substancji znakującej, a następnie do określenia jej ilości w produktach zużycia lub ilości, która pozostała w badanym elemencie. Substancją znakującą nie musi być zawsze pierwiastek lub izotop promieniotwórczy. Może to być także taki składnik, który nie wpływając na właściwości materiału badanej części będzie charakterystyczny tylko dla niego. Dlatego też mamy dwa sposoby znakowania badanych elementów:
- wprowadzenie radioaktywnego znacznika podczas wykonywania części lub po jej wykonaniu, ale przed badaniem jej zużycia;
- wprowadzenie nieaktywnego znacznika do części przed jej badaniem, a następnie aktywowanie próbek pobranych podczas badania i dokonanie pomiaru ilości produktów zużycia przez pomiar aktywności znacznika; metoda ta wymaga jednak wyodrębnienia promieniowania znacznika, chemicznie, za pomocą spektrometru scyntylacyjnego.

9.5.11.1. Wybór radioizotopów

Jako promieniotwórcze substancje znakujące stosuje się radioizotopy naturalne (Ra, Po) lub sztuczne, wytworzone w wyniku reakcji jądrowych. Radioizotopy sztuczne ze względu na ich znaczną liczbę i różne właściwości są najczęściej stosowane. Podstawowymi właściwościami radioizotopów, stosowanych do badań zużycia, są:
- stała rozpadu λ lub okres połowicznego rozpadu T,
- rodzaj rozpadu i rodzaj promieniowania towarzyszącego rozpadowi,
- aktywność właściwa możliwa do uzyskania, tj. aktywność jednostki masy czystego radioizotopu lub pierwiastka zawierającego swój izotop.

Przy wyborze radioizotopów należy kierować się następującymi zasadami :
- Własności fizyczne i chemiczne radioizotopu powinny być takie same, jak jednego z pierwiastków wchodzących w skład badanych części. Radioizotop powinien równomiernie rozdzielać się na wystarczającą głębokość od powierzchni tarcia i nie tworzyć niekorzystnych połączeń chemicznych z metalami trących par.
- Najlepiej stosować radioizotopy o okresie połowicznego rozpadu rzędu kilku do kilkunastu dni. Praca z radioizotopami o krótkim okresie połowicznego rozpadu wymaga stosowania w czasie pomiarów poprawek na rozpad promieniotwórczy. Radioizotopy o długim okresie połowicznego rozpadu są niekorzystne z punktu widzenia ochrony radiologicznej.
-Jeżeli konieczne jest przeprowadzenie pomiaru zużycia przez np. ścianki rur obiegu olejowego, to niezbędne jest zastosowanie radioizotopu emitującego promieniowanie y, w niektórych przypadkach twarde (wysokoenergetyczne) promieniowanie β. W przypadku dokonywania pomiaru aktywności próbek oleju lub smaru stałego wykorzystujemy emisję cząstek β lub γ.
Po wybraniu odpowiedniego radioizotopu należy obliczyć jego ilość potrzebną do rejestrowania zużycia z odpowiednią dokładnością. Najmniejsza ilość rejestrowanych impulsów powinna przekraczać co najmniej dwukrotnie tło promieniowania panującego w pomieszczeniu badawczym.

9.5.11.2. Metody wprowadzania znaczników promieniotwórczych do badanych elementów

W celu badania zużycia stosuje się następujące metody wprowadzania znaczników:
- wprowadzenie radioizotopu do materiału badanej części podczas topienia metalu,
- aktywowanie gotowej części przez napromieniowanie strumieniem neutronów w reaktorze jądro wy m,
- aktywowanie gotowej części przez napromieniowanie strumieniem protonów w akceleratorze liniowym,
- naniesienie radioizotopu na powierzchnię badaną elektrolitycznie lub przez dyfuzję,
- wstawienie w badaną część radioaktywnych wkładek.

9.5.11.3. Wprowadzenie radioizotopu do stopionego metalu

Przy wykonywaniu próbek do badań laboratoryjnych, zwłaszcza ze stopów łożyskowych, stosuje się wprowadzenie znacznika, do stopionego metalu. Zasadniczą zaletą tej metody jest równomierne rozłożenie radioizotopu w całej objętości, co pozwala na dokładne badanie procesu zużycia. Ilość wprowadzonego izotopu powinna być mała, aby praktycznie nie spowodowała zmiany własności stopu. W większości przypadków wprowadza się do stopu radioizotop jednego z pierwiastków wchodzących w jego skład. Dla spełnienia warunku równomiernego rozłożenia znacznika w całej masie stopu, należy dobierać go w ten sposób, aby tworzył on roztwory stałe z metalem stanowiącym osnowę stopu.
I tak np. stale należy znaczyć radioizotopami żelaza lub też radioizotopami takich pierwiastków, które łatwo rozpuszczają się w żelazie, jak: mangan, nikiel, chrom, itp. W stopach miedzi należy posługiwać się radioizotopami miedzi 64Cu lub też pierwiastków tworzących roztwory stałe, a więc np. izotopami cyny, cynku, srebra. Sposób wprowadzania radioizotopów w postaci metalicznej lub też w postaci związku znaczonego zależy od własności radioizotopu stanowiącego znacznik, tj. od temperatury topnienia, prężności par itp.
Izotopy Sn, Zn, Ag można wprowadzić w postaci metali do roztopionego w tyglu brązu lub miedzi. Przed zalewaniem form należy zawartość tygla dokładnie wymieszać. Również bezpośrednio można wprowadzić izotop kobaltu do stali lub żeliwa. Cynk należy zawinąć uprzednio w cienką folię miedzianą, umieścić na dnie tygla i po wlaniu ciekłego metalu dokładnie zawartość wymieszać. Radioaktywne izotopy o niskiej temperaturze topnienia nie tworzące roztworów stałych, a także izotopy o dużej aktywności właściwej, w celu uzyskania ich równomiernego rozkładu w całej objętości stopu i zmniejszenia strat na spalanie, należy wprowadzać w postaci „zaprawy". Tak np. przy wprowadzaniu fosforu w roztopione żeliwo lub brąz, stosuje się zaprawę w postaci żeliwa fosforowego lub miedzi fosforowej. Podobnie wprowadza się do stopów miedzi antymon.
Aktywność radioizotopową potrzebną do wprowadzenia do stopu wyznacza się ze wzoru
Ar = Ap mp
mr
(9.45)

gdzie: Ap - obliczona niezbędna aktywność próbki (odlewu) w mCi, mp - masa próbki w g, mr - masa radioaktywnego znacznika w g.

Przed przystąpieniem do badań należy sprawdzić równomierność stężenia radioizotopu w całej objętości odlewu stosując metodę rozpuszczenia lub metodę autoradiografii.
Metoda rozpuszczania polega na pobraniu z kilku miejsc odlewu próbek metalu o masie ok. 0,5 g, które następnie rozpuszcza się w kwasie azotowym, solnym lub wodzie królewskiej (zależnie od rodzaju materiału). Z otrzymanych roztworów sporządza się próbki i mierzy ich aktywność. Przy prawidłowym rozłożeniu radioizotopu pomiary aktywności próbek, wyrażone w imp/min, powinny różnić się od siebie nie więcej niż 2-4%.
W przypadku metody autoradiograficznej oprócz rozpatrywanego elementu odlewa się jednocześnie próbkę z tego samego wytopu. Na próbce wykonuje się zgłady metalograficzne, z których wykonuje się autoradiogramy. Na ich podstawie można ocenić równomierność stężenia rozkładu izotopu promieniotwórczego.

9.5.11.4. Aktywacja neutronowa przez napromieniowanie w reaktorze jądrowym

Jeżeli do badań zużycia przeznaczone są elementy o wielkości umożliwiającej włożenie ich do kanałów reaktora jądrowego, bardzo korzystne jest aktywowanie całej części w strumieniu neutronów. Izotopy promieniotwórcze powstają w materiale badanej części na skutek reakcji jądrowych, zachodzących pod wpływem bombardowania jąder atomów pierwiastków neutronami termicznymi. Ilość powstających radioaktywnych substancji, a ściślej mówiąc liczba wzbudzonych atomów znajdujących się w materiale badanych części, jest proporcjonalna do strumienia neutronów i czasu napromieniowania. Zależy ona również od właściwości jądrowych pierwiastków wchodzących w skład napromieniowanego stopu. Charakteryzuje je tzw. przekrój czynny na aktywację neutronami powolnymi, określany dla stabilnych izotopów promieniotwórczych pierwiastków wchodzących w skład stopu. Tak np. bombardując żelazo, które ma cztery izotopy promieniotwórcze stabilne, 54Fe, 56Fe, 57Fe, 58Fe, otrzymujemy na skutek reakcji jądrowych 54Fe (n, γ) 55Fe, i 58Fe (n, γ) 59Fe, tzn. dwa izotopy promieniotwórcze żelaza 55Fe i 59Fe. Każdy z izotopów promieniotwórczych rozpada się jednakże wg charakterystycznej dla niego stałej rozpadu. Dlatego też aktywność materiału badanej części, składającej się z wielu pierwiastków, będzie sumą aktywności wszystkich izotopów promieniotwórczych wchodzących w jej skład.
Aktywność właściwą próbki przy napromieniowaniu strumieniem neutronów oblicza się ze wzoru
mCi / g (9.46)

gdzie: σ - przekrój czynny na aktywację, Φ - natężenie strumienia neutronów w n/(cm². s), m - masa znacznika, w g, M - masa atomowa, T - okres połowicznego rozpadu (zaniku) w h, t - czas aktywacji w h, - poprawka związana ze zmianą aktywności materiału aktywującego w wyniku jego rozpadu promieniotwórczego w czasie aktywacji, - poprawka związana ze zmianą aktywności materiału aktywowanego w wyniku jego rozpadu promieniotwórczego w czasie aktywacji.

Ze wzoru wynika, że aktywność znacznika rośnie tylko do pewnej granicy (aktywność nasycenia). Dalszy wzrost czasu aktywacji r nie powoduje wzrostu aktywności części. Większość badanych części jest wykonana z materiału złożonego z wielu różnych pierwiastków (składniki stopowe, domieszki, zanieczyszczenia). Po napromieniowaniu powstaje kilka izotopów promieniotwórczych różniących się energią promieniowania oraz okresem połowicznego rozpadu (zaniku). Tak np. po napromieniowaniu stopu łożyskowego SnSbCu, tzw. białego metalu, strumieniem 5 • 1012 n/(cm²•s) w czasie t = 48 h, powstają izotopy promieniotwórcze 124Sb , 122Sb, 64Cu, 121Sn, 76As i inne. Poza 124Sb pozostałe izotopy promieniotwórcze mają krótkie okresy połowicznego rozpadu (zaniku) (w stosunku do 124Sb), tak że po upływie 7 tygodni schładzania aktywność tego pierwszego dominuje i wynosi około 99% całkowitej aktywności. Pomiary aktywności produktów zużycia można więc prowadzić w tym przypadku wykorzystując promieniowanie tylko jednego izotopu promieniotwórczego.
Jednak w wielu przypadkach w badanej części pozostaje więcej niż jeden izotop promieniotwórczy. W takim przypadku do obliczeń wyników należy stosować poprawkę na rozpad, określoną na podstawie próbek wzorcowych z tego samego materiału co badana część i razem z nią napromieniowanych. Przy stosowaniu tylko jednego izotopu promieniotwórczego gdy czas badań jest długi i wynosi więcej niż 1/10 okresu połowicznego rozpadu, należy do obliczeń wprowadzić poprawkę na rozpad promieniotwórczy

Przy wyborze aktywacji jako metody wprowadzania izotopów promieniotwórczych do badanych elementów należy wziąć pod uwagę podane niżej zjawiska.
Podczas napromieniowania neutronami elementów o dużych przekrojach występuje nierównomierna aktywność w różnych strefach materiału. Największa wartość występuje na powierzchni i maleje wraz z grubością części. W przypadku badania dużych części metoda napromieniowania w reaktorze jądrowym jest utrudniona i jednocześnie powoduje dużą aktywność całkowitą, co jest niepożądane. Wprawdzie istnieją metody umożliwiające tylko częściową aktywację dużych części, lecz są one dość skomplikowane i trudne. W takich przypadkach lepiej jest stosować inny rodzaj aktywacji.
Przy długotrwałym napromieniowaniu materiał zmienia swoje własności. Podwyższa się jego twardość i zmniejsza plastyczność. Mogą również w pewnych przypadkach występować przemiany fazowe. Należy jednak zaznaczyć, że wszystkie te zmiany zachodzą przy dużych dawkach neutronów rzadko stosowanych do aktywacji części badanych na zużycie. Metoda aktywacji przez napromieniowanie w reaktorze jądrowym jest bardzo wygodna, prosta i dlatego jest najczęściej stosowana.

9.5.11.5. Aktywacja protonowa przez napromieniowanie w akceleratorze liniowym

Podczas aktywacji neutronowej badany element maszyny aktywowany jest w całości. Całkowita aktywność elementu jest znaczna i może stwarzać duże trudności ze względu na przepisy ochrony radiologicznej. Dużą aktywność wybranej warstwy materiału elementu o grubości do 200 µm zapewnia napromieniowanie wiązką protonów w akceleratorze liniowym. Zaletą tego sposobu napromieniowania jest ponadto bardzo mała aktywność całkowita części w porównaniu z napromieniowaniem strumieniem neutronów, przy porównywalnej aktywności właściwej cząstek zużycia. Podstawowym pierwiastkiem występującym w większości elementów maszyn jest żelazo. Z jego czterech izotopów promieniotwórczych, występujących w naturalnej mieszaninie, mogą powstać na skutek reakcji z protonami o wysokich energiach izotopy promieniotwórcze kobaltu (55Co, 56Co, 57Co, 58Co).
Izotop promieniotwórczy 56Co jest podstawowym źródłem promieniowania emitowanego z warstwy wierzchniej elementów maszyn wykonanych ze stal' i żelaza, bombardowanych protonami. Powstające izotopy kobaltu teoretycznie zmieniają strukturę napromieniowanych elementów, ale ze względu na ich śladowe zawartości nie powodują zmian własności badanego elementu, które mogłyby wpływać na charakterystyki trybologiczne badanego materiału.
Aktywność właściwą próbki przy napromieniowaniu wiązką protonów oblicza się ze wzoru
A = 28 t S J µCi / cm² (9.47)

gdzie: t-czas aktywacji w h, S - powierzchnia napromieniowywana w cm², J - natężenie strumienia protonów w µCi.

Do zalet tej metody można zaliczyć możność aktywacji wybranych obszarów tarcia na dowolnie dużych powierzchniach i oznaczenia zużycia na podstawie pomiarów spadku promieniowania mierzonego na powierzchni tarcia.

9.5.11.6. Znakowanie powierzchni badanej części metodą elektrolityczną

Do badania zużycia części mających pokrycie elektrolityczne, a więc chromowanych. żelazowanych, indowanych itp., powierzchnię tarcia aktywuje się elektrolitycznie, W większości przypadków proces elektrolitycznego osadzania można prowadzić ogólnie przyjętymi sposobami przy użyciu normalnych elektrolitów, do których wprowadza się radioaktywne sole lub stosuje się radioaktywną anodę. Zaletą tej metody jest możność uzyskania wysokiego stężenia radioizotopu w cienkiej warstwie badanej części, a przez to uzyskania mniejszej aktywności całego elementu w porównaniu z pozostałą jego częścią napromieniowaną w reaktorze lub aktywowaną metalurgicznie.
Opracowano metody osadzenia elektrolitycznego izotopów promieniotwórczych, jak 114In, 110Ag, 51Cr, 35Zn, itp. Całkowita aktywność warstwy wierzchniej zależy od czasu osadzenia pokrycia i charakterystyki procesu galwanizacji oraz własności izotopu promieniotwórczego. Przyjmując, że stężenie metalu w elektrolicie (na skutek rozpuszczania się anody) i objętość elektrolitu zmieniają się nieznacznie, można obliczyć aktywność RzA kąpieli ze wzoru
A = Aw (h - λ )
h ( e-λ t - e-h t )
mCi (9.48)

przy czym
h = c S ρ
V q

gdzie: Aw - aktywność warstwy pokrycia w mCi, λ - stała rozpadu izotopu promieniotwórczego, t - czas osadzania metalu w s, c - intensywność osadzania metalu w mm/s, S - powierzchnia próbki lub części w mm², ρ - masa właściwa (gęstość) osadzanego metalu w g/cm³, V - objętość elektrolitu w dm³, q-stężenie metalu w elektrolicie w g/cm³.

9.5.11.7. Znakowanie części za pomocą wstawek radioaktywnych

Metoda znakowania elementów wstawkami radioaktywnymi wykazuje dużo zalet, jak: prosty sposób jej wykonania, możliwość znakowania pewnych wycinków powierzchni tarcia, uzyskanie dużej aktywności właściwej warstwy wierzchniej przy małej całkowitej aktywności elementu. Wstawki wykonuje się z tego samego metalu co badane elementy lub z materiału o podobnych własnościach fizykochemicznych i następnie aktywuje w reaktorze jądrowym. Kształt wstawek może być różny, jednak przeważnie są one cylindryczne o średnicy około l mm i długości od l÷1,5 mm. Na rys. 9.41 przedstawiono schemat umieszczania wstawek w powierzchniach tarcia panewek łożyska. W panewce wywiercono otwory o średnicy l mm
Rys. 9.41. Rozmieszczenie wstawek radioaktywnych w panewce łożyska

i głębokości l mm. Wstawki mają średnicę nieco mniejszą, aby je łatwo można było umieścić w otworze. Następnie wstawki spęczano i zaklepano w otworze. Jeśli badane części mają dużą twardość, to otwory pod wstawki wykonuje się metodą elektroiskrową. Otwory pod wstawki należy tak rozmieścić, aby nie naruszały wytrzymałości elementu. Ponieważ w procesie tarcia jest wytwarzane ciepło, dlatego też współczynnik rozszerzalności liniowej elementu i wstawki muszą być jednakowe. Aktywność właściwą materiału wstawek określa się ze wzoru
A = A0
n r F h
mCi (9.49)

gdzie: A0 - aktywność powierzchniowa obliczona w mCi, n - liczba wstawek, ρ - masa właściwa materiału wstawek w g/cm³, F- pole przekroju poprzecznego wstawki w cm², h - grubość warstwy startej z powierzchni części po określonym cyklu pracy, w mm.

Wybór liczby wstawek uzależnia się od równomierności zużywania warstwy wierzchniej. W celu obliczenia średniej wartości zużycia przy nierównomiernym zużywaniu należy liczbę wstawek powiększyć. Przy porównywaniu różnych metod aktywacji okazuje się, że metoda wstawek ma wiele zalet. Natomiast główną wadą jest niemożliwość oceny ilości przenoszonego materiału z jednej części na drugą.
Analizując przyjęte i znane metody znakowania należy stwierdzić, że najlepiej jest stosować aktywację przez napromieniowanie elementów neutronami w reaktorze jądrowym, a następnie napromieniowanie protonami w akceleratorze liniowym, aktywację za pomocą wstawek i przez wprowadzenie izotopu promieniotwórczego.
Metoda elektrolitycznego znakowania powierzchni nie znalazła zastosowania w szerszym zakresie ze względu na niemożność otrzymania warstwy o określonej grubości i o równomiernej aktywności.

9.5.11.8. Obliczanie minimalnej aktywności elementu badanego na zużycie

Jednym z głównych zagadnień metodyki badania zużycia przy stosowaniu atomów znaczonych jest dobranie odpowiedniej aktywności właściwej badanej powierzchni elementu. Istnieją w tym przypadku dwie przeciwstawne tendencje:
- z punktu widzenia czułości i dokładności pomiaru aktywność elementu powinna być jak największa,
- z punktu widzenia ochrony radiologicznej należy stosować możliwie małe aktywności.

Dlatego też za punkt wyjścia przy obliczaniu aktywności należy przyjąć taką prędkość liczenia cząstek lub kwantów emitowanych przez próbki oleju, zawierające cząstki metalu znaczonego izotopem promieniotwórczym, aby błąd statystyczny pomiaru był jak najmniejszy. Oznaczmy przez As aktywność warstwy metalu startej z badanego elementu w wyniku zużycia w czasie określonego cyklu pracy. W procesie tarcia większość produktów zużycia jest unoszona przez olej smarujący, a część osadzana na ściankach przewodów lub, jak np. w silnikach spalinowych, jest wydalana z gazami spalinowymi. W zależności od konstrukcji maszyn procent „straconych” cząstek zużycia może być większy lub mniejszy. W związku z tym aktywność oleju nie będzie wynosiła As, lecz A1
A1 = AsK1 (9.50)

gdzie K1 - współczynnik określający straty cząstek startych w wyniku zużycia.

Zakłada się również, że zużyty materiał z powierzchni tarcia badanego elementu rozdziela się równomiernie w całej objętości oleju. Ponieważ mierzy się tylko aktywność pewnej objętości oleju, zatem aktywność próbki oleju A2 wynosi
A2 = A1K2 = AsK1K2 (9.51)

gdzie: K2 = Vp/V0, Vp - objętość próbki oleju, V0 - całkowita objętość oleju znajdującego się w obiegu.

Najmniejsza dopuszczalna prędkość liczenia cząstek przy założonej dokładności pomiaru jest związana z aktywnością następującym wzorem
N = 22,2 • 10 8 A2 p η ω K3 imp/min (9.52)

gdzie: A2 - aktywność próbki oleju, w mCi, p - średnia liczba cząstek lub kwantów emitowanych przez izotop promieniotwórczy przypadająca na l rozpad promieniotwórczy, η - wydajność liczenia, ω - poprawka na kąt bryłowy uwzględniająca geometrię pomiaru, K3 - współczynnik krotności osłabienia promieniowania przez ścianki przewodów oleju lub ścianki naczynia pomiarowego.

Z powyższych wzorów wynika, że najmniejsza aktywność oleju, a przez to i warstwy startego materiału części w czasie założonego cyklu pracy, jest równa
As = N
22,2 • 10 8 p η ω K1 K2 K3
(9.53)

W powyższym wzorze wartość współczynnika K1 określającego straty cząstek zużycia jest przeważnie niemożliwa do dokładnego wyznaczenia i może być przyjęta jedynie w przybliżeniu. Pozostałe współczynniki K2 i K3, zależą jedynie od rodzaju promieniowania i własności jądrowych izotopu promieniotwórczego oraz od materiału i grubości przewodów oleju lub pojemników na próbki oleju. Zależnie od sposobu znakowania elementu, izotop promieniotwórczy jest rozłożony w całej jego objętości lub tylko na powierzchni tarcia pokrytej warstwą metalu naniesioną elektrolitycznie bądź dyfuzyjnie.

Oznaczając przez Δm najmniejszą masę startego metalu, która powinna być zarejestrowana w czasie badania zużycia, otrzymamy wzór na aktywność właściwą badanej warstwy stopu
A' = As
Δ m
= N
22,2 • 10 8 p η ω K1 K2 K3 Δ m
mCi/g (9.54)

Znając całkowitą masę elementu lub warstwy naniesionej na powierzchnię tarcia można obliczyć całkowitą jej aktywność
A = As m
Δ m
mCi

gdzie m - masa części badanej w g.

W ten sposób minimalna aktywność produktów zużycia badanego elementu jest wprost proporcjonalna do prędkości liczenia N cząsteczek β lub kwantów γ, przyjętej wg założonej dokładności pomiarów. Aktywność zależy następnie od typu promieniowania emitowanego przez radioaktywny znacznik, wydajności liczenia η, całkowitej νc i pomiarowej νp objętości oleju oraz od warunków pomiarowych i konstrukcji maszyny.
P rz y k ł a d. Wprowadzono do stopu łożyskowego izotop promieniotwórczy antymonu 124Sb. Metalem tym wylano łożysko ślizgowe. Masa wylanej warstwy m = 10 g. Objętość oleju w obiegu Vo = 5 dm³, a próbki pomiarowej Vp = 0,1 dm³ (2 = Vp/Vo). Czułość pomiaru zużycia zakłada się Δ m = 0,001 g. Przyjmujemy, że najmniejsza prędkość liczenia wynosi N = 200 imp/min oraz η = 0,12, p = 2,2, K = K1K2K3 = 0,3. Należy obliczyć aktywność właściwą A' warstwy stopu oraz całkowitą aktywność łożyska A.
Aktywność właściwa warstwy stopu
A' = As
Δ m
= N
22,2 • 10 8 p η ω K1 K2 K3 Δ m
= 0,06 mCi/g

Całkowita aktywność łożyska wynosi
A = A' m = 0,06•10 = 0,6 mCi

9.5.11.9. Znakowanie części maszyn za pomocą izotopów niepromieniotwórczych

Badanie zużycia elementów współpracujących przy zastosowaniu analizy aktywacyjnej jest możliwe wtedy, gdy w produktach zużycia badanej części występują pierwiastki odznaczające się dużym przekrojem czynnym na neutrony powolne, a nie występujące w innych częściach współpracujących. W metodzie tej oprócz znacznej różnicy między własnościami jąder pierwiastków znacznika a pozostałych pierwiastków układu, których przewaga ilościowa w stosunku do znacznika jest duża, niezbędna jest również w niektórych przypadkach różnica między własnościami chemicznymi obu grup pierwiastków. Po upływie stosunkowo krótkiego czasu aktywacji można uzyskać dostatecznie dużą aktywność badanych próbek oraz przy użyciu odpowiedniego nadmiaru nośnika nieaktywnego, podobnego chemicznie do oznaczanej substancji, wyodrębnić pierwiastki znakujące. Takie rozwiązanie zagadnienia pozwala wykonać pomiary aktywności bez użycia spektrometru scyntylacyjnego, aczkolwiek w wielu przypadkach przeprowadza się oznaczenie przez pomiar widma promieniowania gamma.
Jako substancję znakującą w przypadku stali i żeliwa stosuje się mieszaninę pierwiastków ziem rzadkich o składzie: 53% Ce, 22% La, 15% Nd, 3% Pr, 5% Sm, 1% Y. Zaletą stosowania tej mieszaniny jako znacznika jest to, że mieszanina ta jako składnik stopowy, stanowiący ilościowo ułamek procentu, nie zmienia własności badanego materiału i równomiernie się w nim rozkłada (równomierne stężenia). W wyniku zużycia cząstki z oznakowanego metalu przedostają się do oleju. Dla ułatwienia wydzielania tych cząstek olej rozcieńczony rozpuszczalnikiem o małej lepkości, co ułatwia odsączenia ich na sączku z bibuły. Cząstki te poddaje się aktywacji w reaktorze, a następnie wydziela się z nich mieszaninę znakującą przez chemiczne wytrącanie ze słabo kwaśnych roztworów szczawianów metali wchodzących w skład mieszaniny znakującej. Z kolei mierzy się ich aktywność, co umożliwia obliczenie wartości zużycia.
Wykonanie oznaczeń wymaga ścisłego sprecyzowania warunków aktywacji, tj. określenia optymalnej aktywności przy uwzględnieniu własności jąder aktywowanego układu i stosowania neutronów tak, aby aktywność znacznika była możliwie duża. Oprócz tego trzeba uwzględnić fakt, że wytrącenia szczawianów przeprowadza się co najmniej, w kilka godzin po wyjęciu próbek z reaktora, licząc czas potrzebny na transport i rozpuszczenie próbek oraz fakt, że pomiar aktywności przeprowadza się dopiero po upływie doby od strącenia osadu ze względu na konieczne jego starzenie.
sumie okres schładzania dochodzi do 30 godzin, a więc stanowi około 75% okresu połowicznego rozpadu aktywnej mieszaniny pierwiastków ziem rzadkich, wynoszącego około 40 godzin. Z punktu widzenia ochrony radiologicznej nie można zapominać o istnieniu aktywności pozostałych składników stali i żeliwa występujących w większej ilości niż znacznik. Jedynie silnie aktywujący się mangan w końcowej fazie oznaczenia wygasa; nie można jednak aktywności nie uwzględnić w pierwszych godzinach po wyjęciu próbki z reaktora.
Do pomiaru aktywności wyodrębnionych pierwiastków ziem rzadkich stosuje się liczniki na promieniowanie β, gdyż wszystkie silnie aktywujące się składniki mieszaniny są emiterami promieniowania β. W celu obliczenia zawartości pierwiastków ziem rzadkich w badanych próbkach wykonuje się względny pomiar aktywności, w odniesieniu do aktywności wzorca aktywowanego w tych samych warunkach.
Czułość opisanej metody, tj. najmniejsza masa mieszaniny pierwiastków ziem rzadkich dających się tą metodą oznaczyć, wynosi 5•10 -6 g. Wobec tego minimalna masa znaczonego stopu zawierającego 0,1% mieszaniny pierwiastków rzadkich wynosi 5•10 -2 g i zmniejsza się odpowiednio ze wzrostem zawartości pierwiastków ziem rzadkich w stopie. Optymalna wielokrotność nośnika nieaktywnego niezbędna do całkowitego strącenia szczawianów pierwiastków ziem rzadkich w próbkach stali i żeliwa o zawartości 0,1% pierwiastków ziem rzadkich wynosi 500. Straty zachodzące w operacjach chemicznych nie przekraczają 4%.

9.5.11.10. Metody pomiaru aktywności produktów zużycia

Jak już wspomniano ocena zużycia opiera się na obliczeniu zawartości radioaktywnych cząstek produktów zużycia, które znajdują się w czynniku stykającym się ze współpracującymi elementami maszyn. Stosowane są dwa zasadnicze sposoby dokonywania pomiarów:
- pierwszy polega na okresowym pobieraniu próbek (np. oleju) z układu,
- drugi polega na ciągłej rejestracji zmian aktywności w obiegu smarującym lub chłodzącym.

Okresowe pobieranie próbek ma wielu przeciwników, którzy twierdzą, że cząstki zużytego materiału, zmywane z powierzchni tarcia współpracujących ze sobą elementów mają różne wymiary i w związku z tym uzyskanie równomiernego wymieszania ich w oleju w pobieranych próbkach jest praktycznie niemożliwe. Mimo tych i innych zarzutów sposób ten jest w wielu przypadkach jedyny m możliwym sposobem przeprowadzenia pomiarów, chociażby wiązało się to z obniżeniem dokładności pomiaru, np. przy badaniach zużycia elementów smarowanych smarem plastycznym lub stałym.

Przy ciągłych pomiarach aktywności cząstek zużycia w zamkniętych układach duże znaczenie ma rozwiązanie konstrukcyjne układu i zlokalizowanie czujników-liczników promieniowania. W zasadzie można rozróżnić badania: laboratoryjne i eksploatacyjne.
Najczęściej stosowanymi licznikami są liczniki Geiger-Müllera oraz liczniki scyntylacyjne. Dobór rodzaju licznika zależy od rodzaju promieniowania, jego energii i stanu fizycznego próbki. Liczniki Geigera-Müllera znalazły zastosowanie do pomiaru promieniowania β, rzadziej do pomiaru promieniowania γ ze względu na małą wydajność rzędu 0,6÷1%. Liczniki scyntylacyjne są obecnie uznane za najlepsze detektory promieniowania γ. Wydajność liczenia kwantów γ jest dosyć duża i dochodzi do 40%. Liczniki scyntylacyjne oprócz rejestrowania ilości kwantów pozwalają przy użyciu analizatorów wysokości impulsów określić widmo promieniowania, a przez to identyfikować izotopy promieniotwórcze będące źródłem tego promieniowania. Do wad tych detektorów należy zaliczyć ich czułość na podwyższenie i zmiany temperatury pracy liczników. W urządzeniach pomiarowych należy więc stosować chłodnice mające na celu zachowanie stałości temperatury pracy licznika.
Aktywność mierzonych próbek można obliczyć na podstawie odpowiednich wzorów, ale ze względu na trudności i niedokładności w ocenie współczynników poprawkowych na wydajność liczenia detektora i wydajność geometryczną liczenia, pomiaru aktywności dokonuje się wykorzystując wzorce aktywności. Przy aktywowaniu części maszyny (próbki), np. przez napromieniowanie strumieniem neutronów w reaktorze jądrowym aktywuje się jednocześnie materiał badanej części (najczęściej w postaci proszku). Z materiału tego wykonuje się wzorce, których aktywność mierzy się w tych samych warunkach co i olej smarujący, zawierający produkty zużycia. Znając masę materiału we wzorcu i jej aktywność wyrażoną w impulsach na minutę, wyznacza się zależność między masą cząstek zużycia mz a zmierzoną aktywnością oleju Aol zawierającego produkty zużycia-imp/min.
mz = mwz
Awz
Aol

gdzie: mwz - masa wzorcowa w g, Awz - aktywność wzorcowa w imp/min.

Zwykle cechowanie przeprowadza się na podstawie pomiarów kilku wzorców, dzięki czemu zwiększa się dokładność wyznaczenia wartości zużycia i wówczas




mz =

mwz
Awz
Aol

k
(9.55)

gdzie k - liczba wzorców o tej samej masie.

Często wyniki pomiarów wzorców przedstawia się w postaci wykresu - krzywej wzorcowania (rys. 9.42). Umożliwia to wyznaczenie wartości zużycia w dowolnym okresie pracy maszyny.

     Rys. 9.42. Wykres cechowania układu do pomiaru zużycia

Podczas prowadzenia pomiarów metodą okresowego odbioru próbek oleju wykonanie wzorców do wzorcowania jest czynnością nieskomplikowaną. Aktywowany proszek o określonej masie rozpuszcza się i z otrzymanego roztworu wykonuje się pewną liczbę próbek o różnej zawartości materiału, lecz o tej samej objętości (przez dopełnienie wodą destylowaną), jaką mają odbierane próbki oleju.
Podczas prowadzenia pomiarów metodą ciągłej rejestracji oleju krążącego w zamkniętym obiegu oleju wzorcowania przeprowadza się w następujący sposób. Jeśli wymiary ziarn proszku są tego samego rzędu co produktów zużycia, to można go w określonej masie wprowadzić w układ olejenia maszyny (przed rozpoczęciem badań zużycia) i wyznaczyć zależność między ilością zużytego materiału o aktywnością krążącego oleju (imp/min). Sposób powyższy jest obarczony znacznym błędem wynikającym z nierównomiernego wymieszania proszku w oleju.
W celu uzyskania wzorców do wzorcowania w takiej postaci, aby tworzyły one jednorodny roztwór w oleju, wymaga się wykonywania wielu zabiegów chemicznych. I tak na przykład dla przygotowania wzorców zawierających izotop promieniotwórczy 59Fe metal należy rozpuścić w stężonym HCl, a następnie kwaśny roztwór utlenić H2O2 i odparować. Powstały osad należy wymieszać w 100 ml wody, dodając 75 ml CCl4 oraz roztwór 165-nmol, naftenianu potasu - w 50 ml alkoholu izopropylowego. Powstały naftenian żelaza należy ekstrahować w CCl4, oddzielić, a następnie wymieszać z olejem. Dla prawidłowego wyznaczania zużycia konieczne jest, aby prędkość liczenia wzorców mieściła się w granicach rzeczywistych prędkości liczenia próbek oleju.
Przy stosowaniu innych metod aktywacji elementów niż napromieniowanie w reaktorze jądrowym i akceleratorze liniowym, próbki materiału przeznaczone na wzorce należy aktywować w tych samych warunkach co badane elementy. I tak jeśli radioaktywny metal nanosi się na powierzchnię elementu metodą elektrolityczną, to jednocześnie aktywuje się małą próbkę tego metalu, z której następnie wykonuje się wzorce. Jeśli izotop wprowadza się do badanego elementu w czasie jego odlewania i stwierdza się, np. autoradiograficznie równomierność jego rozkładu, to wystarczy odciąć kawałek metalu w celu wykonania wzorców. Prawidłowe i dokładne wykonanie wzorców zapewni właściwy pomiar wartości zużycia.
    

9.6. Maszyny do badań trybologicznych

W celu zbadania wartości współczynników tarcia różnych kojarzonych materiałów oraz wartości i intensywności zużywania w zależności od charakteru środowiska i warunków pracy, wykonuje się specjalne maszyny do trybologicznych badań modelowych.
Liczba maszyn wyprodukowana przez różne instytucje badawcze jest duża. Uzyskane wyniki badań na tych maszynach mogą być umowną miarą odporności na zużycie danego skojarzenia w odniesieniu do konkretnych przyszłych warunków pracy maszyny oraz miarą sprawności mechanicznej węzła kinematycznego wykonanego z badanych materiałów.
Wybór maszyny do badań trybologicznych jest uzależniony od następujących warunków:
- kinematyki ruchu współpracujących elementów maszyn,
- dynamiki obciążenia kojarzonych elementów maszyn,
- geometrii styku trących elementów maszyn,
- rodzaju tarcia uwzględniającego smarowanie i chłodzenie,
- wymiarów kojarzonych elementów maszyn.

W celu zunifikowania parametrów oceny odporności na zużycie oraz wartości współczynników tarcia materiałów stosuje się maszyny klasyfikowane według kryteriów podanych niżej.

9.6.1. Kryteria klasyfikacji maszyn do badań trybologicznych

Dotychczas nie ma w dziedzinie badań trybologicznych norm dotyczących pomiaru tarcia i zużycia, kształtów i wymiarów próbek i przeciwpróbek, a przede wszystkim norm maszyn badawczych. Kryterium klasyfikacji maszyn badawczych jest cel badań uwzględniający warunki eksploatacji skojarzeń utworzonych z badanych materiałów w rzeczywistych maszynach. Ze względu na cel badań rozróżnia się trzy rodzaje maszyn badawczych:
- Maszyny do badania tarcia i zużycia według dowolnie programowanych warunków (np. w próżni, w atmosferze gazów obojętnych, w podwyższonej lub obniżonej temperaturze). Maszyny te umożliwiają przeprowadzanie badań podstawowych, zwłaszcza z zakresu fizycznych praw tarcia i zużycia skojarzeń trących. Można za pomocą nich ustalić wpływ poszczególnych czynników na wartość oporów tarcia i intensywność zużywania trących elementów maszyn.
- Maszyny do badania tarcia i zużycia elementów w warunkach zbliżonych do rzeczywistych warunków eksploatacji maszyn, do których dobrano materiały na podstawie wyników badań na danej maszynie.
- Maszyny uniwersalne do badania tarcia i zużycia w dowolnych warunkach. Maszyny te umożliwiają programowanie obciążeń, prędkości i atmosfery otaczającego środowiska.

Przy normalizacji maszyn do badania tarcia i zużycia uwzględnia się rodzaje tarcia tylko w zależności od ilości i jakości czynnika smarującego w badanym skojarzeniu, a mianowicie: tarcie suche, tarcie graniczne, tarcie mieszane i tarcie płynne. Substancja pośrednicząca między trącymi elementami maszyn może być w stanie stałym, ciekłym lub gazowym.
Konstruowana maszyna do badania tarcia i zużycia powinna zapewnić uzyskanie wymaganego rodzaju tarcia między próbką i przeciwpróbką, a więc powinna zapewnić wymagany rodzaj ruchu trącego skojarzenia oraz utrzymać odpowiednie prędkości i przyspieszenia. W zasadzie istnieje współpraca elementów maszyn przemieszczających się względem siebie ruchem tocznym lub ślizgowym. Mogą również występować połączenia wszystkich rodzajów ruchu. Maszyna powinna umożliwić realizację odpowiedniego rodzaju ruchu w sposób ciągły lub okresowy (postępowo-zwrotny lub oscylacyjny).
Kryterium klasyfikacji maszyn z punktu widzenia dynamiki obciążenia powinno uwzględniać wartości nacisków jednostkowych i rodzaj obciążenia (stałe, zmienne lub udarowe).
W zależności od rozwiązania konstrukcyjnego mechanizmu obciążającego rzeczywiste naciski jednostkowe mogą być stałe lub zmienne. Mechanizm obciążający może realizować naciski w trącej parze poprzez układ mechaniczny (sprężyna, ciężar), hydrauliczny, pneumatyczny lub magnetyczny.
Niezależnie od kinematyki ruchu i dynamiki obciążenia maszyna powinna umożliwić realizację takiego rodzaju tarcia, który wywoła przewidziany rodzaj zużycia. Jeśli maszyna ma zapewnić badania, których celem jest poznanie samego procesu tarcia i zużycia, wtedy kryterium klasyfikacji maszyn badawczych z punktu widzenia rodzaju zużycia jest bardzo istotne. Natomiast przy badaniach tarcia i zużycia odwzorowujących warunki eksploatacji maszyna badawcza musi zapewnić tylko dominujący wpływ badanego rodzaju zużycia.
Na przykład przy badaniu odporności na zużycie ścierne materiałów okazało się, że wykonane elementy maszyny uległy również nieznacznemu zużyciu korozyjnemu. W badaniach ten drugi rodzaj zużycia można pominąć, aby ułatwić interpretację wyników badań.
Makrogeometria styku badanego skojarzenia jest istotną cechą konstrukcyjną maszyn do mierzenia wartości współczynnika tarcia i intensywności zużywania. Najczęściej spotyka się następującą makrogeometrię styku próbki z przeciwpróbką:
- powierzchnia wypukła z powierzchnią płaską (walec z powierzchnią płaską, kula z powierzchnią płaską),
- powierzchnia płaska z powierzchnią płaską,
- powierzchnia wypukła z powierzchnią wypukłą lub wklęsłą (walec z walcem, przy czym oba walce mogą mieć krzywizny dodatnie lub jeden dodatnią a drugi ujemną, kula z kulą, przy czym również obie kule mogą mieć krzywizny dodatnie lub jedna dodatnią a druga ujemną, stożek z walcem itd.).

Tablica 9.5. Cechy charakterystyczne spotykanych typów maszyn do badania tarcia i zużycia

Cechy maszyny

 

Typ maszyny

Rodzaj
ruchu
Geometria stykuKształt próbkiKształt przeciwpróbkiSposób obcią­żeniaNacisk podczas badańWarunki tarciaWarunki wymiany ciepła
To
cze
nie
ślizganiepła sz czy zna walec
-
płasz
czy
zna
wa
lec
wa
lec
in
ny
klo
cek
pła
ski
klocek
wal
cowy
krą
żek
tu
le
ja
in
ny
klocek
płaski
krą
żek
tul
eja
tar
cza
in
ny
cię
żar
em
nap.
sprę
żyna
sta
ły
zmie
nny
tar
cie
su
che
tarcie
w
obec
ności
smaru
tar
cie
ście
rne
wy miana
z
otocze
niem
chło
dzenie
zew
nęt
rzne
chło
dzenie
wew
nęt
rzne
cią
gły
okre
sowy
Czterokulowa ++ ++++++
Amsler+++++++++++++
Timken++++++++
Almen-Wieland
Skoda-Savin++++++++
Falex+++++++++
KEWAT-1+++++++++++
KEWAT-2+++++++++
KEWAT-3+++++++++++
KEWAT-4++++++++
KEWAT-5+++++++
KEWAT-6++++++++
KRWAT-1+++++++++
Trzy rolki++++++++++
Rolka-tarcza+++++++++
SBOP+++++++++
Do badania łożysk ślizgowych++++++++
Krzywka popychacz++++++++++
Do badania pittingu+++++++
Brinell+++++++++
Beidebrock+++++++++
Mohr i Federhoff+++++++++
SAE++++++++++
Niederbing++++++++++++
Koch++++++++
Heiness Piwowarski Spindell+++++++++++++++
KE2+++++++
KE3+++++++++
KE4++++++++
Barwell Strong+++++++++++++
MS1, MS2++++++++++
Susuki+++++++++++
Siebel-Kehl+++++++++
Zygmunt+++++++++
KE1++++++++

    
Osie kojarzonych próbek z przeciwpróbkami mogą być równolegle lub zwichrowane. Na rys. 9.43 pokazano przykłady spotykanych skojarzeń próbki z przeciwpróbką wg makrogeometrii styku:
-grupa I-styk powierzchniowy, skojarzenia: 5, 6, 7, 9, 10, 11,
- grupa II-styk liniowy, skojarzenia: l, 2, 3, 4, 8,
-grupa III-styk punktowy, skojarzenia: 12, 13, 14, 15, 16, 17.
Rys. 9.43. Geometria styku próbki z przeciwpróbką w różnych maszynach tarciowych:
a) walce z płaszczyzną płaską,
b) płaszczyzna płaska z płaszczyzną płaską,
c) walec z walcem,
d) kula z kulą,
e) stożek z walcem,
f) kula z płaszczyzną płaską

Podany podział jest uzasadniony teoretycznie, ponieważ w rzeczywistych warunkach pracy skojarzenia zawsze występuje styk powierzchniowy, gdyż zachodzą sprężyste lub nawet plastyczne odkształcenia powierzchni styku.
Intensywność odprowadzenia ciepła od trących powierzchni warunkuje rodzaj zużycia. W maszynach do badania tarcia i zużycia stosowane są następujące sposoby odprowadzania ciepła:
- naturalna wymiana ciepła między trącymi powierzchniami a otoczeniem,
- odprowadzanie ciepła od trących powierzchni przez płyn chłodzący omywający te powierzchnie,
- odprowadzanie ciepła od trących powierzchni przez płyn chłodzący przepływający wewnątrz próbki lub przeciwpróbki, ale nie omywający powierzchni trących.

Na podstawie podanych kryteriów podziału maszyn do badania tarcia i zużycia, podano przykłady w tabl. 9.5 zaklasyfikowania niektórych z tych maszyn.
Możliwości pomiaru wartości siły tarcia, zużycia, intensywności zużywania i temperatury w obszarach styku trących powierzchni są uzależnione od rodzaju maszyny badawczej. W większości maszyny badawcze umożliwiają pomiar siły tarcia i całkowitego zużycia, rzadziej natomiast można za pomocą maszyn dokonywać ciągłego pomiaru intensywności zużywania oraz temperatury na powierzchni tarcia. Wartości siły tarcia i zużycia oraz intensywność zużywania i temperatury w obszarach styku trących powierzchni można mierzyć metodami omówionymi poprzednio.

9.6.2. Charakterystyki i budowa niektórych maszyn do badań trybologicznych

9.6.2.1. Maszyna czterokulowa do badań trybologicznych

Maszyna czterokulowa służy do pomiaru trwałości warstwy oleju między trącymi elementami tocznymi oraz do pomiaru wartości momentu tarcia. Schemat działania maszyny przedstawiono na rys. 9.44. Elementami badawczymi są cztery kule każda o średnicy 12,7 mm, wykonane ze stali łożyskowej o twardości
Rys. 9.44. Maszyna czterokulowa do badania tarcia granicznego:
a) skojarzenie cierne - cztery kule w miseczce olejowej,
b) schemat maszyny;

1-silnik napędzający,
2-kulka górna,
3-kulki dolne,
4-miseczka z badanym olejem,
5-termostat

62,66 HRC. Trzy kule są umieszczone w miseczce na stałe, a czwarta - zamocowana w uchwycie jest do nich dociskana siłą normalną. Kula zamocowana w uchwycie obraca się wraz z nim prędkością 1500 obr/min, odpowiadającą prędkości tarcia 0,55 m/s. Obciążenie normalne dociskające kule może wynosić do 12 000 N. Miarą jakości badanego oleju są średnice śladu zużycia na powierzchniach trzech nieruchomych kul w czasie jednej minuty. Wartość obciążenia normalnego, przy którym następuje gwałtowny wzrost momentu tarcia i wielkości śladów zużycia, jest miarą smarności badanego oleju. Na maszynie czterokulowej można prowadzić badania olejów w temperaturach podwyższonych (do +300°C) i niskich (do -40°C).

9.6.2.2. Maszyna typu Amsler do badań trybologicznych

Na rys. 9.45 podano schemat maszyny do badań trybologicznych typu Amsler.
Charakterystyka maszyny:
- prędkość obrotowa próbki - 200 lub 400 obr/min,
- prędkość obrotowa przeciwpróbki - 60-120 obr/min,
- średnica zewnętrzna próbki - 30-50 mm,
- średnica zewnętrzna przeciwpróbki - 30-50 mm,
- szerokość próbki i przeciwpróbki - 10 mm,
- badany rodzaj tarcia - toczne, ślizgowe, toczno-ślizgowe,
- układ obciążający - sprężyna o sile nacisku O -250° N,
- regulacja obciążenia - ciągła,
- charakterystyka obciążenia - statyczna,
- układ pomiarowy momentu tarcia - dynamometr wahadłowy,
- pomiar temperatury - termoparą.
Moment tarcia próbki o przeciwpróbkę jest równoważony momentem napędowym silnika, zwiększonym przez przekładnię obiegową (planetarną), z którą jest związana wahadłowa dźwignia. Na dźwignię nakłada się przeciwwagi, których ciężar jest zależny od mierzonej wartości momentu tarcia. Z wychylającą się dźwignią jest połączona dźwigienka integratora powodująca przesuwanie kółeczka licznika integratora na odpowiednią średnicę tarczy, odpowiadającą danej wartości momentu tarcia.
Prędkość obrotowa tarczy jest zsynchronizowana z prędkością obrotową przeciwpróbki za pomocą przekładni ślimakowych. Na dźwigience jest umieszczony pisak, który kreśli przebieg wartości momentu tarcia. Natomiast integrator całkuje pracę tarcia. Wskazania licznika integratora są podstawą do obliczenia współczynnika tarcia. Wykresy momentów tarcia służą do sprawdzenia wyników obliczeń współczynników tarcia.

9.6.2.3. Maszyna typu Timken do badań trybologicznych

Maszyna ta służy do pomiaru trwałości warstwy oleju między trącymi elementami ślizgowymi oraz do pomiaru wartości współczynnika tarcia. Schemat maszyny pokazano na rys. 9.46.
Rys. 9.45. Maszyna Amslera do badania tarcia i zużycia:
a) schemat,
b) przekrój wzdłużny;

1 - rejestrator pracy tarcia,
2 - rejestrator momentu tarcia,
3 - obciążenie dynamometru wahadłowego,
4 - próbka,
5 - przeciwpróbka,
6 - licznik sumujący,
7 - skala obciążenia,
8 - nawrotnica obrotów,
9 - sprężyna obciążająca przeciwpróbkę,
10 - mimośród ruchu poziomego,
11 -mimośród ruchu pionowego

Elementami badawczymi są pierścień i klocek o wymiarach 12,7 x 12,7 x 19 mm, wykonane ze stali o twardości 60÷62 HRC. Prędkość obrotowa pierścienia wynosi 500, 750, 1000 i 1500 obr/min, a odpowiadające prędkości poślizgu trącego skojarzenia 0,92, 1,37, 1,84 i 2,74 m/s. Płytka jest dociskana do wirującego pierścienia siłą w zakresie 50-1000 N. Powierzchnie tarcia są pokrywane substancją smarującą, w której łożysko jest zanurzone.
Miarą smarności badanego oleju jest ubytek (zużycie) materiału klocka w zadanym czasie badań. Mierzy się jednocześnie wartość momentu tarcia i na tej podstawie wnioskuje o trwałości warstwy smarnej. Uzyskane wyniki badań mogą służyć do wstępnej oceny oleju stosowanego do smarowania przekładni zębatych.
Rys. 9.46. Maszyna Timkena do badania tarcia i zażycia:
a) system dźwigni;
1 - próbka,
2 - przeciwpróbka (pierścień),
3 - dźwignia obciążająca,
4 - poziomnica,
5 - kołek ustalający,
6 - dźwignia rejestrująca moment tarcia,
Pdzw - ciężar dźwigni obciążającej,
Pobc - obciążenie na dźwigni obciążającej,
Prej - obciążenie na dźwigni rejestrującej moment tarcia;
b) schemat maszyny
1 - pierścień testowy,
2 - bloczek testowy,
3 - termometr,
4 - zbiornik oleju,
5 - grzejnik elektryczny,
6 - wrzeciono,
7 - sprzęgło napędu pompy olejowej,
8 - zawór regulacji przepływu oleju,
9 - dźwignia obciążania,
10 - dźwignia rejestrująca moment tarcia

Bardziej dokładne wyniki badań jakości oleju stosowanego do smarowania przekładni zębatej uzyskuje się na specjalnych maszynach odwzorowujących pracę danej przekładni zębatej, np. maszyna SBOP (rys. 9.70).

9.6.2.4. Maszyna typu Almen-Wieland do badań tarcia granicznego

Maszyna tego typu służy do pomiaru wartości współczynnika tarcia granicznego i trwałości warstwy oleju między trącymi elementarni. Schemat współpracy elementów badanych przedstawiono na rys. 9.47. Elementami badanymi są: wałek o średnicy 6,35 mm oraz dwie półpanewki dociskane siłą 500-30 000 N do obracającego wałka z prędkością obrotową 200 obr/min (prędkość poślizgu 0,066 m/s). Półpanewki są dociskane siłą wzrastającą co 30 s o 500 N. Powierzchnie trące są pokrywane badaną substancją smarną. W przypadku przerwania warstwy granicznej następuje zatarcie badanego skojarzenia. W wyniku tego rośnie wartość momentu tarcia, powodując urwanie (ukręcenie) badanego wałka w miejscu naciętego na nim karbu.
Rys. 9.47. Skojarzenie cierne (próbka i przeciwpróbki) maszyny Almen-Wieland

Na podstawie wartości obciążenia półpanewek, przy którym następuje zacieranie skojarzenia, wnioskuje się o trwałości warstwy granicznej badanej substancji smarnej.

9.6.2.5. Maszyna typu Skoda-Savin do badań trybologicznych

Maszyna ta jest przeznaczona do prowadzenia szybkich prób na ścieranie. Schemat maszyny pokazano na rys. 9.48.
    Rys. 9.48. Schemat maszyny Skoda-Savin do badania tarcia i zużycia;
    l - długość śladu zużycia,
    h - głębokość śladu zużycia

Charakterystyka maszyny:
- prędkość obrotowa przeciwpróbki - regulowana prędkością obrotową silnika,
- naciski jednostkowe - regulowane ciężarkami,
-powierzchnia tarcia próbki-zmienna (rośnie ze wzrostem zużycia),
- układ obciążający - ciężarowy,
- charakter obciążenia - stałe,
- układ pomiarowy momentu tarcia - nie ma,
- chłodzenie - czynnikiem w stanie płynnym,
- ośrodek tarcia - dwuchromian potasu.

Na urządzeniu typu Skoda-Savin może być badana próbka cylindryczna lub płaska, krążkiem widiowym o średnicy 30 mm i grubości 2,5 mm dociskanym stałym obciążeniem. Krążek jest ułożyskowany w jarzmie prowadzonym za pomocą dźwigni w prowadnicach i napędzany przez wał od silnika elektrycznego o regulowanej prędkości obrotowej. Pomiaru zużycia dokonuje się za pomocą mikroskopu optycznego (odczyt szerokości l rowka).
Czynnikiem chłodzącym i smarującym jest dwuchromian potasu (K2Cr2O7 )rozpuszczony w wodzie destylowanej (dla stali, żeliwa, brązu - 0,5-proc. roztwór). Nacisk krążka na badany materiał, prędkość obwodową i łączną liczbę obrotów (czas badania) ustala się dla każdego przypadku badań. Na ogół dla materiałów o małej twardości stosuje się większą prędkość i mały nacisk na krążek oraz krótszy czas badań.

9.6.2.6. Maszyna typu Falex do badania tarcia granicznego

Maszyna służy do pomiaru trwałości warstwy oleju między trącymi elementami oraz do pomiaru wartości współczynnika tarcia i wartości zużycia sworznia. Schemat współpracy elementów badanych maszyny Falex przedstawiono na rys. 9.49. Do
Rys. 9.49. Współpracujące elementy tarciowe maszyny Falex

obracającego się wałka są dociskane dwie szczęki z siłą od O do 20 400 N. Prędkość obrotowa wałka jest stała i wynosi 300 obr/min, co odpowiada prędkości tarcia 0,1 m/s. Powierzchnie trące są smarowane badaną substancją. Trwałość warstwy bada się zwiększając stopniowo obciążenie dociskające trące elementy.

Często do badania tarcia i zużycia stosuje się specjalne maszyny, za pomocą których bada się określone skojarzenie materiałów przy danej dynamice obciążenia, kinematyce ruchu i rodzaju środka smarowego, odpowiadających elementowi maszyny, na który wyniki badań mają być przenoszone.

9.6.2.7. Maszyna typu K.EWAT-1 do badań trybologicznych

W maszynie tej odbywa się ruch postępowo-zwrotny, w czasie którego płaska próbka podlega tarciu o płaską przeciwpróbkę. Obciążenie w czasie jednego suwu może być stałe lub zmienne, sterowane przez odpowiedni profil krzywki. Schemat tej maszyny przedstawiono na rys. 9.50.
Charakterystyka maszyny:
- próbka sterowana profilem krzywki mechanizmu mimośrodowego jest dociskana prostopadle do przeciwpróbki,
- prędkość przeciwpróbki 0,25 -4 m/s,
Rys. 9.50. Schemat maszyny KEWAT-1 do badania tarcia i zużycia;
1 - mechanizm mimośrodowy regulacji nacisku normalnego badanych próbek,
2 - sprężyna dociskowa,
3 - prowadzenie suwadła łożyska,
4 - przeciwpróbka,
5 - próbka,
6 - napęd układu korbowego,
7 - napinacz łańcucha

- nacisk jednostkowy 0,02÷100 MPa,
- powierzchnia tarcia 2-6 cm²,
- skok suwadła 150 mm,
- układ obciążający - sprężynowy,
- charakter obciążenia - stały, sinusoidalny lub inny zmienny,
- układ pomiarowy momentu tarcia - tensometryczny,
- pomiar temperatury próbki - czujnik termistorowy, termopara,
- środowisko tarcia - woda, roztwory wodne, oleje.

9.6.2.8. Maszyna typu KEWAT-2 do badań trybologicznych

W maszynie tej jest możliwe zrealizowanie ruchu obrotowego i tarcia próbek o płaską przeciwpróbkę przy stałym obciążeniu. Schemat maszyny przedstawiono na rys. 9.51.
Rys. 9.51. Schemat maszyny KEWAT-2;
1-licznik obrotów,
2-sprzęgło licznika obrotów,
3 - belka tensometryczna,
4 - łożysko wahliwe,
5 - łożysko prowadnicy,
6 - sprężyna dociskowa próbki,
7-prowadnica,
8-regulacja nastawienia próbek,
9-próbka,
70-przeciwpróbka,
11-termopara,
12-tensometr

Charakterystyka maszyny:
- prędkość obrotowa przeciwpróbki - 300-3000 obr/min (prędkość tarcia - 2,5 -25 m/min),
- nacisk jednostkowy - 0-÷7,0 MPa,
- powierzchnia tarcia - 2 cm²,
- układ obciążający - sprężynowy,
- charakter obciążenia - stały, stopniowany,
- układ pomiarowy momentu tarcia - tensometryczny,
- pomiar temperatury próbki - termoparą.
- środowisko tarcia - powietrze lub dowolna ciecz.

Do wirującej przeciwpróbki napędzanej silnikiem elektrycznym o regulowanej prędkości obrotowej są dociskane dwie prostopadlościenne próbki, z określoną siłą normalną. W obszarze styku próbek z przeciwpróbką powstaje tarcie. Wartość siły tarcia jest mierzona za pomocą układu tensometrycznego.

9.6.2.9. Maszyna typu KEWAT-3 do badań trybologicznych

Maszyna tego typu realizuje ruch wahadłowy przy programowanym zmiennym w czasie obciążeniu. Maszyna odzwierciedla kinematykę ruchu i dynamikę obciążenia ogniwa i sworznia gąsienicy pojazdu. Próbka i przeciwpróbką są wykonane w kształcie walca i stykają się wzdłuż tworzących. Próbka ma ujemny, a przeciwpróbką dodatni promień krzywizny. Na rys. 9.52 przedstawiono schemat maszyny.
Rys. 9.52. Schemat maszyny KEWAT-3;
1 - ucho,
2 - belka tensometryczna,
3 - termometr,
4 - krzywka,
5 - belka tensometryczna,
6 - sprężyna obciążająca,
7 - watek napędowy,
8 -wałek z próbką,
9 - korba mechanizmu wahadłowego,
10 - naciąg łańcucha

Charakterystyka maszyny:
- cykliczność obciążenia 1÷10 cykli/s,
- prędkość tarcia — 0,03÷0,57 m/s,
- nacisk jednostkowy — 0÷15,0 MPa,
- powierzchnia tarcia - 4 cm²,
- układ obciążający - mimośród i sprężyna spiralna,
- charakter obciążenia - zmienny lub stały,
- układ pomiarowy momentu tarcia - tensometryczny,
- chłodzenie - wodne,
- środowisko tarcia - tarcie suche w obecności ścierniwa.
Urządzenie służy do badań trybologicznych przy ruchu wahadłowym i programowanej sile docisku. Krzywka jest napędzana łańcuchem od silnika elektrycznego, napędzającego ponadto, przez bezpośrednie połączenie, wałek korby mechanizmu wahadłowego, wprowadzając w ruch wahadłowy sworzeń. Ucho próbki jest połączone za pośrednictwem sprężyny obciążającej, belki tensometrycznej i rolki z krzywką, której prędkość obrotowa jest zredukowana 2,5 raza w stosunku do prędkości obrotowej silnika. Współpracujące powierzchnie można smarować dowolnym olejem lub zanieczyszczać piaskiem, aby odwzorować rzeczywiste warunki pracy ogniwa gąsienicy.

9.6.2.10. Maszyna typu KEWAT-4 do badań trybologicznych

Maszyna służy do badania siły tarcia w skojarzeniu czop-panewka (rys. 9.53). Próbka 1 obraca się razem z wałkiem napędowym 7, napędzanym przez stopniową przekładnię pasową 6 i silnik elektryczny prądu przemiennego. Do próbki przez
Rys. 9.53. Schemat maszyny KEWAT-4;
1-próbka,
2-przeciwpróbka,
3-płyta dociskowa,
4 - dźwignia pomiaru momentu tarcia,
5 - dźwignia obciążająca,
6 - przekładnia pasowa,
7 - wał napędowy,
8 - dynamometr sprężynowy

płytkę dociskową i łożysko toczne jest dociskana przeciwpróbka 2 umocowana do „nieruchomej” dźwigni pomiarowej 4. Obciążenie skojarzenia odbywa się przez układ dźwigniowy 5. Na skutek powstających oporów tarcia pomiędzy próbką i przeciwpróbka, przeciwpróbka przez dźwignię 4 oddziałuje na dynamometr 8, który rejestruje wartość siły tarcia.

Charakterystyka maszyny:
- średnica wewnętrzna próbki - 20÷30 mm,
- długość próbki - 15÷30 mm,
- prędkość obrotowa próbki - 20÷2000 obr/min,
- obciążenie normalne - 0÷800° N,
- środowisko tarcia - olej lub dowolna ciecz,
- pomiar siły tarcia - dynamometr sprężynowy,
- pomiar prędkości obrotowej - obrotomierz ręczny,
- pomiar temperatury przeciwpróbki - termistor, termopara.

9.6.2.11. Maszyna typu KEWAT-5 do badań trybologicznych

Maszyna odwzorowuje kinematykę i dynamikę pracy tarcz sprzęgłowych pojazdów mechanicznych (rys. 9.54). W korpusie maszyny jest zamocowany wałek zakończony uchwytem badanych tarcz ciernych z tworzywa sztucznego oraz dwóch tarcz metalowych.
Rys. 9.54. Schemat maszyny KEWAT-5;
1-dźwignia,
2-badana tarcza,
3-wałek napędu ze sprzęgłami,
4-tarcze metalowe,
5-tuleje zębate badanej tarczy,
6-mechanizm pomiaru momentu tarcia,
7 - kadłub wałka napędowego,
8 - kadłub,
9 - wałek tarcz metalowych

Tarcze metalowe są dociskane do tarczy ciernej za pomocą dźwigniowego mechanizmu obciążeniowego. Tuleja zębata, nasadzona ślizgowo na koniec uchwytu tarcz badanych, przytrzymuje tarczę cierną połączoną z wałkiem napędzającym. Napęd jest przenoszony na wałek napędzający od silnika elektrycznego przez przekładnię pasową.

Charakterystyka maszyny:
- naciski jednostkowe - 0÷1,5 MPa,
- prędkość obrotowa wałka napędu - 250, 500 i 650 obr/min,
-prędkość tarcia próbki o przeciwpróbkę-0,95, 1,88, 2,45 m/s,
- powierzchnia tarcia 27-200 cm²,
- układ obciążający - dźwigniowy,
-rodzaj obciążenia-udarowe (nagłe włączenie lub wyłączenie sprzęgła),
- układ pomiarowy momentu tarcia - dynamometryczny lub tensometryczny,
- układ pomiarowy temperatury powierzchni tarcia, tensometr,
- smarowanie - powietrze lub olej.

9.6.2.12. Maszyna typu KEWAT-6 do badań trybologicznych

Maszyna służy do realizacji badań podstawowych tarcia i zużycia głównie materiałów wysokociernych. Schemat maszyny przedstawiono na rys. 9.55. Silnik napędowy poprzez przystawkę napędu, umożliwiającą uzyskanie sześciu przełożeń, oraz sprzęgło kłowe napędzają wrzeciono maszyny, na którym jest umocowana żeliwna przeciwpróbka.
Rys. 9.55. Schemat maszyny KEWAT-6:
a) schemat stanowiska,
b) schemat układu napędowego;
1 - przystawka napędu,
2 - sprzęgło kłowe, 3 - wrzeciona,
4 - przeciwpróbka,
5 - sprężyna pomiarowa momentu tarcia,
6 - tarcza wahliwa,
7 - próbka,
8 - silnik dociskowy,
9 - styki rtęciowe,
10-rejestrator momentu tarcia,
11-miernik temperatury,
12-przekaźniki

W tuleję łożyskową osadzoną na kadłubie są wprasowane łożyska toczne wrzeciona. Na zewnętrznej powierzchni tulei są osadzone łożyska tarczy wahliwej, umożliwiające obrót tej tarczy niezależnie od prędkości obrotowej wrzeciona. W tarczy wahliwej są osadzone uchwyty próbek. Siła tarcia w obszarach styku próbki i przeciwpróbki powoduje obrót tarczy wahliwej, której rolka opiera się o płaską sprężynę. Ugięcie sprężyny jest mierzone czujnikiem zegarowym i zapisywane na taśmie.

Ugięcie sprężyny pomiarowej momentu tarcia jest proporcjonalne do wartości siły tarcia występującej między próbką i przeciwpróbka. Siła docisku jest realizowana przez ściskanie sprężyny dociskowej o znanej charakterystyce, której ugięcie jest mierzone czujnikiem zegarowym. W próbce z tworzywa jest osadzona termopara połączona ze wskaźnikiem temperatury. Do tarczy wahliwej jest przymocowany elektryczny silnik dociskowy ze sprzęgłem i przekładnią. Układ taki eliminuje bezwładność silnika i umożliwia szybkie uruchomienie i zatrzymanie silnika. W zależności od kierunku przepływu prądu przez silnik obudowa przekładni może przesuwać się w prawo lub w lewo, powodując za pośrednictwem sprężyny dociążenie lub odciążenie próbki. Kierunek prądu, od którego jest zależne dociążenie lub odciążenie próbki, zależy od położenia tarczy wahliwej. Z tarczą tą jest połączony układ dźwigniowy o bardzo dużym przełożeniu, sterujący stykami rtęciowymi. Przy założonej wartości momentu tarcia oba styki rtęciowe są rozwarte i nie płynie przez nie prąd zmienny sterujący przekaźnikami, włączającymi w odpowiednim kierunku prąd stały, płynący do silnika dociskowego. Jeżeli moment tarcia wzrośnie o 10%, wówczas następuje ugięcie sprężyny pomiarowej o 0,1 mm i ruch ten poprzez układ dźwigniowy spowoduje zwarcie styku rtęciowego i doprowadzenie prądu do silnika dociskowego. Kierunek prądu w tym przypadku jest taki, że zmniejsza się docisk próbki. Wskutek tego moment tarcia uzyskuje z powrotem założoną wartość. W przypadku zmniejszenia momentu tarcia, zwiera się drugi styk rtęciowy, powodując przepływ prądu w kierunku odwrotnym, czyli dociążenie próbki, wskutek czego moment tarcia wzrasta dochodząc do założonej wartości. Po osiągnięciu założonej wartości momentu tarcia zostaje przerwany dopływ prądu i tarcie następuje przy określonym w ten sposób docisku, do czasu kolejnej zmiany momentu tarcia 0± 10% czyli do czasu kolejnego włączenia silnika dociskowego. Urządzenie umożliwia uzyskanie dowolnej wartości momentu tarcia jedynie przez zmianę położenia styków rtęciowych.

9.6.2.13. Maszyna KRWAT-1 do badań trybologicznych

Maszyna umożliwia badanie zużycia skojarzenia czop-panewka oraz rejestrację momentu tarcia (rys. 9.56). Maszyna jest napędzana silnikiem prądu stałego, który umożliwia bezstopniową zmianę prędkości obrotowej. Wał silnika jest połączony za pomocą sprzęgła półelastycznego 9 z wrzecionem pierścienia 8.
Rys. 9.56. Schemat maszyny KRWAT-1;
1- dźwignia,
2- płytka z zamocowaną próbką,
3- pierścień wirujący,
4 - dźwigniowy układ przenoszenia momentu tarcia,
5 - waga uchylna,
6 - galwanometr do pomiaru grubości warstwy olejowej,
7-termopara,
8-wrzeciono pierścienia,
9 - sprzęgło półelastyczne,
10 - silnik napędowy,
11 - obrotomierz

Do drugiego końca wału silnika podłączono obrotomierz 11 z licznikiem obrotów. Wrzeciono wspornika jest zakończone stożkiem z tuleją rozprężną przeznaczoną do zamocowania pierścienia - przeciwpróbki 3. Docisk próbki jest realizowany przez układ dźwigniowy 4 z symetrycznie zawieszonymi ciężarkami. Jedno z ramion układu dźwigniowego jest wsparte na wadze 5 rejestrującej wartość siły tarcia. Silnik, wspornik z wrzecionem i układ dźwigniowy dla zachowania współosiowości umieszczono na pryzmach wspólnego łoża. Próbkę 2 imitującą panewkę umocowano w uchwycie za pomocą dwóch płytek dociskanych śrubami. Obudowa uchwytu, drążona wewnątrz, ma dwie końcówki do doprowadzenia i odprowadzenia cieczy chłodzącej. Do otworu wkłada się termistor dociskany sprężyną. W dowolnej części obudowa ma sferyczne wgłębienie, którym przez kulę opiera się o płytkę oporową wykonaną z materiału izolacyjnego.

Charakterystyka maszyny:
- prędkość obrotowa przeciwpróbki - 20÷2000 obr/min,
- nacisk jednostkowy - 0÷25,0 MPa,
- powierzchnia tarcia - 4 cm²,
- układ obciążający - dźwigniowy, obciążenie stałe,
- układ pomiarowy momentu tarcia - wagowy,
- układ pomiarowy temperatury próbki - termistor,
- środowisko tarcia - substancje smarujące w stanie ciekłym.

9.6.2.14. Maszyny rolkowe do badań trybologicznych

Przy badaniu zjawisk zachodzących na bocznych powierzchniach zębów kół zębatych dogodne jest zastąpić parę współpracujących zębów modelem zbudowanym z dwóch cylindrycznych rolek (rys. 9.57).
Rys. 9.57. Schemat jednokontaktowej maszyny do badania pittingu (wg S. Way)

Przyjmując promienie rolek ρ1 i ρ2 równe promieniom krzywizny zarysów zębów N1C i N1C w rozpatrywanym punkcie przyporu C, materiały rolek takie same jak zębów kół zębatych oraz wartość siły docisku rolek równą wartości siły działającej na zęby, otrzymamy rozkład nacisków w strefie kontaktu kół zębatych, który jest taki jak w strefie kontaktu rolek (rys. 9.58).
Na podstawie teorii Hertza wartość tych nacisków py w dowolnym punkcie strefy kontaktu można obliczyć ze wzoru
py = 2 P
( - ) ½ (9.56)

Rys. 9.58. Wykres rozkładu nacisków w obszarze styku kół zębatych

przy czym połowa szerokości styku zależnością
(9.57)

gdzie: P - siła docisku, ν1, ν2 - liczba Poissona dla materiału koła pierwszego i drugiego, E1, E2 - moduły sprężystości materiałów koła, pierwszego i drugiego, ρ1, ρ2 - promienie krzywizn zarysów zębów koła pierwszego i drugiego w rozpatrywanym punkcie.

Największą wartość nacisku w środku strefy styku można obliczyć ze wzoru
(9.58)

gdzie l-szerokość kół zębatych lub długość rolek.

W celu uzyskania takich samych warunków obciążenia warstwy wierzchniej rolek i zębów w strefie kontaktu rolek należy doprowadzić taki sam czynnik smarujący oraz uwzględnić takie same parametry kinematyki. Na rys. 9.59 wyznaczono wektor prędkości vs1 przemieszczenia punktu przyporu A (styku) po zarysie zębów z1 i wektor prędkości v2 po zarysie zębów z2.
Wartości tych prędkości można obliczyć ze wzorów
vs1 = N1 A ω1 (9.59)
vs2 = N2 A ω2

Prędkości kątowe ω1 i ω2 współpracujących kół zębatych są związane zależnością
ω1 = z2
z1
ω2 (9.60)

gdzie: z1 -liczba zębów koła l, z2-liczba zębów koła 2.

Rys. 9.59. Schemat wyznaczania wektora prędkości przemieszczania punktu przyporu

Rys. 9.60. Rozkłady prędkości przemieszczenia punktów przyporu przekładni zębatej

Rys. 9.61. Kierunki prześlizgów w obszarach styku kół zębatych

Na rys. 9.60a, b przedstawiono wykresy prędkości vs1 i vs2 dla przekładni o liczbie zębów z1 = 39, z2 = 68, module m = 6, prędkości kątowej ω1 = 18,15 s -1.
Prędkość wzajemnego ślizgania się obydwu zarysów można wyznaczyć z rys. 9.60c
vs = vs1 - vs2 (9.61)

Kierunki ślizgania po sobie zarysów zębów są skierowane odśrodkowo względem punktu centralnego C zarysów zębów dla koła czynnego i dośrodkowo dla zębów koła biernego (rys. 9.61).

Przyjmując promienie rolek równe promieniom krzywizn w rozpatrywanym punkcie przyporu zębów oraz napędzając je z odpowiednimi prędkościami obwodowymi równymi prędkościom przemieszczenia się punktu przyporu vs1 i vs2 odpowiednio po zarysie zębów 2-1 i 2-2 można odwzorować warunki współpracy zębów dla poszczególnych punktów przyporu na modelu zbudowanym w postaci dwóch cylindrycznych rolek (rys. 9.62a, b, c).
Rys, 9.62. Odwzorowanie obszarów styku kół zębatych za pomocą dwóch cylindrycznych rolek o różnych wartościach promieni

Można również z dużą dokładnością odwzorować warunki takie same w strefie kontaktu rolek, przyjmując rolki o jednakowych promieniach ρ, które można obliczyć ze wzoru
ρ = 2 ρ1ρ2
ρ1 + ρ2
(9.62)

W przypadku takiego modelu, przy niezmiennych pozostałych parametrach otrzymamy w strefie kontaktu taki sam rozkład nacisków, jak w rolkach o różnych promieniach, to znaczy będzie występować ta sama wartość maksymalnych nacisków pmax oraz szerokość strefy kontaktu 2b będzie taka sama.

Badania na maszynach rolkowych prowadzi się w taki sposób, że w czasie badań zmienia się tylko jeden z parametrów mających wpływ na zużycie, a pozostałe parametry są ustalone. Wyniki takich badań pozwalają wykryć wpływ poszczególnych czynników na zużycie np.: wartości obciążenia, chropowatości powierzchni, struktury i tekstury warstwy wierzchniej, rodzaju smaru, wydajności smarowania i wartości poślizgu.
Rolkowe maszyny stosowane do badania pittingu i zacierania można podzielić na:
a) maszyny z cylindrycznymi rolkami toczącymi się po sobie bez poślizgu,
b) maszyny z cylindrycznymi rolkami toczącymi się po sobie ze stałym poślizgiem,
c) maszyny z cylindrycznymi rolkami toczącymi się po sobie z poślizgiem zmiennym w sposób ustalony w czasie jednego obrotu rolki,
d) maszyny z rolkami stożkowymi, w których warunki toczenia i poślizgu zmieniają się wzdłuż tworzącej stożka.
Maszyny rolkowe z toczącymi się rolkami bez kontrolowanego poślizgu. Jeżeli napęd jednej rolki przez drugą uzyskuje się w wyniku działania sił tarcia powstających w strefie stykania się rolek, to w tym przypadku między rolkami zachodzą tylko mikropoślizgi i mamy do czynienia z tzw. czystym toczeniem.
Maszyny rolkowe ze zmiennym poślizgiem w cyklu. W rolkowych maszynach z cykliczną zmianą poślizgu warunki pracy krążków są zbliżone do warunków pracy kół zębatych. Jak wiadomo, powierzchnie boczne współpracujących zębów toczą się po sobie z poślizgiem zmiennym. W punkcie O (rys. 9.63) prędkość ślizgania spada do zera. W punkcie A1 i A2 prędkości obwodowe obydwu rolek są jednakowe, prędkość ślizgania równa się zeru, czyli występuje czyste toczenie.
    Rys. 9.63. Schemat działania maszyny rolkowej ze zmiennym poślizgiem w cyklu;
    t-czas,

    v1 - prędkości obwodowe górnego i dolnego walca,

    v2 - prędkość względna w obszarze styku,

    vA, vB, vC, vD - prędkości w obszarze styku walców (z uwzględnieniem poślizgu)

Rys. 9.64. Schemat maszyny o zmiennym poślizgu rolek

Po upływie 1/4 okresu T punkt A1 obróci się o większy kąt niż punkt A2, co wynika z różnicy prędkości w tym okresie. Po upływie 1/2 okresu T prędkości obydwu rolek znów są jednakowe. Na rys. 9.63 strzałki wskazują kierunki poślizgu. Należy zaznaczyć, że obszary punktów C1 i A2, modelują pracę zęba koła czynnego, a obszary punktów A1 i C2, - pracę zęba koła biernego.

Maszyna o zmiennym poślizgu badanych rolek (rys. 9.64). Jednokontaktowa maszyna do badań z cyklicznie zmiennym poślizgiem ma rolki 1 i 2 osadzone na wałkach 3 i 4 ułożyskowanych w łożyskach tocznych. Wałki 3 i 4 za pośrednictwem sprzęgieł Oldhama 5 i 6 są połączone z wałkami 7 i 8, na których mimośrodowo są osadzone koła zębate 9 i 10. Koło zębate P jest napędzane od silnika 14 przez przekładnię zębatą 12. Prędkość obrotową wskazuje licznik.
Charakterystyka maszyny: średnica rolek - 75 mm, mimośród kół zębatych-2,5 mm, moc silnika-3,2 kW, prędkość obrotowa silnika - 1459 obr/min, prędkość obrotowa rolek - 925 obr/min, prędkość poślizgu - od 0,454 m/s, a średnia prędkość - 3,64 m/s.
Maszyna jednokontaktowa ze sprzęgiem Cardana (rys. 9.65). Zmienne prędkości poślizgu badanych krążków 1 i 2 uzyskiwano przez zastosowanie w napędzie dwóch sprzęgieł Cardana ustawionych w ten sposób, że powodowały okresowe przyspieszenia i opóźnienia ruchu obrotowego krążka 7, przy stałej prędkości kątowej krążka 2.
Rys. 9.65. Schemat jednokontaktowej maszyny ze sprzęgiem Cardana

Dla sprzęgła Cardana (rys. 9.65) jest znana następująca zależność pomiędzy prędkościami kątowymi połączonych wałów
ω2 =

2 ω1
1
cos δ
+ cos δ + cos 2Φ(1
cos δ
- cos δ)
(9.63)

gdzie: ω1, ω2 - prędkości kątowe wałów po obu stronach sprzęgła, δ - kąt między wałami, Φ - kąt obrotu wału.

Przełożenie chwilowe ±ω1/ω2 zmienia się w przybliżeniu wg cosinusoidy, przy czym jego ekstremalne wartości wynoszą
imin = cos δ imax = 1
cos δ
(9.64)

Niejednostajny ruch wału 7 (rys. 9.66) można usunąć przez zastosowanie dwóch sprzęgieł Cardana na wale przegubowym 3. Jeżeli sprzęgła mają płaszczyzny widełek wewnętrznych przestawione względem siebie o kąt 90°, to nie uzyska się wyrównania ruchu obrotowego wałów równoległych, znajdujących się na zewnątrz sprzęgieł,
Rys. 9.66. Zastosowanie przegubów Cardana do zmiany prędkości poślizgu

natomiast niejednostajność ruchu zostanie spotęgowana, a ekstremalne wartości przełożenia chwilowego wyniosą odpowiednio
imin = cos² δ imax = 1
cos² δ
(9.65)

Wartość tego przełożenia, a więc i chwilowego względnego poślizgu krążków można w omawianym przypadku zmieniać przez zmianę kąta δ odchylenia wałów.

Trzy kontaktową maszynę ze zmiennym cyklicznym poślizgiem przedstawiono na rys. 9.67. Rolki 7, 2 i 3 są rolkami oporowymi (przeciwpróbkami) o średnicy f 50 mm, szerokości 10 mm. Osie rolek 2 i 3 są nieruchome, a oś rolki 4 jest ułożyskowana w dźwigni 7, do której jest przyłożone obciążenie. Na wałku rolki 4 jest osadzone mimośrodowo koło zębate zazębione z trzema kołami zębatymi, osadzonymi również mimośrodowo na wałkach rolek 1, 2 i 3. Mimośrodowość wszystkich kół zębatych jest jednakowa. Wałki kół zębatych ułożyskowane są w oddzielnych łożyskach, a ruch obrotowy przekazywany za pomocą sztywnych sprzęgieł.
Na rys. 9.68 przedstawiono wykres zmiany prędkości poślizgu wzdłuż obwodu rolki 7 z rys. 9.67. W punktach A i B tego wykresu występuje czyste toczenie. W przypadku gdy rolka 4 ma prędkość obrotową 1460 obr/min, wówczas prędkość toczenia wynosi 3,82 m/s.
Rys. 9.67. Schemat trzykontaktowej maszyny do badania pittingu Rys. 9.68. Rozkład prędkości poślizgu wzdłuż obwodu rolki

Maszyny z rolkami stożkowymi. W rolkowych maszynach z rolkami w postaci stożków na tworzącej stożka w różnych jego punktach występują różne wartości poślizgu (rys. 9.69). Na wałku 3, napędzanym silnikiem, osadzona jest stożkowa rolka 6, która współpracuje z taką samą rolką 7, osadzoną na wałku 2.
Rys. 9.69. Schemat maszyny rolkowej stożkowej do badania pittingu

Napęd rolki 6 odbywa się za pomocą pary kół zębatych 1. Obciążenie na rolki przekazywane jest przez tuleje 8 i łożyska stożkowe 9. Łożysko stożkowe 4 przenosi obciążenie od rolki 6 na korpus maszyny. Wałki 3 i 2 są ułożyskowane w łożyskach ślizgowych 5. Średnia średnica każdej rolki wynosi 100 mm (127 i 73 mm), szerokość 41,8 mm.
Rys. 9.70. Schemat trójrolkowej maszyny do badania tarcia i zużycia;
1 - rolka badana,
2 - dociskowa i podpierająca,
3 - przekładnia zamykająca,
4 - silnik napędowy,
5 - wahacz dźwignia obciążająca,
7 - dynamometr,
8 - śrubowy mechanizm napinający rolka

Wadą tego typu maszyn jest pojawienie się sił tarcia wzdłuż tworzącej stożka, co ma wpływ na rozkład naprężeń w strefie styku, a przez to i na wyniki badań.
Maszyna z trzema rolkami. Maszyna odwzorowuje modelowo współpracę przekładni zębatych o zębach prostych i skośnych. Służy do oceny własności przeciwzużyciowych i przeciwzatarciowych oraz przeciwpittingowych olejów przekładniowych (rys. 9.70).
Badaną próbką jest rolka środkowa 7, która jest umieszczona w wahaczu 5 i dociskana do rolki dolnej przez górną rolkę obciążającą 2 umieszczoną w dźwigni 6. Obciążenie dźwigni jest realizowane przez dynamometr kabłąkowy 7 i śrubowy mechanizm napinający 8. Rolki są napędzane silnikiem prądu stałego 4 przez przekładnię zamykającą 3 i wałki sprzęgłowe 9. W przekładni zębatej 3 możliwa jest wymiana kół zębatych w celu realizacji różnego poślizgu na badanej rolce. Badany olej jest dostarczany w obszar styku rolki górnej i środkowej.
Charakterystyka maszyny:
- naciski jednostkowe w obszarze styku rolek - 0÷2000 MPa,
- zastępczy promień krzywizny rolki - 0,5÷2,5 cm,
-prędkość obrotowa rolki (regulowana bezstopniowo)-100÷3000 obr/min,
- poślizg na rolce badanej - 0÷90%,
- układ pomiaru siły w strefie styku rolek - dynamometryczny,
- układ pomiaru momentu tarcia - tensometryczny,
- układ pomiaru prędkości obrotowej rolki - częstotliwościowy,
- układ pomiaru temperatury oleju na wejściu i wyjściu z obszaru styku - termoparami,
- pomiar zużycia - metodą izotopową lub sztucznych baz.

Rys. 9.71. Schemat maszyny „rolka-tarcza";
1-tarcza,
2-wałek tensometrów,
3 - przekładnia redukcyjna,
4 - tuleja zamocowująca tarczę,
5 - silnik napędu tarczy,
6 - rolka,
7 - łożysko podtrzymujące,
8 - wałek rolki,
9 - korpus rolki,
10-silnik napędu rolki

Maszyna do badań trybologicznych typu rolka-tarcza. Maszyna odwzorowuje współpracę przekładni ślimakowej. Służy ona do oceny własności przeciwzużyciowych i przeciwzatarciowych olejów przekładniowych. Stalowa tarcza 7 (rys. 9.71), imitująca ślimak, napędzana jest przez silnik prądu stałego 5 za pośrednictwem przekładni stożkowej i wałka tensometrycznego 2. Do tarczy jest dociskana rolka 6, która ma oddzielny napęd od silnika prądu stałego 10. Rolka 7 odciążająca tarczę nie jest napędzana i ma kierunek prędkości zawsze prostopadły do linii styku. Możliwe jest przekoszenie rolki badanej 6 wraz z korpusem 9 względem tarczy 7. Rolka 6 i tarcza 7 mogą obracać się współbieżnie lub przeciwbieżnie.
Charakterystyka maszyny:
- nacisk jednostkowy w obszarze styku tarczy z rolką - 0÷700 MPa,
- prędkość tarczy - 0,1÷40 m/s,
- średnica rolki - 50÷120 mm,
- prędkość rolki - 0,05÷10 m/s,
- kąt pochylenia rolki - 0÷90°,
- układ pomiaru siły w strefie styku rolki z tarczą - dynamometryczny,
- układ pomiaru momentu tarcia - tensometryczny,
- układ pomiaru obrotów rolki i tarczy - częstotliwościowy,
- układ pomiaru temperatury oleju na wejściu i wyjściu z obszaru styku - termoparami,
- pomiar zużycia - metodą izotopową lub sztucznych baz.

9.6.2.15. Maszyna typu SBOP do badań trybologicznych

Maszyna służy do badania własności przeciwzużyciowych i przeciwzatarciowych olejów przekładniowych. Maszyna (rys. 9.72) jest zbudowana w układzie mocy krążącej. Przekładnia badawcza i przekładnia zamykająca znajdują się we wspólnej obudowie. Każda przekładnia ma oddzielną komorę i jest indywidualnie smarowana. Smarowanie przekładni odbywa się w układzie obiegowym, ciągle tym samym olejem. Przekładnia badawcza jest smarowana badanym olejem, który jest podawany z ultratermostatu 2. Temperatura oleju wypływającego z przekładni badanej 7 jest kontrolowana za pomocą termometru 3. Moment obrotowy jest wprowadzany do układu mocy krążącej przez urządzenie napinające 8 i dźwignię 6. Maszyna jest napędzana silnikiem prądu stałego o regulowanej prędkości obrotowej.
Charakterystyka maszyny:
- moment obrotowy na zębniku - 0÷140 daN • m,
- prędkość obrotowa zębnika- 100÷8000 obr/min,
-liczba zębów kół badanych-para I 14:20, para II 21:30,
- moduł nominalny - para I 5 mm, para II 3,5 mm,
- czynna szerokość zębów - 5 mm,
- układ pomiaru momentu obrotowego - tensometryczny,
- pomiar zużycia - metodą izotopową,
- pomiar prędkości obrotowej - częstotliwościowy.
Rys. 9.72. Schemat maszyny SBOP do badania tarcia i zużycia;
1 - badana przekładnia,
2 - ultratermostat,
3 - termometr,
4 - przekładnia zamykająca,
5 - punkt pomiaru momentu,
6 - dźwignia obciążająca,
7 - silnik napędowy,
8 - napinacz,
9 - przekładnia pasowa

9.6.2.16. Maszyna do badań trybologicznych łożysk ślizgowych

Maszyna ta, przedstawiona na rys. 9.73, służy do badania: własności łożysk ślizgowych wykonanych z różnych materiałów, wpływu oleju oraz cech konstrukcyjnych łożyska na obciążalność i moment tarcia, wpływu momentu ukosującego łożysko na jego obciążalność.
Do płyty 12 stanowiącej podstawę maszyny są przymocowane dwa łożyska 2 podpierające wał główny 3, między którymi jest umieszczone badane łożysko 7. Między badanym łożyskiem 7 a cylindrem hydraulicznym 4 znajdują się dwa łożyska hydrostatyczne: sferyczne 6 i płaskie 5. Napęd wału głównego 3 jest realizowany przez silnik prądu stałego 11 o bezstopniowej regulacji, wał pośredniczący 9 i sprzęgło elastyczne 8. Obciążenie promieniowe realizuje układ hydrauliczny 4, 5, 6, a ukosujące - układ hydrauliczny 7. Zmiany sztywności podparcia badanego łożyska dokonuje się przez skokową zmianę rozstawienia łożysk podpierających.
Charakterystyka maszyny:
- średnica łożyska badanego - 30÷80 mm,
- długość łożyska badanego - do 75 mm,
    Rys. 9.73. Schemat maszyny do badania łożysk ślizgowych;
    1 - badane łożysko,
    2 - łożyska podpierające,
    3 - badany wał,
    4 - cylinder hydrauliczny,
    5 - podpora hydrostatyczna,
    6 - układ hydrauliczny obciążenia promieniowego,
    7 - układ obciążający momentem ukosującym.
    8 - sprzęgło,
    9 - konsola,
    10 - przekładnia pasowa,
    11 - silnik,
    12 - fundament

- średnica zewnętrzna łożyska badanego - do 100 mm,
- obciążenie - statyczna siła promieniowa o wartości 0÷15 • 104 N,
statyczny moment ukosujący 0÷5,0 N • m,
- prędkość obrotowa wału - 0÷6000 obr/min,
- środowisko tarcia - olej, olej zanieczyszczony, smar plastyczny,
- układ pomiarowy momentu tarcia - tensometryczny,
- układ pomiarowy siły promieniowej i momentu ukosującego - za pomocą manometru,
- układ pomiarowy temperatury oleju na wejściu do łożyska - termoparą,
- układ pomiarowy temperatury badanej panewki - termoparą,
- układ pomiarowy ciśnienia oleju na wejściu do łożyska - manometrem,
-układ pomiaru prędkości obrotowej wału-częstotliwościowy,
- pomiar zużycia - metodą sztucznych baz lub metodą izotopową.

9.6.2.17. Maszyna do badania zużycia typu krzywka-popychacz

Maszyna służy do badania odporności na zużycie przez pitting i scuffing elementów rozrządu tłokowych silników spalinowych smarowanych badanym olejem. Maszyna (rys. 9.74) składa się z krzywki rozrządu 4 osadzonej na wale podpartym trzema łożyskami. Wałek rozrządu napędzany jest silnikiem prądu stałego, który zapewnia bezstopniową regulację prędkości obrotowej. Z wałkiem współpracuje popychacz 3, który jest połączony z drążkiem popychacza l i płaską dźwignią sprężystą 9. Popychacz jest prowadzony w korpusie 2. Podpora dźwigni sprężystej 9 może się przesuwać w kierunku pokazanym strzałką, w celu zadania żądanego obciążenia na badane skojarzenie. Smarowanie skojarzenia zapewnia pompa 7 i termostatowy zbiornik oleju 5. Układ smarowania jest zamknięty.
Charakterystyka maszyny:
- prędkość obrotowa wałka rozrządu - 0÷6000 obr/min,
- obciążenie, odzerowo tętniące - 0÷3500 N,
    Rys. 9.74. Schemat maszyny do badania tarcia i zużycia typu krzywka-popychacz;
    1 - drążek popychacza,
    2- korpus,
    3 - popychacz,
    4 - krzywka,
    5 - zbiornik oleju,
    6 - zawór regulacyjny,
    7 - pompy,
    8 - podpora ruchoma,
    9 - dźwignia obciążająca

- środowisko tarcia - olej,
- temperatura oleju - 20÷150°C,
- natężenie przepływu oleju - 0÷1 l/min,
-pomiar intensywności zużycia-ocena jakościowa lub ilościowa metodą izotopową,
- układ pomiaru temperatury w obszarze tarcia-metodą kryptonowania,
- układ pomiaru obciążenia- dynamometrem kabłąkowym,
- układ pomiaru ilości cykli i prędkości obrotowej - częstotliwościowy,
- układ pomiaru momentu tarcia - momentomierzem indukcyjnym

9.6.2.18. Maszyna bijnikowa ze wzbudnikiem drgań

Maszyna służy do badania wpływu rodzaju oleju na pitting. Maszyna (rys. 9.75) składa się ze wzbudnika drgań, generatora 8 i wzmacniacza mocy 9. Generator 8 wytwarza drgania sinusoidalne o określonej amplitudzie i częstotliwości. Amplituda sygnału wychodzącego z generatora 8 jest wzmacniana przez wzmacniacz prądu przemiennego 9. Sygnał ze wzmacniacza steruje pracą cewki wzbudzającej 7 umieszczonej na korpusie wałka. Zasada działania wzbudnika elektromagnetycznego opiera się na oddziaływaniu pola magnetycznego magnesów stałych 4 na umieszczoną w nim cewkę 7 zasilaną prądem przemiennym. Wałek wraz z zamocowaną na nim cewką jest zawieszony na dwóch sprężynach. Drgania odbywają się wokół położenia równowagi wynikającego z napięcia sprężyn. Drgający wałek jest zakończony bijnikiem 7 w postaci wciśniętej weń kulki. Kulka w czasie pracy wzbudnika uderza o nieruchomą próbkę 6 wymuszając obciążenie okresowe.
    Rys. 9.75. Schemat maszyny do badania pittingu;
    1 - bijnik,
    2 - trzpień,
    3 - karkas,
    4 - magnes,
    5-sprężyna,
    6-próbka,
    7-cewka wskazująca,
    8-generator,
    9-wzmacniacz mocy

Charakterystyka maszyny:

- średnica kulki bijnika - 5÷10 mm,
- amplituda ruchu bijnika - 0÷5 mm,
- częstotliwość zmian obciążenia - l÷1000 Hz,
- amplituda siły wymuszającej - 0÷30 N,
- środowisko tarcia - suche, smarowanie,
- zużycie - ocena jakościowa lub ilościowa.
    

9.7. Planowanie trybologicznych badań eksperymentalnych i opracowanie wyników

W eksperymentalnych badaniach procesów trybologicznych oprócz czynników kontrolowanych występuje wiele czynników niekontrolowanych (przypadkowych), które również wpływają na wyniki prowadzonych badań realizowanych w warunkach określonych przede wszystkim czynnikami kontrolowanymi. Wyniki takich badań mają charakter losowy. W celu wyeliminowania wpływu czynników niekontrolowanych stosuje się odpowiednio dobrane fragmenty badań eksperymentalnych oraz metody statystycznej analizy wyników. Podstawowymi elementami układu eksperymentalnego są:
- obiekt eksperymentalny,
- jednostka eksperymentalna.
Obiektem eksperymentalnym może być każdy badany czynnik, wpływający na wynik doświadczenia. Element lub grupa elementów (np. silnik lub grupa silników) w których stosuje się obiekt eksperymentalny (np. rodzaj dodatku do oleju) nazywa się jednostką eksperymentalną. Jednostki eksperymentalne charakteryzują się tym, że uzyskuje się różne wyniki badań przy stosowaniu takiego samego obiektu. Jest to rezultatem wpływu czynników niekontrolowanych (przypadkowych) w czasie doświadczenia, jak np. niejednorodność fizyczna jednostek eksperymentalnych itp. Dlatego też badania realizuje się przez powtarzanie doświadczeń w takich samych warunkach i przy zastosowaniu takich samych obiektów eksperymentalnych.
Replikacją nazywa się powtórzenie doświadczenia dokładnie w takich samych warunkach (ze względu na wyróżnione czynniki kontrolowane), np. w określonej liczbie silników.
Powtórzeniem nazywa się czynności polegające na przeprowadzeniu identycznego doświadczenia (ze względu na kontrolowane czynniki), ale w innym miejscu (np. w innym zakładzie).
W celu wyeliminowania wpływu czynników niekontrolowanych (przypadkowych) charakteryzujących jednostki eksperymentalne dokonuje się losowego przydziału obiektów tym jednostkom. Losowy przydział obiektów jednostkom eksperymentalnym nazywa się randomizacją (random znaczy losowy).
Przykład. Badany jest wpływ rodzaju dodatków do oleju na intensywność starzenia elementów silnika spalinowego samochodu. Badano dwa rodzaje olejów: olej z dodatkiem A, olej z dodatkiem B, zakładając, że oba oleje bazowe (bez dodatków) są identyczne.
Eksperyment zrealizowano w rzeczywistych warunkach eksploatacyjnych w czterech przedsiębiorstwach transportowych, wykorzystując po pięć egzemplarzy silników (pojazdów) w każdym z przedsiębiorstw dla każdego rodzaju oleju. W tak zrealizowanym eksperymencie obiektami eksperymentalnymi są rodzaje dodatków do oleju, zaś jednostkami eksperymentalnymi są egzemplarze silników. Eksperyment zrealizowano w pięciu replikacjach (po pięć silników dla każdego doświadczenia) oraz w czterech powtórzeniach (w czterech przedsiębiorstwach realizowano taki sam eksperyment).

9.7.1. Podstawowe układy eksperymentalne i ich klasyfikacja

Układy eksperymentalne charakteryzuje rozkład obiektów eksperymentalnych w zbiorze jednostek eksperymentalnych.
W zależności od celu badań i rozkładu wyróżnionych w doświadczeniu czynników, które podlegają badaniu, wyróżnia się trzy najprostsze układy eksperymentalne, oparte na randomizacji eksperymentu:
- układ kompletnej randomizacji,
- bloki kompletne zrandomizowane (bloki losowe),
- kwadrat łaciński i pochodne (hiperkwadraty).
Ze względu na rozkład kontrolowanych czynników wyróżnionych w doświadczeniu względem przyjętej klasyfikacji obiektów eksperymentalnych wyróżnia się:
- doświadczenia podlegające klasyfikacji pojedynczej,
- doświadczenia czynnikowe.
Oba rodzaje doświadczeń można zrealizować za pomocą odpowiedniego układu randomizacji.

9.7.1.1. Układ kompletnej randomizacji

Układ kompletnej randomizacji należy do najprostszych schematów planu eksperymentu. Polega ona na porównaniu wpływu c różnych obiektów eksperymentalnych na rezultaty doświadczenia przy wykorzystaniu n jednostek eksperymentalnych. Zakłada się, że jednostki eksperymentalne stanowią materiał jednorodny i są reprezentacją określonej populacji.
W ogólnym przypadku poszczególnym obiektom eksperymentalnym podporządkuje się różną liczbę jednostek eksperymentalnych, tj.: pierwszy obiekt eksperymentalny otrzymuje n1 jednostek eksperymentalnych, drugi obiekt eksperymentalny - n2 jednostek, c-ty (ostatni) obiekt eksperymentalny - nc jednostek. Zatem ogólna liczba jednostek eksperymentalnych
n = n1 + n2 + … + nc

W wielu przypadkach nie ma potrzeby, aby podlegały wariancji liczby jednostek eksperymentalnych przydzielonych poszczególnym obiektom i wtedy każdy obiekt otrzymuje k jednostek eksperymentalnych, wobec czego
n1 = n2 = … = nc

oraz
n = c k

zaś poszczególne egzemplarze jednostek eksperymentalnych są przydzielane w sposób losowy poszczególnym obiektom eksperymentalnym. W tym celu wszystkim jednostkom eksperymentalnym należy przyporządkować kolejne liczby naturalne j = = l, 2, ..., n, zaś poszczególnym obiektom eksperymentalnym kolejne liczby naturalne i = l, 2, ..., c. Z tablicy liczb losowych należy wybrać dowolny ciąg liczb, ale taki, aby wystąpiła w nim każda liczba o wartości j = l, 2, ..., n co najmniej jeden raz. Z tak odnotowanego ciągu liczb należy wykreślić wszystkie liczby większe od n oraz powtórzenia liczb pozostałych (powinno więc pozostać tylko n liczb naturalnych ustawionych w przypadkowym porządku). Z tak uzyskanego ciągu liczb losowych należy wybrać: n1 kolejnych liczb określających numery jednostek eksperymentalnych przyporządkowanych obiektowi i =1, n2 kolejnych liczb określających numery jednostek eksperymentalnych przyporządkowanych obiektowi i = 2 itd. Jeżeli w doświadczeniu badana jest cecha y, to wynikami doświadczenia są pomiary tej cechy odpowiadające poszczególnym obiektom, w rezultacie czego uzyskuje się realizację zmiennych losowych y1, y2yc, o których zakładamy, że mają rozkłady naturalne (lub zbliżone do normalnego) ze średnimi równymi odpowiednio: m1, m2, … mc o wspólnym odchyleniu standardowym.

Przykład. Badane są własności trybologiczne gumy bieżnikowej opon samochodu ciężarowego. Celem eksperymentu jest zbadanie wpływu obciążenia normalnej próbki gumowej wyciętej z bieżnika opony na wartość współczynnika tarcia podczas współpracy tej próbki z nieodkształcalną przeciwpróbką w ciągłym ruchu obrotowym. Ze względu na konieczność zbliżenia warunków badań modelowych do warunków rzeczywistych współpracy opony z nieodkształcalnym podłożem wybrano następujące wartości normalnego obciążenia próbek w N

133,1
252,2
3 69,3
486,4

W celu przeprowadzenia eksperymentu ułożono po trzy replikacje doświadczeń względem każdego obiektu (obciążenia); w związku z tyra wykonano n = 4.3 = 12 próbek
Ze względu na to, że w materiale opony mogą wystąpić nieznane niejednorodności, podział próbek stanowiących jednostki eksperymentalne wykonano w układzie kompletnej randomizacji przy zachowaniu jednakowej liczby replikacji dla poszczególnych wartości obciążeń normalnych. W tym celu ponumerowano poszczególne próbki gumy bieżnika numerami j = 1, 2, ..., 12, zaś z tablic liczb losowych odczytano następujący ciąg liczb, w których liczby j = l, 2, ..., 12 występują co najmniej raz

{84, 12, 06, 49, 53, 10, 12, 01, 06, 15, 04, 59, 93, 47, 02, 19, 33, 48, 57, 11, 16, 24,
05, 46, 68, 73, 03, 18, 88, 09, 05, 61, 64, 07, 20, 07, 12, 08}.

Ze zbioru tego należy wykreślić wszystkie liczby większe od 12 oraz te, które są powtórzeniami pozostałych liczb od l do 12; zatem uzyskano następujący ciąg liczb:

12, 06,10, 01, 04, 02, 11, 05, 03, 09, 07, 08
.
Tak uzyskany ciąg liczb podzielono na cztery zbiory, przyporządkowując w ten sposób numery próbek (jednostek eksperymentalnych) poszczególnym obiektom (obciążeniom normalnym). Uzyskano zatem:
-próbki o numerach: {12, 06, 10} będą badane pod obciążeniem nr l równym 33,1 N,
- próbki o numerach: {01, 04, 02} będą badane pod obciążeniem nr 2 równym 52,2 N,
- próbki o numerach: {11, 05, 03} będą badane pod obciążeniem nr 3 równym 69,3 N,
- próbki o numerach: {09, 07, 08} będą badane pod obciążeniem nr 4 równym 86,4 N.
Tak uzyskany plan eksperymentu można przedstawić w postaci macierzy bądź tablicy liczbowej o wartościach jednostkowych. Przyjmując numery wierszy odpowiadające numerom obiektów eksperymentalnych (i = l, 2, 3, 4) oraz numery kolumn odpowiadające numerom jednostek eksperymentalnych mamy następujący plan eksperymentu

p = 000001000101
l10100000000
001010000010
000000111000

gdzie: wartość 1 znajdująca się w wierszu i kolumny j oznacza, że jednostka eksperymentalna, jaką jest próbka o numerze j, będzie badana względem obiektu - pod obciążeniem normalnym - o numerze i

.

9.7.1.2. Bloki kompletnie zrandomizowane

W wielu przypadkach rzeczywista sytuacja badawcza uwarunkowana dysponowanym materiałem doświadczalnym powoduje, że nie można z góry w sposób arbitralny założyć, iż wszystkie jednostki eksperymentalne tworzą próbkę jednorodną. Jeżeli posiadany materiał doświadczalny można pogrupować wg znanego (lub spodziewanego) czynnika w taki sposób, że jednostki eksperymentalne zaliczone do danej grupy tworzą zbiór jednorodny, to plan eksperymentu powinien zapewnić wyeliminowanie z błędu eksperymentalnego zmienność wyników pochodzącą od czynnika grupującego. Jedną z najprostszych metod zapewniających osiągnięcie tego celu jest metoda bloków kompletnie zrandomizowanych. Założenia metody są następujące:
1. Z n jednostek eksperymentalnych stanowiących materiał doświadczalny należy stworzyć równoliczne grupy, zwane blokami, w taki sposób, aby jednostki te możliwie mało różniły się między sobą wewnątrz grup; dopuszczalne są różnice między grupami.
2. Liczba jednostek w bloku powinna być równa liczbie obiektów eksperymentalnych c.
3. Każdej z c jednostek eksperymentalnych w danym bloku należy przyporządkować w sposób losowy jeden z c obiektów eksperymentalnych. Randomizację tę należy wykonać niezależnie wewnątrz każdego bloku. W rezultacie tego uzyskuje się k bloków stanowiących replikacje, przy czym liczba replikacji jest dowolna i uwarunkowana najczęściej możliwościami technicznymi realizacji badań. Otrzymane tak rezultaty eksperymentu podlegają podwójnej klasyfikacji:
- ze względu na bloki (czynnik grupowy),
- ze względu na obiekty.
Każda z jednostek eksperymentalnych stanowi element tej klasyfikacji : należy do jednego z k bloków i c obiektów eksperymentalnych. Randomizację jednostek eksperymentalnych wewnątrz bloków należy przeprowadzić w sposób identyczny jak dla układów kompletnej randomizacji z tą tylko różnicą, że w każdym z bloków każdy obiekt otrzymuje tylko jedną jednostkę eksperymentalną (bez replikacji). P r z y k ł a d. Rozpatrzmy problem sformułowany w przykładzie w pkcie 9.7.2 z tą różnicą, że dla uogólnienia wyników doświadczeń próbki gumy bieżnika opon wykonano z trzech egzemplarzy opon. Każda pochodzi z innej partii. Można więc w tym przypadku spodziewać się skażenia wyników badań zmiennością pochodzącą od czynnika grupującego, jakim jest egzemplarz opony. Zatem, w celu wyeliminowania wpływu egzemplarza opony na błąd eksperymentu, przeprowadzono eksperyment metodą bloków kompletnie zrandomizowanych. Utworzono trzy bloki odpowiadające trzem egzemplarzom opon. Z tego każdy blok składa się z czterech próbek gum bieżnikowych wyciętych z odpowiadających im egzemplarzy opon. Dokonując losowego podziału obiektów między poszczególne jednostki eksperymentalne w blokach uzyskano następujący

Tablica 9.6. Przykład planu eksperymentu

Bloki123
Obiekty (numery wartości obciążeń normalnych) 234
313
142
421

plan eksperymentu przedstawiony w tabl. 9.6. Dowolny element tej tablicy Xij o wartości liczbowej równej a oznacza, że jednostka eksperymentalna o numerze i (próbka bieżnika opony) należąca do bloku j (wycięta z opony o numerze j) jest przyporządkowana obiektowi o numerze a (odpowiedniej wartości obciążenia normalnego o numerze a).

9.7.1.3. Kwadrat łaciński

Jeżeli zbiór jednostek eksperymentalnych stanowiących materiał doświadczalny podlega klasyfikacji ze względu na dwa czynniki grupujące, wtedy plan eksperymentu należy przeprowadzić metodą kwadratów łacińskich.
kwadrat łaciński. Przez rozumie się uszeregowanie n = jednostek eksperymentalnych, które podlegają podwójnej klasyfikacji: ze względu na c bloków jednego rodzaju zwanych wierszami i ze względu na c bloków drugiego rodzaju zwanych kolumnami. Kwadrat łaciński ma własność, że każdy z c obiektów eksperymentalnych występuje dokładnie c razy, a w tym po jednym razie w każdym wierszu i po jednym razie w każdej kolumnie. Przyporządkowanie c obiektów c-krotnie replikowanych realizuje się na zasadzie randomizacji.
Określenie kwadrat łaciński wiąże się z tym, że poszczególne obiekty eksperymentalne są oznaczone literami alfabetu łacińskiego: A, B, C, ..., itd. Cechą kwadratu łacińskiego jest to, że na porównanie obiektów nie mają wpływu przeciętne różnice między wierszami a kolumnami. Cecha ta nosi nazwę ortogonalności. Randomizację kwadratu łacińskiego można wykonać randomizując kwadrat łaciński zredukowany, w którym w pierwszym wierszu i w pierwszej kolumnie litery są uporządkowane alfabetycznie. Przykładem kwadratu łacińskiego zredukowanego rzędu 4 x 4 jest kwadrat:

ABCD
BCDA
CDAB
DABC

W tym przypadku można zastosować jeszcze dwa warianty kwadratów zredukowanych rzędu 4x4.

Przy planowaniu doświadczenia metodą kwadratów łacińskich należy zrealizować następujący ciąg czynności:
1) wybrać dowolny kwadrat łaciński zredukowany rzędu c x c (c - liczba obiektów),
2) dokonać losowego przestawienia wszystkich wierszy poza pierwszy korzystając z ciągu liczb losowych,
3) dokonać losowego przestawienia wszystkich kolumn korzystając z ciągu liczb losowych,
4) dokonać losowego przyporządkowania obiektów eksperymentalnych poszczególnym literom A, B, C, ... za pomocą ciągu liczb losowych, przyjmując że poszczególnym literom odpowiadają kolejne obiekty eksperymentalne.
Przykład. Planowane jest doświadczenie dla czterech obiektów eksperymentalnych metodą kwadratu łacińskiego rzędu 4 x 4. W tym celu wybrano kwadrat łaciński zredukowany:

ABCD
BCDA
CDAB
DABC

Losowego p r z e s t a w i e n i a  w i e r s z y dokonano na podstawie ciągu liczb losowych {3, 4, 2}, co oznacza, że:
- pierwszy wiersz zostaje niezmieniony,
- drugi wiersz należy przestawić na pozycję wiersza trzeciego,
- trzeci wiersz należy przestawić na pozycję wiersza czwartego,
- czwarty wiersz należy przestawić na pozycję wiersza drugiego,
zatem uzyskano kwadrat:

ABCD
DABC
BCDA
CDAB

Losowego przestawienia kolumn dokonano na podstawie ciągu liczb losowych {3, l, 4, 2}, zatem uzyskano:
BDAC
ACDB
CABD
DBCA

Losowe przyporządkowanie obiektów literom A, B, C, D wykonano za pomocą ciągu liczb losowych {4, 2, l, 3}, tzn.
A → 4
B → 2
C → l
D → 3

uzyskując kwadrat:
BCDA
DACB
ADBC
CBAD

Operację tę wykonano w następujący sposób: litery A, B, C, D ponumerowano liczbami l, 2, 3, 4. Następnie przyporządkowanie literze A liczby 4 oznacza, że litera A powinna być przestawiona na miejsce litery oznaczonej numerem 4 czyli D. Podobnie przyporządkowanie literze D liczby 2 oznacza, że litera B pozostaje bez zmiany (bo jest z numerem 2). Przyporządkowanie literze C liczby l oznacza, że litera C powinna być przestawiona na miejsce litery A itd.

Przykład. Badane są własności trybologiczne tworzyw sztucznych przez pomiar współczynnika tarcia oraz odporności na zużycie dla sześciu tworzyw z różnymi wypełniaczami metalowymi przy różnych wartościach temperatury oraz nacisków jednostkowych. W eksperymencie tym występują więc trzy źródła zmienności:
- temperatura (efekt wierszy),
- naciski jednostkowe (efekt kolumnowy),
- rodzaj tworzywa (efekt obiektowy).
W celu zbadania wpływu wypełniaczy metalowych na własności trybologiczne tworzywa w warunkach różnych nacisków jednostkowych oraz temperatury, zaplanowano eksperyment metodą kwadratów łacińskich. W tym celu rozlosowano rodzaje tworzyw między litery alfabetu łacińskiego uzyskując następujące przyporządkowanie:

Symbol tworzywaLitera
P-M15A
PB
P-A10C
P - M 20D
P-M10E
P-A15F

przy czym poszczególnym symbolom tworzyw odpowiada tworzywo o określonej zawartości wypełniaczy metalowych, jakimi są: proszek mosiądzu, proszek aluminium, drut cynkowy.

Do przeprowadzenia eksperymentu wg kwadratu 6x6 zastosowano temperatury:
{100, 180, 260, 340, 420, 500} °C
odpowiadające kolejnym numerom wierszy l-6, oraz naciski jednostkowe o wartościach:
0,4; 0,6; 0,8; 1,0; 1,2; 1,4; MPa
odpowiadające numerom kolumn 1-6.

Przyjmując kwadrat zredukowany 6x6 postaci:
ABCDEF
BFDCAE
CDEFBA
DAFECB
ECABFD
FEBADC

dokonano randomizacji uzyskując kwadrat łaciński o postaci:
CBFEDA
FCDBAE
DECAFB
ADEFBC
EABDCF
BFACED

Należy przy tym pamiętać, że poszczególnym kolumnom odpowiadają kolejne wartości nacisków jednostkowych, zaś wierszom - wartości temperatury. Interpretacja dowolnego elementu yij tego planu oznacza, że jednostka eksperymentalna, której odpowiada obiekt określony literom stojącym w i wierszu oraz w j kolumnie będzie badana w temperaturze o numerze i w warunkach nacisków jednostkowych j. I tak element y23 = D oznacza, że tworzywo P-M20 odpowiadające literze D w temperaturze 180°C (i = 2) będzie badane przy naciskach jednostkowych 0,8 MPa (j = 3) itd.

9.7.2. Doświadczenia czynnikowe

W opisanym eksperymencie rolę obiektu spełniały wypełniacze metalowe tworzywa przy zastosowaniu jednakowego tworzywa bazowego. Jeżeli konieczne jest jednoczesne uwzględnienie dwóch czynników zmiennych, np. rodzaju żywicy oraz rodzaju wypełniacza, wtedy przedstawiony kwadrat łaciński nie wystarczy do zrealizowania eksperymentu. W takiej sytuacji należy założyć doświadczenie, w którym obiektami eksperymentalnymi są wszystkie możliwe kombinacje pomiarów wyróżnionych czynników. Po określeniu w ten sposób obiektów eksperymentalnych dalsze planowanie realizuje się wg jednego z przedstawionych układów eksperymentalnych. Najprostszym doświadczeniem czynnikowym jest doświadczenie typu 2x2, tzn. takie, w którym występują dwa czynniki na dwóch poziomach. Poziomy te można oznaczyć symbolami 0 i l. Zestawienie poziomów obu czynników daje cztery kombinacje, które można oznaczyć symbolami:
00 lub a0b0 lub A
10 lub a1b0 lub B
01 lub a0b1 lub C
11 lub a1b1 lub D Można założyć, że doświadczenie to, przy danej liczbie replikacji zależnie od sytuacji badawczej - jest realizowane jednym z trzech układów:
1) w układzie kompletnej randomizacji,
2) w układzie bloków kompletnie zrandomizowanych,
3) w układzie kwadratu łacińskiego.
Sposób postępowania jest identyczny jak w przypadkach już opisanych.

9.7.3. Estymacja wartości średniej dla populacji generalnej na podstawie wyników badań próby

Średnia wartość badanej cechy mierzonej jest najczęściej szacowanym parametrem populacji generalnej. Jakkolwiek większość eksperymentatorów usiłuje z reguły wykorzystywać jedynie wynik estymacji punktowej - średniej, to jednak dla zachowania poprawności wnioskowania bardziej celowa jest metoda estymacji przedziałowej. Metoda estymacji przedziałowej umożliwia określenie pewnego przedziału wartości liczbowych, który z dużym (z góry przyjętym) prawdopodobieństwem obejmuje prawdziwą wartość średnią. Najlepszym estymatorem dla średniej m populacji generalnej jest średnia arytmetyczna X z próby. Jest to estymator zgodny, nieobciążony, efektywny i dostateczny. Oszacowanie wartości średniej z próby uzyskuje się na podstawie prostego wyrażenia
(9.66)

gdzie xi - rezultat i replikacji.

W praktyce najczęściej jest stosowany następujący model do wyznaczania przedziałów ufności dla średniej: populacja generalna na rozkład N(m, σ), przy czym nieznana jest wartość średnia m populacji i odchylenie standardowe σ w populacji. Z populacji tej wylosowano małą próbkę o liczności a elementów (jednostek eksperymentalnych). Po uzyskaniu wyników doświadczenia przedziału ufności dla średniej m populacji można wyznaczyć z zależności
(9.67)

gdzie X - średnia arytmetyczna obliczona z wyników próby przy czym odchylenie standardowe z próby oblicza się wg wzoru

(9.68)

gdzie: X - średnia arytmetyczna obliczona z wyników próby, 1-α - założone z góry prawdopodobieństwo zwane poziomem (współczynnikiem) ufności, tα - wartość rozkładu t - Studenta odczytana z tablic tego rozkładu dla n - 1 stopni swobody przy spełnieniu relacji
P ( -tα < t < 1 - tα ) = 1 - α (9.69)

Założona wartość tα, na ogół bliska jedności, określa prawdopodobieństwo, z jakim rzeczywista wartość średnia m populacji znajduje się w obliczonym przedziale ufności.

Przykład. Podczas badań własności ciernych gum bieżnikowych w różnych warunkach obciążenia normalnego próbki bieżnika okazuje się, że wartości średnich nacisków jednostkowych w obszarze tarcia nie są określone. I tak, dla próbek bieżnika opony STOMIL, dla kilku obciążeń normalnych próbek uzyskano wartości średnich nacisków jednostkowych w obszarze tarcia wyszczególnione w tabl. 9.7.

Tablica 9.7. Wyniki pomiarów średnich nacisków jednostkowych dla różnych obliczeń próbek bieżnika opony

Numer obciążeniaObciążenieNumer próbki
123456
13,312,5832,4682,4322,3992,3592,324
25,223,4013,3573,2933,2713,2403,222
36,933,9203,8123,7723,7023,6573,619
48,644,6234,5094,4864,4994,4244,361
510,355,0784,8414,8034,7704,7154,666
612,065,4945,3485,3205,2575,2305,158
713,775,8975,6925,6075,5355,5085,497

Zatem, ze względu na znaczny wpływ składnika losowego na wyniki pomiarów nacisków jednostkowych, do ich oszacowania zbudowano przedziały ufności. W tym celu policzono wartości średnie q

oraz wariancje

Zakładając poziom ufności 1-α = 0,95, tzn. α = 0,05, oraz przyjmując liczbę stopni swobody równą 5, z tablic rozkładu t-Studenta znajduje się wartość tα = t0,05 = 2,571. Stąd łatwo wyznaczyć granice przedziału ufności oznaczone umownie symbolami:

- granica prawostronna

- granica lewostronna Wyniki obliczeń podano w tabl. 9.8.

Tablica 9.8. Wyniki obliczeń przedziałów ufności w badaniach tarcia gum bieżnikowych

Numer obciążeniaqtq(-)q(+)
12,4280,0082,5712,3312,524
23,2970,0052,5713,2253,370
33,7470,0122,5713,6313,863
44,4750,0082,5714,3824,569
54,8120,0212,5714,6614,964
65,3010,0132,5715,1795,423
75,6230,0232,5715,4625,783

Szerokość przedziału ufności nie przekracza na ogół 10% wartości średniej, co świadczy o powtarzalności wyników badań, a więc o małym ryzyku przy uogólnieniu wniosków dotyczących populacji generalnej. Podczas szacowania wartości średniej badanej cechy trybologicznej dla populacji generalnej ważne jest zaplanowanie niezbędnej liczby pomiarów (replikacji). W większości przypadków przy rozpoczynaniu badania jest nieznana zarówno wartość średnia, jak i wariancja badanej cechy. Zatem w celu określenia niezbędnej liczby powtórzeń doświadczenia, należy przeprowadzić badania wstępne na małej próbce o liczności n0, uzyskując oszacowanie wartości średniej X oraz estymatora wariancji Ŝ²

Przyjmując, że oszacowanie wartości średniej dla badanej cechy powinno być wykonane z błędem nie przekraczającym z góry zadanej wartości d z poziomem ufności 1-α, niezbędną liczbę powtórzeń doświadczenia można obliczyć ze wzoru
n = tα²Ŝ²

gdzie tα - wartość rozkładu (t-Studenta dla n0 - l stopni swobody i wartości 1-α poziomu ufności.

Gdyby się okazało, że obliczona wartość n jest nie większa od wartości n0, wówczas należy uznać, że zrealizowane badania wstępne są wystarczające. Należy tu dodać, że obliczoną wartość n należy zawsze zaokrąglać do najbliższej, większej od niej liczby całkowitej, gdyż tylko liczba całkowita może być liczbą doświadczeń.
Przykład. Podczas badań własności ciernych gum bieżnikowych wykonano sześć próbek i zbadano rozrzut wartości współczynnika tarcia wokół wartości średniej. Po obliczeniu wartości średniej i wariancji z próby uzyskano wartość Ŝ²= 0,0004.
Jeżeli wymagana dokładność oszacowania wartości średniej współczynnika tarcia gumy bieżnikowej opon jest rzędu 0,01, to przyjmując poziom ufności 1-α = 0,95, niezbędna liczba doświadczeń wynosi
n = tα²Ŝ²
= 2,571² • 0,0004
0,01²
≈ 27

Ponieważ wykonano już sześć doświadczeń, zatem należy jeszcze wykonać dwadzieścia jeden, aby uzyskać wymaganą dokładność oszacowania wartości średniej współczynnika tarcia.

9.7.4. Wnioskowanie statystyczne na podstawie parametrycznych testów istotności

Wyniki badań opracowane najczęściej w postaci wartości średnich badanej cechy oraz przedziałów ufności nie pozwalają wyciągnąć daleko idących wniosków. Wynika to stąd, że wartości średnie z badań podlegają także losowym fluktuacjom. Jeżeli zbadano tę samą cechę X dwu populacji (lub dwu różnych obiektów eksperymentalnych) - uzyskując różne wartości średnie X1 oraz X2, to na podstawie porównania samych wartości średnich X1 i X2 nie można powiedzieć, czy ewentualne różnice tych wartości są istotne. Pierwszym etapem analizy wyników badań eksperymentalnych jest zbadanie, czy czynniki uwzględnione w planie eksperymentu mają istotny wpływ na uzyskane wyniki badań. W tym celu należy postawić szereg hipotez statystycznych, które weryfikuje się za pomocą znanych, parametrycznych testów istotności. Sposób weryfikacji hipotez zależy od planu eksperymentu, w związku z tym metoda postępowania zostanie przedstawiona dla przypadku najprostszego, gdy badana próba podlega klasyfikacji pojedynczej (co odpowiada układom kompletnej randomizacji). Pozwoli to w wystarczającym stopniu zrozumieć sposób i sens postępowania przy weryfikacji hipotez statystycznych.
Spośród wielu testów parametrycznych do badania wartości średnich najczęściej są stosowane:
- test dla dwóch średnich,
- test analizy wariancji dla wielu średnich.

9.7.4.1. Test dla dwóch średnich

Test ten służy do porównania wartości średnich dwu populacji na podstawie wyników prób. Zakłada się, że badane populacje mają rozkłady normalne N(m1, σ1) oraz N(m2, σ2), przy czym odchylenia standardowe tych populacji są nieznane, ale jednakowe, tzn. σ1 = σ2. Na podstawie wyników dwu małych prób odpowiednio o licznościach n1 i m2, wylosowanych niezależnie z tych populacji należy zweryfikować hipotezę H0: n1 = m2 wobec hipotezy alternatywnej H1: m1m2 . Z wyników obu prób należy policzyć wartości średnie X1 i X2, oraz wariancje S1² i S2², a następnie wartość rozkładu t-Studenta
(9.70)

Statystyka ta ma przy założeniu prawdziwości hipotezy H0 rozkład t-Studenta o n1+n2-2 stopniach swobody. Odczytując z tablic rozkładu t-Studenta dla n1+n2-2 stopni swobody oraz dla założonego z góry poziomu istotności α wartość krytyczną tα, należy porównać ją z obliczoną wartością t.

Jeżeli:

| t | ≥ tα

to weryfikowaną hipotezę H0 należy odrzucić, w przeciwnym przypadku nie ma podstaw do odrzucenia hipotezy H0.
W przypadku, gdy liczności prób są duże — rzędu kilkudziesięciu — wówczas do weryfikacji testu należy przeliczyć statystykę U
(9.71)

która przy założeniu prawdziwości hipotezy H0 ma rozkład normalny N(0, 1). Zatem z tablicy rozkładu normalnego N(0, 1) należy dla przyjętego z góry poziomu istotności α wyznaczyć taką wartość krytyczną Uα, która spełnia nierówność
P { | U | ≥ Ua } = α (9.72)

Porównując odczytaną wartość Uα z wartością U, hipotezę H0 należy odrzucić, jeżeli jest spełniona nierówność w przeciwnym przypadku nie ma podstaw do odrzucenia hipotezy H0.
| U | ≥ a

Przykład. Badane są własności cierne gum bieżnikowych dwóch rodzajów opon: opona STOMIL i opona PIRELLI. W rezultacie przeprowadzonych badań uzyskano następujące wartości współczynnika tarcia µ dla obciążenia normalnego próbek wynoszącego 33,1 N (tabl. 9.9). Porównując własności cierne obu opon postawiono hipotezę H0: µ1 = µ2 wobec hipotezy alternatywnej H1: µ1µ2.

Tablica 9.9. Wyniki pomiarów współczynnika tarcia próbek gum bieżnikowych przy obciążeniu normalnym

Rodzaj oponyNumer próbki
123456
STOMIL0,8560,8520,8610,8610,8610,8670,8612
PIRELLI0,8540,8800,9050,9040,8940,8730,8850

Jak wynika z zestawionych wyników wyciągania wniosków tylko na podstawie porównania wartości średnich µ1, µ2 jest ryzykowne, ponieważ wartości uzyskane w poszczególnych pomiarach są zbliżone. Po obliczeniu wartości średnich µ1, µ2 oraz wariancji S1², S2² i podstawieniu do wyrażenia na rozkład t Studenta otrzymamy wartość t = 2,845. Liczba stopni swobody wynosi w tym wypadku 6+6-2 = 10. Zatem dla α = 0,05, wartość tα wynosi t0,05 = 2,228. Ponieważ 2,845 jest większe od 2,228 zatem hipotezę H0 należy odrzucić. Oznacza to, że opony STOMIL i PIRELLI istotnie różnią się własnościami ciernymi (współczynnikiem tarcia) gum bieżnikowych. Oczywiście, wniosek ten jest słuszny dla zbadanego obciążenia normalnego, przy czym ryzyko poprawności wniosku jest rzędu 0,05.

9.7.4.2. Test analizy wariancji dla wielu średnich

Test ten stosuje się przy porównywaniu wielu średnich pochodzących od różnych obiektów lub populacji. Przeprowadza się go wg określonego schematu ujętego w postaci tzw. tablicy analizy wariancji. Danych jest k populacji o rozkładzie normalnym N(mi, σi) (i = l, 2, …, k) lub o rozkładzie zbliżonym do normalnego. Zakłada się, że wariancje wszystkich k populacji są różne. Z każdej populacji wylosowano niezależnie próby o liczności n, elementów, uzyskując wyniki xij (i = 1,2, …, k, j = l, 2, …,ni) badanej cechy. Na podstawie wyników badań zweryfikować należy hipotezę H0: m1 = m2 = … = mk wobec hipotezy alternatywnej H1: nie wszystkie badane średnie populacji są równe. W celu zweryfikowania hipotezy H0 należy policzyć wartości średnie Xi dla i = 1,2, ..., k,

oraz ogólną średnią X

gdzie .

Z kolei należy obliczyć odpowiednie sumy kwadratów i wariancje, wypełniając nimi tabliczkę analizy wariancji (tabl. 9.10).

Tablica 9.10. Analiza wariancji

Źródło zmiennościSuma kwadratów
SS
Stopnie swobodyWariancje
=SS
r
Test
F
Między populacjami (grupami zmienności)k = 1S1²
F =S1²
S2²
Wewnątrz grupn - kS2²

Obliczoną statystykę F należy porównać z wartością krytyczną Fα odczytaną z tablic rozkładu F Snedecora dla ustalonego z góry poziomu istotności α i dla odpowiedniej liczby r1 = k - 1, r2 = n - k stopni swobody.
Jeżeli FFα, to hipotezę H0 o równości średnich w badanych populacjach należy odrzucić, w przeciwnym przypadku nie ma podstaw do odrzucenia hipotezy H0.
Jeżeli F < 1, wówczas bez porównywania z wartością F nie ma podstaw do odrzucenia hipotezy H0. Odrzucenie hipotezy H0 oznacza, że wpływ dokonanego podziału na badane próby (populacje) jest istotny, w przeciwnym zaś przypadku można uważać wszystkie badane próby za równoważne pod względem otrzymanych wartości badanej cechy.
Przykład. Badany jest wpływ temperatury nakładek hamulca samochodów na wartość współczynnika tarcia (nakładki wykonane dla celów doświadczalnych). Wyniki badań modelowych współczynnika tarcia przedstawiono w tabl. 9.11, wpisując wartości Xij = kij•100. Analizę wariancji dla zbadania istotności wpływu temperatury podano w tabl. 9.12.

Tablica 9.11. Wyniki badań modelowych współczynnika tarcia nakładek hamulcowych

Temperatura
°C
Powtórzenie
123456
10035,832,232,332,031,434,5
20037,734,135,933,232,836,3
30039,835,235,134,933,837,2
40035,131,331,132,030,632,9

Tablica 9.12. Analiza wariancji

Źródło zmiennościSuma kwadratów
SS
Stopnie swobodyWariancje
=SS
r
Test
F
Między populacjami (grupami zmienności)60k - 1 = 3205,63
Wewnątrz grup71n - k = 203,55

Ponieważ wartości Fα dla a = 0,05 wynosi F0,05 = 3,10, zatem F > Fα. Stąd wynika wniosek, że wpływ temperatury na wartość współczynnika tarcia nakładek hamulcowych z tego tworzywa jest istotny.
Ważnym etapem opracowania wyników badań jest analiza wyników w zakresie rozkładu badanej cechy populacji generalnej. Do weryfikacji rozkładu badanej cechy stosuje się tzw. testy zgodności, spośród których najczęściej są stosowane:

- test zgodności χ²,
- test zgodności λ Kołmogorowa.

9.7.5. Test zgodności χ²

Tekst zgodności χ² pozwala zweryfikować hipotezę, że populacja generalna ma określony typ rozkładu Ω o znanej funkcji dystrybuanty. Rezultaty obserwacji badanej cechy X populacji generalnej należy podzielić na k rozłącznych klas o licznościach ni w każdej klasie (i = 1,2, ..., k), uzyskując przez to rozkład empiryczny (tabl. 9.13).

Tablica 9.13. Podział na rozłączne klasy wyników obserwacji badanej cieczy

xini
x1n1
x2n2
..
..
..
xknk

Na podstawie tak uporządkowanych wyników badań należy sprawdzić hipotezę H0, że populacja generalna ma rozkład typu Ω, tzn. H0: F(x)Ω, gdzie F(x) jest dystrybuantą rozkładu populacji.
Zakładając hipotetyczny rozkład o dystrybuancie F(x) należy oszacować parametry tego rozkładu na podstawie uzyskanych wyników badań, a następnie obliczyć dla każdej z k klas wartości badanej cechy X - prawdopodobieństwa pi, że zmienna losowano rozkładzie Ω przyjmuje wartości należące do klasy o numerze i. Mnożąc wartości pi przez liczność całej próby n otrzymuje się liczności teoretyczne n pi, które powinny wystąpić w klasie i, jeżeli populacja ma rozkład typu Ω, tzn. jeżeli hipoteza H0 jest prawdziwa. Porównując liczności empiryczne ni oraz hipotetyczne n pi, należy wyznaczyć wartość statystyki χ²
(9.73)

która przy założeniu prawidłowości hipotezy H0 ma rozkład asymptotyczny χ² o k - r - l stopniach swobody, gdy k parametrów rozkładu Ω szacowano z próby.

Znając z tablicy rozkładu wartość χ² dla k - r - l stopni swobody i założonego poziomu istotności a wartość graniczną χ², należy sprawdzić czy zachodzi relacja
χ²χ²α Jeśli występuje taka zależność, to hipotezę H0, że populacja generalna ma rozkład typu Ω, należy odrzucić. W przeciwnym przypadku nie ma podstaw do odrzucenia hipotezy H0. Test zgodności χ² jest tak zbudowany, że im bliższa zeru wartość statystyki χ², tym hipoteza H0 jest bardziej wiarygodna.
Przykład. Badany jest rozkład intensywności zużycia elementów układu bieżnego pojazdów gąsienicowych. W tym celu obserwowano m.in. zmiany średnicy przegubów w ogniwach taśmy gąsienicy, uzyskując następujące wartości przebiegów w km ogniw gąsienic do chwili uzyskania powiększenia średnicy przegubu o wartości 3,5 nm (tabl. 9.14).

Tablica 9.14. Wartości przebiegów w kilometrach przegubowych ogniw gąsienicowych

Przebiegi, kmLiczba ogniw
1 200÷2 0005
2 000÷2 8006
2 800÷3 60011
3 600÷4 4008
4 400÷5 2008
5 200÷6 0005

Łącznie przeprowadzono obserwację 43 ogniw gąsienicy. Średni przebieg ogniw do uzyskania ww. wartości zużycia wynosi

gdzie xi - środkowa wartość przedziału o numerze i

9.7.6. Test zgodności l Kołmogorowa

Drugim podstawowym testem zgodności jest nieco mniej pracochłonny test zgodności Kołmogorowa oparty na statystyce l. Test ten jednak stosuje się tylko do weryfikacji rozkładów zmiennych losowych ciągłych.
Na podstawie wyników badań empirycznych weryfikuje się hipotezę H0: że dystrybuanta F( x ) rozkładu ciągłego badanej cechy populacji generalnej ma postać F0( x ), tzn. F( x ) = F0( x ), gdzie F0( x ) jest konkretną, hipotetyczną i ciągłą dystrybuantą.
W celu zweryfikowania hipotezy H0 należy wyniki prób uporządkować grupując je w stosunkowo wąskie przedziały o prawych końcach xi i odpowiadających im licznościach ni, znajdując wartości empirycznej dystrybuanty Fn( x ) z zależności
Fn ( xi) = nsi
n
(9.74)

przy czym nsi oznacza skumulowana od początku aż do xi liczebność, tzn.
(9.75)

Następnie z hipotetycznego rozkładu znajduje się wartości teoretyczne dystrybuanty F( x ) oraz największą różnicę między wartościami dystrybuanty teoretycznej i empirycznej
D = sup [ Fn ( xi) - F ( xi) ] (9.76)

oraz wartość statystyki λ
λ = Dn½ (9.77)

zaś odchylenie standardowe

Na podstawie rozkładu empirycznego należy sprawdzić hipotezę H0: że rozkład przebiegów ogniw gąsienic do chwili uzyskania określonej wartości zużycia przegubu jest rozkładem normalnym. Obliczenia można wykonać posługując się tabl. 9.15.
Dla poziomu istotności α = 0,05 oraz stopni swobody 6 - 2 - l = 3 wartość graniczna χ0,05 wynosi 0,49. Ponieważ
χ < χ0,05

Tablica 9.15. Weryfikacja charakteru rozkładu danych empirycznych do badań zużycia przegubów ogniw gąsienicowych

Końce
przedziału
xj
Zmienna
standaryzowana
Ui =xi - X
S
F ( Ui)pin pini - n pi(ni - n pi
(ni - n pi
n pi
2000-1,340,090 10,090 13,874 3+1,125 71,2680,33
2800-0,680,248 30,158 26,802 6-0,802 60,6440,95
3600-0,020,492 00,243 710,479 1+0,520 90,2710,03
44000,640,738 90,246 910,616 7-2,616 76,8490,65
52001,300,903 20,164 37,064 9+0,935 10,8740,12
6000-1,000 00,096 84,205 4+0,794 60,6310,15

zatem nie ma podstaw do odrzucenia hipotezy H0, że rozkład przebiegów ogniw gąsienicy do chwili uzyskania zużycia przegubu o wartości 3,5 jest rozkładem normalnym.

Podczas realizacji obliczeń oszacowano dwa parametry hipotetycznego rozkładu normalnego: wartość średnią X oraz wariancję (odchylenie standardowe S). Ze względu na konieczność skorzystania z tablic rozkładu normalnego N(0, 1), standaryzowano zmienną losową X uzyskując wartości zmiennej losowej standaryzowanej Ui
Ui = xi - X
S

zaś suma wartości w ostatniej kolumnie wyznacza wartość statystyki (funkcji testowej) χ², która przy prawidłowości hipotezy H0 ma rozkład λ Kołmogorowa niezależny od postaci hipotetycznej dystrybuanty F( x ).

Dla ustalonego z góry poziomu istotności α należy odczytać z granicznego rozkładu λ Kołmogorowa wartość graniczną λα. Jeżeli zachodzi relacja

λ < λα

to nie ma podstaw do odrzucenia hipotezy H0, że rozkład badanej cechy ma dystrybuantę o postaci F( x ).

Przykład. Wykorzystanie testu zgodności λ Kołmogorowa do weryfikacji rozkładu będzie przedstawione dla danych empirycznych i założeń z poprzedniego przykładu. Tok obliczeń można przedstawić następująco (tabl. 9.16).

Tablica 9.16. Weryfikacja charakteru rozkładu danych empirycznych za pomocą testu zgodności Kołmogorowa

Końce przedziału
xj
Zmienna standaryzowana
Ui =xi - X
S
F ( Ui)ninsiFi(xi)Fi(xi) - F (Ui)
2000-1,340,090 1550,116 30,026 2
2800-0,680,248 36110,255 80,007 5
3600-0,020,492 011220,511 60,019 6
44000,640,738 98300,697 60,041 13
52001,300,903 28380,883 70,019 5
60001,960,975 05431,000 00,025 0

Maksymalna różnica dystrybuant (wartość modalna) wynosi

D = 0,0413

zatem statystyka λ ma wartość

λ = Dn½ = 0,0413 • 43 = 0,26845

Z tablic rozkładu λ Kołmogorowa można odczytać wartość graniczną λα, która dla a = 0,05 wynosi l0,05 = 1,358.
Ponieważ

l < l0,05

zatem nie ma podstaw do odrzucenia hipotezy, że badana cecha X populacji generalnej ma rozkład normalny.

Podczas badania równocześnie dwóch cech lub więcej stosuje się modele korelacji i regresji, które pozwalają ocenić związki probabilistyczne pomiędzy tymi cechami. Model analizy korelacji pozwala ocenić siłę zależności, zaś model analizy regresji — jej kształt.

9.7.7. Model analizy korelacji dla dwóch cech

Współczynnik korelacji R między badanymi cechami X i Y jest miarą zdefiniowaną następującym wyrażeniem
R = cov ( X, Y )
σx σy
(9.78)

i jest unormowany miarą korelacji zmiennych X i Y przyjmującą wartości z przedziału

-1 ≤ R ≤ 1

gdzie: cov(X, Y) - kowariancja zmiennych X i Y, σ1, σ2 - odchylenia standardowe zmiennych X i Y.

Jeżeli R = -1 lub R = l, to między zmiennymi X i Y istnieje ścisła zależność w postaci funkcji liniowej. Jeżeli R = 0, to zmienne są nieskorelowane.
Estymatorem nieobciąźonym i zgodnym dla współczynnika korelacji R populacji generalnej jest współczynnik korelacji uzyskany z obserwacji n par realizacji (xi, yi) badanej próby.
Nieraz może być bardziej wygodne stosowanie równoważnego wyrażenia do obliczenia współczynnika korelacji o postaci
(9.79)

Wartość współczynnika korelacji ρ (oszacowana z próby) jest także wartością losową, jak każdy estymator, dlatego też należy sprawdzić czy rzeczywiście uzyskana wartość współczynnika korelacji bardzo różni się od 0. W tym celu należy postawić hipotezę H0: R = 0 wobec hipotezy alternatywnej H1: R ≠ 0.

Do weryfikacji hipotezy H0 należy policzyć wartość statystyki t-Studenta
(9.80)

która przy założeniu prawdziwości hipotezy H0 ma rozkład t-Studenta o n-2 stopniach swobody. Odczytując z tablic rozkładu t-Studenta wartość graniczną tα dla założonego poziomu istotności α oraz n - 1 stopni swobody, należy sprawdzić czy zachodzi nierówność

| t | < tα Jeśli występuje taka zależność, to nie ma podstaw do odrzucenia hipotezy H0, że cechy X i Ysą ze sobą skorelowane w przeciwnym przypadku należy odrzucić hipotezę H0.
Przykład. Podczas badań własności ciernych gum bieżnikowych opon samochodowych uzyskano następujący zbiór wartości współczynnika tarcia µ oraz średnich nacisków jednostkowych próbki q (tabl. 9.17). Sprawdzić czy istnieje korelacja pomiędzy współczynnikiem tarcia µ a średnimi naciskami jednostkowymi q próbki.

Tablica 9.17. Wartości współczynnika tarcia oraz średnich nacisków jednostkowych uzyskane w badaniach gum bieżnikowych

Badane wielkościNumer próbki
1234567
Średni nacisk jednostkowy q2,427 53,297 33,747 04,475 34,812 25,301 15,622 7
Współczynnik tarcia µ0,861 20,830 50,799 70,765 70,717 60,694 30,667 5

Wartość współczynnika korelacji z próby należy obliczyć ze wzoru
(9.81)

Obliczenia można dokonać za pomocą tabl. 9.18.

Tablica 9.18. Tablica do obliczania współczynnika korelacji pomiędzy współczynnikiem tarcia µ a średnim naciskiem jednostkowym

iqiµiqi²µi²qi µi
12,427 50,861 25,892 80,741 72,090 6
23,297 30,830 510,872 20,689 72,738 4
33,747 00,799 714,040 00,639 52,996 5
44,475 30,765 620,028 30,586 33,426 7
54,812 20,717 623,157 30,514 93,453 2
65,301 10,694 328,101 70,482 13,680 6
75,662 70,667 531,614 80,445 63,753 2
suma29,683 15,336 5133,707 14,099 822,1392

(9.82)

Po podstawieniu tych wartości do wyrażenia na ρ empiryczna wartość współczynnika korelacji z próby wynosi

ρ = -0,9871

Uwzględniając jednak, że współczynnik korelacji z próby jest także zmienną losową, należy zweryfikować hipotezę H0:R = 0 wobec hipotezy alternatywnej H1:R ≠ 0. W tym celu znajdujemy wartość statystyki t-Studenta
(9.83)

Dla poziomu istotności α = 0,05 znajdujemy wartość krytyczną tα = 2,571 z tablic rozkładu t-Studenta przy r = 5 stopni swobody. Zachodzi więc następująca relacja

13,7953 > 2,571

czyli

| t | < tα

zatem hipotezę H0 należy odrzucić. Oznacza to, że zmienne µ i q są skorelowane. Należy tu dodać, że wartość ρ = -0,9871 sugeruje, że krzywa regresji µ względem q znajduje się blisko funkcji liniowej (rezultaty pomiarów układają się prawie dokładnie na linii prostej), przy czym µ jest malejącą funkcją q.

9.7.8. Estymacja funkcji regresji dla dwóch zmiennych

Najprostszym modelem matematycznym zjawiska w badaniach empirycznych jest funkcja regresji dla dwu cech, której parametry zostają wyznaczone metodą najmniejszych kwadratów dla zaobserwowanych w próbie wartości badanych zmiennych.
Jeżeli podczas obserwacji doświadczenia uzyskano n realizacji (xi, yi) badanych cech X i Y, to na podstawie wykresu rozrzutu punktów empirycznych wykonanego w układzie współrzędnych y-x zakłada się określoną funkcję regresji y(x), która opisuje teoretyczny związek pomiędzy wartościami średnimi cechy Y i cechy X. Zatem każdej zaobserwowanej wartości xi, odpowiada zaobserwowana wartość yi, oraz teoretyczna wartość y(xi) wynikająca z postaci złożonej funkcji regresji. Oszacowanie parametrów dla założonej funkcji regresji metodą najmniejszych kwadratów polega na znalezieniu takich estymatorów, które minimalizują średni błąd kwadratowy odchyleń punktów empirycznych od założonej krzywej regresji y(x), czyli
(9.84)

Wynik taki można uzyskać, stosując warunek konieczny i dostateczny do istnienia minimum powyższej funkcji, tzn. badając jej pochodne względem poszukiwanych parametrów funkcji regresji. Powyższy sposób postępowania rozpatrzymy dla prostej regresji, tzn. zakładając następującą funkcję regresji
y(x) = a x + b (9.85)

Parametr nazywa się a współczynnikiem regresji liniowej. Tak więc elementom zbioru zaobserwowanych empirycznych wartości xi zmiennej X można przyporządkować odpowiednie empiryczne wartości yi oraz teoretyczne wartości y(xi) = a xi + b zmiennej Y.

Średni błąd kwadratowy S dla założonej funkcji regresji będzie następujący
(9.86)

Estymatory dla nieznanych parametrów a oraz b funkcji regresji y(x) powinny zapewnić uzyskanie minimalnej wartości średniego błędu kwadratowego S. W tym celu można zróżniczkować funkcję S względem parametrów a i b, a uzyskane pochodne cząstkowe przyrównać do zera
S
a
= 0 (9.87)
S
b
= 0

czyli
(9.88a)
(9.88b)

Stąd po zróżniczkowaniu uzyskamy układ równań liniowych względem a i b
(9.89a)
(9.89b)

Rozwiązując powyższy układ równań, znajdujemy estymatory parametrów liniowej funkcji regresji
(9.90a)
(9.90b)

gdzie x, y - wartości średnie z próby zmiennych X i Y.

W rzeczywistości nie zawsze można skorzystać z liniowej funkcji regresji, ale jest bardzo wiele przypadków, w których funkcje nieliniowe można zamienić na funkcje liniowe wykonując dodatkowe operacje algebraiczne.
Badana jest funkcja regresji w postaci
y = c a x (9.91)

funkcję tę można zlogarytmować (przy założeniu, że c > 0, a > 0) uzyskując
y = lg c + x lg a (9.92)

czyli
y = c + x a (9.93)

gdzie y — lg y, c — lg c, a — lg a.

W celu oszacowania a i c, korzysta się z wyprowadzonych wzorów dla parametrów liniowej funkcji regresji, korzystając przy tym z wyników badań składających się z zaobserwowanych par ( xi, yi), gdzie yi = lg yi. Po wyznaczeniu wartości c i a można określić wartości c oraz a.
Badana jest potęgowa funkcja regresji o postaci
y = c x a (9.94)

Podobnie jak poprzednio logarytmując tę funkcję, uzyskamy
y = lg c + a lg x (9.95)

zaś przyjmując oznaczenia: lg y = y, lg c = c, lg x = x uzyskamy liniową funkcję regresji
y = c + a x (9.96)

W tym przypadku korzysta się więc z empirycznych wartości ( x, y) i postaci zlogarytmowanej xi = lg xi, yi = lg yi

Badana jest logarytmiczna funkcja regresji o postaci
y = a lg x + b (9.97)

a więc postać liniowej funkcji regresji będzie następująca
y = a x + b (9.98)

gdzie x = lg x.

Do oszacowania parametrów a i b należy zatem uwzględnić materiał doświadczalny zawierający wartości ( xi, yi), gdzie : xi = lg xi, yi = lg yi.

 

Badana jest funkcja regresji o postaci
y = a
x
+ b (9.99)

funkcję tę przy założeniu x ≠ 0 można sprowadzić do postaci liniowej podstawiając z = 1/x. Otrzymamy wtedy zależność
y = a z + b (9.100)

Do oszacowania parametrów a i b należy zatem uwzględnić wyniki próby ( zi, yi ), gdzie zi = 1/yi.

W pozostałych przypadkach, gdy przyjęta funkcja regresji nie da się przekształcić do postaci liniowej, należy wykorzystać przedstawiony sposób postępowania przy poszukiwaniu estymatorów nieznanych parametrów metodą najmniejszych kwadratów. Badając modele regresji liniowej dla dwu populacji, często konieczne jest ich porównanie. Dobre rezultaty w tym przypadku zapewnia weryfikacja testu dla dwóch współczynników regresji, tzw. testu równoległości. Pozwala on określić podobieństwo modeli regresji dla badanych populacji (a więc i podobieństwo zjawisk probabilistycznych).
Badane są dwie populacje generalne, z których wylosowano dwie próby odpowiednio o licznościach n1 i n2 uzyskując wyniki realizacji cech X i Y w postaci zbiorów par liczb
{( x1i, y1i)} {( x2i, y2i)}

Zakładając liniowe funkcje regresji
y1( x ) = a1 x + b1 (9.101a)

y2( x ) = a2 x + b2 (9.101b)

należy zweryfikować hipotezę H0: a1 = a2, wobec hipotezy alternatywnej H1: a1a2.

Potwierdzenie hipotezy H0 świadczy o tym, że proste regresji y1(x) i y2(x) można uważać za równoległe. W celu zweryfikowania hipotezy H0 należy wyznaczyć parametry funkcji regresji, tj. (a1, b1), (b2, b2) oraz statystykę t-Studenta
t = a1 - a2
Sa1 - a2
(9.102)

przy czym
(9.103)

Powyższa statystyka ma przy założeniu prawdziwości sprawdzanej hipotezy H0 rozkład t-Studenta o n1 + n2 - 4 stopniach swobody. Z tablicy tego rozkładu dla ustalonego z góry poziomu istotności oraz n1 + n2 - 4 stopni swobody znajduje się wartość krytyczną tα, tak aby
P { |t| ≥ t } = α (9.104)

Jeżeli zachodzi relacja
|t| ≥ tα (9.105)

to hipotezę H0 o równości współczynników regresji w badanych populacjach należy odrzucić, a w przeciwnym przypadku nie ma podstaw do odrzucenia hipotezy H0 o równoległości porównywanych prostych regresji.

Przykład. Podczas badań własności trakcyjnych opon samochodowych wykonano pomiary współczynnika przyczepności y opony STOMIL oraz PIRELLI przy stałym obciążeniu równym 0,6 MPa, zadając różne wartości obciążenia normalnego na koło. Wyniki pomiarów przy pięciu powtórzeniach podano w tabl. 9.19.

Tablica 9.19. Wyniki pomiarów współczynnika przyczepności φ opon

Obciążenie normalne
Pi
N
Opona STOMIL (symbol l)
współczynnik przyczepności
φ1 ij
Opona PIRELLI (symbol 2)
współczynnik przyczepności
φ2 ij
150000,770 00,820 00,773 30,793 30,826 70,750 00,790 00,846 70,770 00,795 0
200000,760 00,772 50,740 00,752 50,758 70,71750,727 50,730 00,742 50,732 5
250000,708 00,726 00,744 00,740 00,762 00,682 00,666 00,686 00,678 00,663 0
300000,71830,715 00,711 70,716 60,710 30,668 30,658 30,663 30,665 00,671 7

Należy znaleźć funkcje regresji współczynnika przyczepności y względem obciążenia normalnego N oraz zbadać podobieństwo współczynników funkcji regresji dla obu rodzajów opon.
Ze względu na rozkład punktów empirycznych przyjęto, że związek φ(N) wystarczająco dokładnie może być opisany wykładniczą funkcją regresji postaci
φ ( N) = a e c N (9.106)

gdzie a, c - parametry funkcji regresji

czyli dla opony STOMIL
φ1 ( N) = a1 e c1 N

dla opony PIRELLI
φ2 ( N) = a2 e c2 N

Tego typu funkcje łatwo można linearyzować poprzez ich zlogarytmowanie
ln [φ1 ( N )] = ln a1 + c1 N (9.107)
ln [φ2 ( N )] = ln a2 + c2 N

Przyjmując oznaczenia
ln [φ1 ( N )] = φ1 , ln a1 = a1
ln [φ2 ( N )] = φ2 , ln a2 = a2

otrzymamy następujące liniowe funkcje regresji
φ1 = a1 + c1 N (9.108a)
φ2 = a2 + c2 N (9.108b)

Chcąc zatem skorzystać z gotowych wyprowadzonych wzorów na parametry liniowej funkcji regresji, należy zlogarytmować empiryczne wartości φ1ij oraz φ2ij uzyskując wartości wg tabl. 9.20.

Tablica 9.20. Wyniki logarytmowania empirycznych wartości współczynników przyczepności φ1ij i φ2ij

Obciążenie normalneopona STOMIL (symbol 1)
Pi
N
φ1ij = ln φ1ij
15 000-0,261 343-0,198 483-0,256 968-0,231 410-0,190 194
20 000-0,274 468-0,258 120-0,301 178-0,284 369-0,276 080
25 000-0,345 388-0,162 563-0,295 652-0,301 178-0,271 705
30 000-0,330 881-0,335 487-0,340 092-0,333 184-0,338 250
opona PIRELLI (symbol 2)
Pi
N
φ2ij = ln φ2ij
15 000-0,287 593-0,235 785-0,292 198-0,261 343-0,229 337
20 000-0,332 033-0,318 217-0,314 763-0,297 724-0,311 309
25 000-0,382 690-0,406 406-0,376 933-0,388 676-0,411 011
30 000-0,402 952-0,418 149-0,410 551-0,408 018-0,398 117

Wartości średnie uzyskane na podstawie tej tablicy wynoszą: φ*1 = 0,286442, φ*2 = 0,342164, N = 2250, zaś parametry liniowych funkcji regresji będą równe
(9.109)

podobnie
(9.110)

gdzie ni - liczba powtórzeń pomiarów.

Z kolei pozostałe parametry funkcji regresji będą równe
a1 = φ1 - c1 N
a1 = -0,286 442 + 0,000063•2250 = -0,144 692

a2 = φ2 - c2 N
a2 = -0,3422 + 0,000103•2250 = -0,110414

Ponieważ a1 = ln a1, a2 = ln a2, zatem a1 = 0,8653, a2 = 0,8954.

Funkcje regresji współczynnika przyczepności względem obciążenia normalnego N będą miały postać: - dla opony STOMIL
φ1 = 0,8653 e -0,000063 N

- dla opony PIRELLI
φ2 = 0,8954 e -0,000103 N

Ze względu na losowy rozrzut wyników pomiaru współczynnika przyczepności φ dla dwu krzywych regresji należy wyznaczyć przedziały ufności. Przyjmując wartość α = 0,05, granice przedziałów ufności oraz średnie wartości φ obliczone z funkcji regresji można określić z tabl. 9.21.

Tablica 9.21. Wartości współczynników przyczepności φ wyliczone z funkcji regresji

Obciążenie normalne
Pi
N
Opona STOMIL (symbol 1)Opona PIRELLI (symbol 2)
φ1(-) φφ1(+)φ2(-)φ2φ2(+)
15 0000,753 50,784 80,816 10,710 00,767 50,825 0
20 0000,753 30,759 70,766 10,718 00,729 80,741 6
25 0000,730 90,737 30,743 70,680 30,692 10,703 9
30 0000,684 30,715 60,746 90,599 90,657 40,714 9

Istnieje duża dokładność przybliżenia funkcji regresji względem wartości empirycznych.

 

Podane w przykładach programowanie badań trybologicznych oraz analizowanie wyników powinny być przyjmowane jako zasada.


    

Literatura

Rozdział 9. Badania trybologiczne

  1. Łapinski M., Włodarski W.: Miernictwo elektryczne wielkości nieelektrycznych. Warszawa: WNT 1968
  2. Яс Д. С., Подмокав В. Б., Дяденко Н. С.: Испытания на трение и износ. Киев: Техника 1971
  3. Lesikiewicz A., Szymanik R., Wiśniewski S., Woźniak A.: Pomiary cieplne. Warszawa: Skrypt WAT 1969
  4. Wiśniewski S.: Konspekty wykładów na studium doktoranckim WAT. Warszawa 1973
  5. Radwan M., Banasik R.: Badania zużycia części maszyn za pomocą izotopów promieniotwórczych. Warszawa: PWN 1962
  6. Banasik Z., Machel M.: Określenie temperatury współpracy elementów maszyn przy użyciu kryptonatów. Technika Smarownicza 1975 nr 5/6 s. 129-133
  7. Ваграмян А. Ц.: Новый метод измерения температуры на поверхностях трения металлических и неметаллических тел. Вестник машиностроения 1965 № 1 с. 15-18
  8. Воронцова Н. У.: Тензометрирование деталей автомобиля. Москва: Машгиз 1962
  9. Гордое А. Н.: Методы измерения температуры в промышленности. Москва: Металлургиздат 1952
  10. Грозим В. В., Лазарев Г. Э.: Лабораторные испытания материалов на трение и износ. Москва: Наука 1968
  11. Диачиенко П.Х.: Применение радиоактивных изотопов в технике. Москва: Машгиз 1968
  12. Кае С. М.: Балансирные динамометры для измерения вращающчизего момента. Москва: Госенергоиздат 1962
  13. Попов С. А., Давыдов В. М.: Измерение температуры при шлифованию, бесконтактным методом. Вестник Машиностроения 1959 № 1 с. 28-32
  14. Таун Г. С.: Системы пневматических устройств, применяемых в конструкциях станков и контрольных приборов. Прикладная механика и машиностроение 1953 № 2 с. 52-58
  15. Туричин А. М.: Электрические измерения неэлектрических величин. Москва: Энергия 1966
  16. Хрущев М. М., Беркович Э, С.: Методы измерения износа. Москва: Изд. АН СССР 1961
  17. Хрущев М. М., Беркович Э. С.: Определение износа деталей машин методом искусственных баз. Москва: Изд. АН СССР 1959
  18. Spaliński K.: Badania własności tarciowych tworzyw ciernych stosowanych na nakładki hamulcowe. Praca doktorska. Warszawa: WAT 1973
  19. Godlewski J.: Badania modelowe przyczepności opon samochodowych do podłoża nieodkształcalnego. Praca doktorska. Warszawa: WAT 1976
  20. Oktaba W.: Elementy statystyki matematycznej i metodyka doświadczalnictwa. Warszawa: PWN 1966
  21. Oktaba W.: Metody statystyki matematycznej w doświadczalnictwie. Warszawa: PWN 1971
  22. Greń J.: Modele i zadania statystyki matematycznej. Warszawa: PWN 1972
  23. Zaręba R.: Metoda reprezentacyjna. Warszawa: PWE 1972
  24. Fisz M.: Rachunek prawdopodobieństwa i statystyka matematyczna. Warszawa: PWN 1967
  25. Draper K, R., Smith H.: Analiza regresji stosowana. Warszawa: PWN 1973
  26. Feller W.: Wstęp do rachunku prawdopodobieństwa. Warszawa: PWN 1969
  27. Guter R. S., Owczyński B. W.: Matematyczne opracowywanie wyników doświadczeń. Warszawa: PWN 1965
  28. Kacprzyński B.: Matematyczne podstawy planowania doświadczeń ekstremalnych. Warszawa: PWN 1974
  29. Налимов В. В.: Теория эксперимента. Москва: Изд. Наука 1970


    

Last modified:
21-01-2005

All rights reserved
© Wszystkie prawa zastrzeżone